Как повесить карниз для штор на стену?

Декорирование комнат зачастую производится с помощью штор. Эти атрибуты дополняются красивыми и уникальными карнизами, прекрасно вписывающимися в интерьер. Важно правильно подобрать и установить подобные системы. Существует множество модификаций таких опор. Поэтому если вы не знаете, как повесить карниз для штор на стену, следует проконсультироваться с опытным специалистом.

Тонкости процесса
Разнообразие карнизов довольно широко, что позволяет комбинировать их со многими видами штор. При этом длина их может достигать значительных размеров. Такие конструкции должны надежно крепиться не меньше чем на 3 кронштейна. Если в доме живут маленькие дети, следует использовать закрытые крепежи. При установке важно учитывать и расстояние между окном и шторами, которое зависит от длины кронштейнов или расположения подвесов на потолке. Это значение должно равняться 10 см, но это не обязательно.
Если же шторы закрывают батареи, тогда между этими элементами обязательно нужно оставлять зазор в 3-5 см, который обеспечит оптимальную вентиляцию.
Перед тем, как прикрепить штангу, следует подобрать ее дизайн и размеры. Многие утверждают, что она должна выступать за ширину окна примерно на 15 см. Фиксация производится только качественными крепежами, которые способны выдержать вес штор.
Варианты крепления
Карниз – это неотъемлемый атрибут каждого жилого дома. Он поддерживает шторы, придавая им определенный вид. Чтобы эта конструкция служила долго, следует надежно зафиксировать ее к потолку или стене.
Современные карнизы изготавливают из различных материалов, но практически все они оснащаются идентичными крепежными системами. Условно крепления этих конструкций можно разделить на несколько видов:
- Каркасный. Подобный подход предполагает фиксацию карниза к основанию непосредственно через сам каркас. Сюда можно отнести пластиковые или алюминиевые шины, которые оснащаются специальными пазами для передвижения подвесов.
- Фиксация с помощью кронштейнов. Такой подход является самым распространенным, так как им оснащены практически все виды карнизов (деревянные, струнные, торцевые и т. д). Особое внимание здесь следует обратить на багетные карнизы, которые скрывают кронштейн с помощью внешней планки. Этот вид крепления можно использовать практически на любой конструкции этого типа, в том числе и на шинных моделях.

В зависимости от места расположения крепежа можно выделить такие типы креплений:
- Настенный. Фиксация карниза выполняется непосредственно к стене с помощью саморезов или дюбелей. Многие модели кронштейнов оснащаются выдвижными коленами, что позволяет регулировать расстояние от окна до штор. Среди преимуществ этого подхода можно выделить разнообразие дизайнов систем крепления, а также его простоту. Установить такой карниз можно даже без каких-либо навыков. Но конструкция визуально уменьшает высоту комнаты. Некоторые модели кронштейнов короткие, что не позволяет получить нужное расстояние от стены до штор. Конструкции неспособны выдерживать значительный вес, поэтому нуждаются в усилении дополнительными крепежными элементами.

- Потолочный. Крепление основания происходит к потолку. Следует отметить, что существуют специальные приспособления, позволяющие зафиксировать конструкцию как на бетонном, так и гипсокартонном основании. Этот вид крепления способен выдерживать значительные нагрузки, а также визуально расширяет пространство. С помощью потолочных подвесов можно установить карниз практически в любой точке комнаты, разделив ее на несколько зон. Но монтаж невозможен на натяжные потолки, если под крепежи не были подготовлено специальные отверстия.
Обратите внимание, что к этим поверхностям можно крепить конструкции на основе шин и изделия, оснащенные кронштейнами. Последний вариант отличается только формой крепежа.

Комплектующие
Современные карнизы представляют собой простые сборные изделия. Это позволяет подобрать определенные его элементы на свой вкус. Рынок комплектующих для карнизов довольно разнообразен. Он включает множество изделий, которые можно разделить на несколько групп:
- Крепеж. Сюда можно отнести все изделия, с помощью которых конструкция фиксируется к основанию.
- Кронштейны. Эти изделия бывают различной формы и размера. На рынке можно найти как круглые, так и прямоугольные конструкции.
- Основные элементы. Сюда можно отнести кольца для карниза, заглушки, подвесы и другие изделия, которые легко заменить.
Обратите внимание, что эти продукты не стандартизированы. Поэтому если вам нужно будет отремонтировать сломанную деталь, желательно подобрать качественный аналог.

Как собрать?
Перед тем, как начинать монтаж карниза, его следует предварительно собрать. Этот процесс зависит непосредственно от модели изделия.
Он состоит из цельного листа металла, что исключает его сборку. Некоторые модификации из металла дополняются кронштейнами. Для их фиксации нужно закрутить несколько болтов, чтобы образовать цельную систему.
Самым простым вариантом является карниз в виде шины.
Самым сложным по сборке является двухрядный карниз. Данный процесс состоит из следующих последовательных шагов:
- В первую очередь, на трубу надеваются подвесные кольца для штор. Их количество зависит от размера полотна и его веса.
- После этого на трубы с каждой стороны надеваются кронштейны. Эти конструкции оснащены специальными пазами, куда и помещается карниз. Важно симметрично выставить эти элементы. Таким образом обеспечивается равномерное распределение нагрузки.
- Когда трубы одеты, они фиксируются с помощью специальных саморезов или болтов. Зачастую производители оснащают трубу и кронштейн специальными пазами, которые нужно совместить. Это немного упрощает сборку.
- Завершается процедура сборки установкой заглушек, которые могут быть пластиковыми или металлическими.

Важные нюансы
Монтаж карниза можно разбить на несколько последовательных шагов:
- Изначально нужно подобрать тип конструкции, которая подойдет под стиль вашей комнаты. Длина опора должно при этом быть немного больше, чем ширина оконного проема. Это позволит качественно прикрывать его шторами.
- Следующим шагом является разметка. Располагать карниз следует на расстоянии от верха оконного проема в 10 см. При этом обращайте внимание на то, не будет ли конструкция мешать открывать створку. Если этого не происходит, можно прибить карниз и ниже. Желательно при разметке карниз удерживать с помощью помощника. Это позволит выровнять конструкцию относительно потолка и других плоскостей. Но за основу всегда следует брать потолок. Когда все выровнено, просто отмечаются места под крепежи. Делать это нужно максимально точно, чтобы не было перекосов. Важно также обращать внимание на симметрию расположения крепежных систем.
Многие специалисты рекомендуют использовать третий кронштейн, если длина карниза больше 2,4 м. Он обеспечит оптимальный уровень устойчивости.
- Завершается процесс фиксацией изделия. Для этого на месте отметок формируют отверстия под дюбель и саморез. Если стена сделана из мягких материалов (дерево), тогда можно кронштейн сразу прикрутить шурупом или прибить гвоздем. Тип крепежа подбирается владельцем дома в зависимости от особенностей поверхности.

Установка потолочных карнизов происходит практически по тому же алгоритму. Меняется только плоскость, относительно которой выполняется выравнивание. Следует отметить, что при установке на потолок следует обращать внимание на расстояние между стеной и карнизом. При этом шторы не должны опираться на подоконник и образовывать параллель со стеной.

Расстояние от потолка
При установке карниза важно правильно подобрать место для его расположения. Одним из критериев, на который следует обращать внимание, является расстояние конструкции от потолка. Это значение не регламентируется никакими стандартами или дизайнерскими рекомендациями. Оптимальным расстоянием является диапазон от 5 до 15 см от поверхности. Но никто не мешает владельцу квартиры сдвинуть карниз выше или ниже. Главное, чтобы изделие со шторами прекрасно гармонировало с основным интерьером.
Обратите внимание, что при разметке специалисты рекомендуют ориентироваться на плоскость потолка, а не на уровень или створку окна.

Как крепить к гипсокартону?
Гипсокартонные потолки сегодня являются очень популярными и монтируются многими владельцами квартир. Недостатком этого материала является то, что он не обладает достаточной прочностью. Но при этом установить карниз на такую поверхность все-таки возможно, используя несколько типов крепежей:
- Раскрывающиеся дюбели. Сюда можно отнести дюбель-бабочку и дюбель-зонтик. Особенностью этого крепежа является то, что при закручивании шурупа внутренняя часть разгибается, образуя большую опорную площадь. Это позволяет в некотором роде снизить давление на лист гипсокартона. Подобный способ монтажа подходит только для штор небольшого веса.
- Анкер. Этот вариант крепления карниза к гипсокартонному потолку позволяет выдерживать значительный вес. Обратите внимание, что длина анкера должна быть больше, чем толщина листа, на несколько сантиметров. Обусловлено это тем, что крепеж фиксируется в основном потолке, в качестве которого зачастую выступает бетонная плита.
Чтобы зафиксировать анкер, изначально делают сквозное отверстие и входят в потолок примерно на 4-5 см. После этого крюк вбивается в дырку. Полученная система позволяет выдерживать шторы со значительным весом.
Сам же алгоритм размещения карниза аналогичен тому, который используется для обычных поверхностей. Здесь также нужно тщательно провести разметку и выставить ровно все элементы относительно всех плоскостей.
Скорее всего, слова тут неуместы: лучше один раз увидеть, чем услышать! Следующая подборка демонстрирует эффектные примеры в интерьере.

О том, как повесить карниз для штор на стену, смотрите в следующем видео.
dekoriko.ru
Как крепить пластиковый карниз к стене
Как вешать карниз для штор на стену: простая инструкция и советы профи
Фото: Instagram @legrand.official
Что важно учесть при покупке багета
Прежде чем разобраться с тем, как установить карниз для штор на стену, расскажем на что обратить внимание при покупке изделия. На рынке представлены разные конструкции:
У каждой из них есть свои достоинства и недостатки. Их обязательно нужно учитывать. Но на установку большое влияние оказывает только вид кронштейнов, которыми комплектуются изделия. В зависимости от материала выделяют несколько вариантов:
- Пластиковые. Самые дешевые, но наиболее хрупкие. Они отлично подходят для тюлей и легких гардин. При навешивании тяжелого полотна крепление провисает, а со временем лопается.
- Деревянные. Помогают воплотить в жизнь яркие дизайнерские решения. Их прочность напрямую зависит от качества изготовления. Поэтому комплектующие нужно тщательно осматривать, следить за отсутствием сучков, сколов и трещин.
- Металлические. Самые надежные и долговечные карнизы для штор. Если позволяет бюджет, предпочтение нужно отдавать именно им.
Каждый из вариантов имеет свои конструктивные особенности. Многие из них влияют только на внешний вид. Но тип монтажной пластины определяет надежность крепления к стене:
- Трехточечная. Дает возможность прочно закрепить конструкцию и избежать проворачивания держателя штанг. Это идеальный вариант для установки в бетон и дерево. Если отверстия расположены близко друг к другу, усложняется монтаж в пористые материалы: газобетон, пустотелый кирпич и другие. Фрагмент ослабленной поверхности может раскрошиться или отколоться.
- Одноточечная. Единственное отверстие под дюбель находится в середине установочной «чашки». При этом под весом тяжелых гардин кронштейн может незначительно крениться вниз. Но это дает возможность прочно прикрутить его к поверхности из пустотелых материалов. Достаточно подобрать дюбель нужного типа и длины.
Если приходится крепить трехточечную «чашку» на пустотное основание, забиваем несущий дюбель только в верхнее отверстие. В два других закручиваем небольшие саморезы, чтобы избежать проворачивания кронштейна.
Определяемся с местом крепления карниза для штор к стене
В зависимости от расположения багета относительно окна одни и те же гардины могут смотреться по-разному. С их помощью можно акцентировать статусность интерьера или визуально увеличить высоту потолка. Но, прежде чем поговорить о дизайне, приведем минимальные требования к расположению багета. Он должен:
- Находиться не ниже 5 см от верхней грани оконного откоса.
- Выступать в стороны за пределы окна на 30-50 см.
- Отстоять от оконного проема так, чтобы шторы не цепляли радиаторы и подоконник.
Перечисленные критерии основаны на эргономике. Вы получаете:
- полное открывание штор с максимальным световым проемом;
- возможность ставить окно на проветривание с задернутыми занавесками;
- удобство при зашторивании гардин.
Кроме эргономики, расположение карниза для штор влияет на дизайн помещения. Приведем три самых популярных варианта его размещения:
- Согласно минимальным требованиям. Визуально оконный проем становится меньше. Благодаря этому не перетягивает на себя внимание. Этот способ отлично подходит, когда нужно сконцентрировать внимание на декоративной отделке помещения.
- Установка ровно посередине между окном и потолком. Такой вариант монтажа лучше всего смотрится, если потолок выше стандартных 2.8 м. Вы аккуратно обрамляете оконный проем и не прячете отделку комнаты.
- Под перекрытием. Вы маскируете узкую полосу обоев и визуально увеличиваете высоту потолка.
Настенные пластиковые карнизы для штор — особенности и монтаж
Из пластика делают самые разные вещи, в том числе и различные приспособления для крепления занавесок. Большой популярностью пользуются пластиковые настенные карнизы для штор, которые выручат в ситуации, когда использовать потолочные крепления нет возможности.

Характеристики и особенности
Подвесы такого типа изготавливаются из пластика и могут быть представлены в виде пустотелой детали с прорезями для движения бегунков с крючками или в виде такой же по форме детали, но, с наполнением из разных материалов. Наполнение повышает прочность изделия и придает ему несколько иные характеристики.

Обычные крепления для штор из пластика имеют стопроцентную стойкость к воздействию воды и не уступают по износостойкости металлическим аналогам. При этом, стоимость подобных изделий намного ниже. Внешне, такие гардины похожи на плоскую коробку с прорезями на нижней стороне. В этих прорезях и двигаются бегунки особенности конструкции, к которым крепятся крючки для штор.

Торцы полой детали закрываются специальными заглушками, а чтобы крючки не выпадали, пазы, через которые они вставляются внутрь конструкции, закрываются стопорами. Вся гардина весит очень немного и крепится к стене при помощи кронштейнов. При этом, есть возможность закрепить конструкцию на перекрытии при желании.
Достоинства
Есть два типа пластиковых подвесов для штор – круглые и в виде шины. Обычные круглые детали ничем особенным не выделяются и выглядят, как простая трубка с наконечниками на торцах, прикрепленная к стене. У них нет особенных плюсов или минусов по сравнению со стандартными подвесами из металла или дерева, кроме разницы в цене – пластиковые детали дешевле. Другое дело — пластиковые настенные карнизы в виде шины. Они обладают определённым набором достоинств:
- Конструкция очень легкая.
- Стоимость карниза невелика.
- При необходимости, можно осуществить монтаж как на стену, так и на перекрытие.
- Есть одно, двух и трехрядные модели.
- Длина конструкции практически не ограничена, так как можно соединять несколько шин в одну большую композицию.
- Есть угловые изогнутые модули, которые позволят собрать конструкцию с изгибами.
- Цвет пластика белый и не выделяется на фоне стандартно оформленного потолка.
- При необходимости, можно декорировать наружную сторону изделия при помощи специальной декоративной ленты.
- Монтаж подвеса осуществляется не сложнее, чем установка стандартных штанг.
- Уход за изделием очень прост, благодаря его водостойкости.
Единственным минусом таких шин можно назвать ограничение по весу ткани, используемой для изготовления штор. Однако, большинство современных занавесок пластиковая шина выдержит без труда.
Как происходит монтаж

Чтобы разобраться, как крепить пластиковый карниз к стене, достаточно прочитать прилагаемую к нему инструкцию по установке. Если ее нет – не беда, так как процесс монтажа очень прост.
- Сперва нужно сделать разметку точек крепления кронштейнов. Они должны располагаться симметрично, относительно оконного проема. От его края до конца гардины должно оставаться около 15 – 30 сантиметров, если не предусмотрен монтаж подвеса от стены до стены. Над оконным проёмом должно оставаться не мене пяти сантиметров.
Важно: обратите внимание на расположение плоскости штор относительно батареи и подоконника. От всех выступающих элементов до шторы должно оставаться немного свободного пространства.
- Далее по намеченным точкам сверлятся отверстия.
- Монтируются кронштейны при помощи дюбелей и шурупов.
- На кронштейнах фиксируется сама направляющая с пазами, с помощью саморезов или специального крепления.
Остается лишь прицепить занавески к крючкам и полюбоваться на результат проделанной работы. Чтобы процесс установки был более понятным, а также для того, чтобы не пришлось запоминать все размеры, которые следует учитывать, ниже представлена простейшая схема установки настенных карнизов, подходящая практически для всех модификаций гардин.
Установка потолочного карниза
Важной составляющей общего дизайна комнаты являются гардины, искусно развешенные на карнизе. Изготовители предлагают огромный ассортимент инновационных держателей для штор, в том числе и потолочные. Они прикрепляются к горизонтальной поверхности из разных материалов, оптически удлиняют высоту помещения, позволяют вешать занавески несколькими рядами. Как крепить потолочный карниз к потолку, какие действия необходимо произвести для этого, будет рассказано ниже.

Классификация пластиковых потолочных карнизов
Раньше держатели для штор производились из металла и дерева. Но в последнее время на рынке появились новые предложения – пластиковые карнизы для крепления на потолок. Ввиду несложной конструкции, невысокой стоимости, большого ассортимента оттенков, данный крепеж стал очень популярным среди потребителей. Потолочные держатели для штор разделяют на три основные группы:
- По числу рядов для штор. Они бывают 1-о, 2-х, 3-х и 4-х рядные.
- По способу крепления. Прямой способ крепления или с использованием подвесов, уголков, кронштейнов.
- По дизайну изготовления. Они бывают простые (прямого вида) или усложненные (с изгибами).
При подборе потолочных конструкций для гипсокартонного потолка нельзя забывать, что данный материал выдерживает определенный максимальный вес. Это касается как однорядных, так и четырехрядных конструкций. Поэтому рекомендуется предварительно:
- выбрать точное количество штор;
- подобрать фактуру тканей, из которых они будут изготовлены;
- проконсультироваться с продавцами о выборе модели крепежа для конкретных штор.

Карниз должен быть расположен таким образом, чтобы шторы свободно висели и не задевали батарей, подоконника. При открывании до конца, гардины должны легко освобождать проем окна.

Виды крепления
Монтаж крепежа совершают с учетом конфигурации потолка, стен и выбранной конструкции со шторами.
Используются крепления следующих видов:
- универсальные подвесы;
- конструкции с отверстиями и пазами, планки;
- кронштейны, саморезы, дюбеля, анкера;
- жидкие гвозди, уголки.
Дюбель гвозди
Дюбель-гвоздь состоит из:
- стержня в виде цилиндра, изготовленного в виде распорной системы, расширяющейся в ходе закрепления;
- обычного гвоздя (иногда в дополнение прилагается манжетка-ограничитель).
Дюбель-гвозди – это надежный крепеж для карниза в стене.

Саморезы
Закрепление карниза на саморезы – несложный процесс:
- в подготовленное отверстие (по размеру крепежа) забиваются специальные пробки;
- в пробку врезают саморез.
Крепление получается крепкое, надежное.

Жидкие гвозди
Можно выполнять крепеж без просверливания отверстий, с использованием жидких гвоздей. Они держат нагрузки до 80 кг/см 2 . Работы проводят следующим образом:
- Очищают, обезжиривают места соприкосновений потолка и держателя штор для лучшего сцепления с клеем.
- Гвозди наносят в виде змейки на конструкцию, прижимают к потолочной части на несколько минут, удерживая для лучшего склеивания.
- Полное высыхание клея происходит через два дня. После этого можно вешать гардины.
Дюбеля для гипсокартона
Обычные конструкции для легких гардин к гипсокартону крепят дюбелями в виде «зонтиков», «бабочек». Данный крепеж после ввинчивания раскрывается, благодаря чему увеличивается площадь опоры. Громоздкие, с несколькими рядами, конструкции гипсокартон не сможет выдержать даже при креплении держателя такими метизами. Поэтому в случае, если на планку будут подвешиваться тяжелые шторы, необходимо прибегнуть к креплению потолочного карниза к стене.
Кронштейны
Крепление карниза к потолку можно произвести с помощью кронштейнов. В изделиях из пластика уже подготовлены отверстия для крепежа. Порядок установки такой:
- Собирают изделие.
- На выбранное место прикладывают крепеж с кронштейнами, размечают по отверстиям.
- Просверливают отверстия в потолке, вставляют дюбеля.
- Конструкцию стыкуют по размерам, закрепляют саморезами.
Использовать кронштейны для крепления под потолком держателя для гардин очень удобно, а сам монтаж выполняется быстро.

Особенности процесса монтажа
Способов крепления потолочного карниза много, а объединяет их то, что конструкция должна присоединяется к прочной основе. Такой основой является потолок, брус, каркас, стена.
Установка на бетонном потолке или стене
Принципы установки в обоих случаях похожи. Вот как следует крепить карниз к бетонному потолку пошагово:
- Собирают изделие, подготавливают крепежные принадлежности. Высчитывают отрезки между точками для монтажа, руководствуясь тем, какие шторы нужно вешать. Если они тяжелые, то рекомендуется расстояние (шаг) между крепежом уменьшать до 20-30 см, если занавески легкие, достаточно 60-70 см.
- В изделии просверливают отверстия для будущего крепежа.
- Конструкцию стыкуют с потолком и через отверстия совершают разметку на потолке.
- Перфоратором в размеченных точках просверливают углубления, куда забивают дюбеля и вкручивают саморезы, прикрепляя держатель. Потом на изделие надеваются заглушки, декор, крючки или кольца.
Бывают обстоятельства, когда устанавливать на потолок модель нельзя. Тогда действуют по другому, выбирая крепление карниза к стене. Для этого понадобятся:
- уголки из металла с ребрами жесткости по сгибу, кронштейны;
- болты, гайки.

Инструкция по закреплению потолочного карниза к стене:
- Подготавливают крепеж, руководствуясь тем же правилом, что и при установке на бетонный потолок (пункт 1, 2).
- Рассчитывают оптимальное расстояние конструкции от стены и подбирают уголки по размеру.
- В уголках просверливаются отверстия. Есть комплектации, куда входят специальные планки для закрепления к уголкам.
- Скрепляют гайками конструкцию с уголками.
- Сопоставляют ее со стеной и потолком встык, размечают и подготавливают крепежные отверстия.
- Проводят монтаж держателя на стену на установленные кронштейны с помощью анкерных элементов.
- По окончании монтажа надевают заглушки, кольца, крючки, декор.
Рекомендации по установке карниза к гипсокартонному потолку
На потолок из гипсокартона закрепить потолочный карниз можно, но несущая способность ГКЛ ограничена. В связи с этим, шторы и сама планка должны быть легкими. Чтобы не учитывать эти ограничения, нужно усилить потолок, путем установки бруска из дерева на том участке, где будет зафиксирован держатель. Для закрепления тяжелых штор подбирают брусок размером 50×100 мм. Установку производят так:
- К гипсокартонному потолку с бруском крепят карниз, используя саморезы.
- Конструкцию на неукрепленный потолок устанавливают на анкерные крепежи.
Способы установки карнизов с натяжными потолками
Натяжной потолок не предполагает закрепления каких-либо элементов на натянутом полотне, поэтому установка держателя для гардин выполняется особым образом:
- До установки натяжного полотна на потолок осуществляют монтаж закладных. На месте закладки ставятся отметки. К полотну крепят термокольца (там, где будет вкручиваться крепеж), чтобы полотно не порвалось.
- Можно выполнить крепление другим способом – в виде ниши у окна. Брус крепят на потолке. Натяжное полотно монтируют к нему, не доводя до стены. Конструкцию устанавливают в получившейся нише.

Крепление карниза с помощью клея
Очень простой способ крепежа – с помощью клея. Его используют, когда требуется прикрепить держатель для легких гардин к гладким поверхностям, например, к подвесному потолку. Необходимо выбрать клей правильно, он должен подходить к:
- составу шины потолочного карниза;
- отделке потолочной поверхности.
Крепление выполняют следующим образом:
- Конструкцию собирают по размерам полностью, после чего прикладывают к потолку, проверяя качество стыковки, чтобы в дальнейшем избежать образования щелей, зазоров.
- Места нанесения клея предварительно обезжиривают.
- Держатель штор прислоняют к потолку для нанесения разметки.
- Клей наносят по всей длине конструкции, прикладывают ровно по разметкам к потолку и прижимают на 3-5 минут.
- После полного высыхания клея (согласно инструкции, обычно через сутки или двое) можно использовать изделие по назначению – вешать шторы.
- Бывает, что полностью приклеить крепеж не получается. Тогда в первую очередь клеят переходную пластину, а после полного высыхания клея приклеивают основные части.

Чтобы установленный карниз держался крепко и надежно, нужно выбрать подходящий способ монтажа и выполнить пошагово все этапы установки. Обязательно учитывают тип потолка, так как на некоторые виды подвесных потолков крепить карниз без предварительной подготовки нельзя.
Как установить карнизы для штор

1 Выбор карниза для штор
В итражный телескопический карниз
| Этот карниз небольшого сечения крепится к оконной раме. Он продевается непосредственно в отверстия в шторах. Такой карниз, изготовленный из металла или пластика, имеет круглую форму и, как правило, регулируемую длину. | ||||
К руглый карниз
| Этот карниз, который не закрывается шторой, выполняет декоративную функцию. Он может быть сделан из дерева (тонированного или крашеного), металла (латунь, кованное железо) или пластика. Круглые карнизы бывают разной длины и диаметра (от 16 до 35 мм). | ||||
Шинный карниз
| К шинным карнизам относят системы, представляющие собой конструкции с желобками — в них устанавливают крючки для занавесей. Аксессуар обычно выполняют из прочного пластика. Пла- стмассовая шина может использоваться как самостоятельный карниз. Бывают двухрядные и трехрядные. Карнизы крепятся как в потолок так и в стену. Вы можете приобрести такие карнизы с поворотными элементами или без них; целые карнизы или составные. | ||||
Декоративный шинный карниз
| Пластмассовые шины традиционно являются конструктивной частью карнизов с деревянной багетной или с декоративной пластиковой планкой, ламинированной покрытием под ценные породы дерева. Карнизы крепятся как в потолок так и в стену. Вы можете приобрести такие карнизы с поворотными элементами или без них; целые карнизы или составные. | ||||
2 Как снять размеры
Крепление к стене или к потолку
| Длина карниза = ширина окна + 30-50 см. Перед тем, как крепить потолочный карниз, оставьте расстояние между карнизом и верхней частью окна: минимум 5 см, необходимые для того, чтобы окно свободно открывалось. Расстояние между стеной и карнизом: от 10 до 15 см. | ||||||||||||||||||||||||||||||||||
| Длина карниза = ширина между двумя стенами — толщина крепежных деталей | ||||
3 Различные виды креплений
4 Установка карниза
До установки
| Убедитесь в том, что карниз не будет мешать открыванию окна: оставьте достаточное расстояние между карнизом и верхней частью окна (а). Убедитесь в том, что карниз будет достаточно удален от стены и от окна; висящие на нем шторы не должны задевать за ручку окна или за радиатор (b). Внимание |
Установка карниза на стене
| С помощью линейки и уровня прочертите горизонтальную линию на высоте крепления карниза. | ||||
| Отметьте места крепления кронштейнов на одинаковом рас- стоянии справа и слева от окна. | ||||
| Прикрепите кронштейны. | ||||
| Зафиксируйте карниз на кронштейнах, выровняв его по отношению к окну. | ||||
Установка карниза на потолке
| Отметьте на потолке расположение карниза и места крепления кронштейнов на одинаковом расстоянии справа и слева от окна. | ||||
| Осуществляя монтаж потолочных карнизов, прикрепите кронштейны, проверив симметричность их расположения по отношению к окну. | ||||
Установка карниза между двумя стенами
| ||||
5 Резка карнизов
Если необходимо, отрежьте карниз на нужную длину.
Поделиться с друзьями:
Твитнуть
Поделиться
Поделиться
Отправить
Класснуть
Как крепить пластиковый карниз к стене Ссылка на основную публикацию Adblockdetector
klub-masterov.ru
Как надежно крепить карниз к стене?
Сегодня в продаже можно найти много разновидностей карнизов, отличающихся друг от друга материалом, конструкцией и способом крепления. Наиболее востребованы у потребителей простой, шинный, круглый, телескопический и декоративный карнизы.

Для легких штор подойдет одноштанговый карниз, для тяжелых же нужно подбирать конструкцию понадежнее.
Нюансы выбора консоли
Решая, как крепить карниз, нужно следовать определенному алгоритму действий. Сначала нужно правильно выполнить замеры ширины комнаты и находящегося в ней оконного проема, иначе можно купить такую консоль, которую невозможно будет установить в комнате из-за неподходящей длины или ширины. При этом нужно учитывать, что для различных видов карнизов расстояние до боковых стен и потолка может весьма заметно отличаться.
Для легких штор, цельных или разделенных на две части, лучше всего подойдет подвешенная над окном одноштанговая настенная круглая консоль, выступающая своими краями за оконный проем на 10-15 см. Хотя, в зависимости от дизайнерского решения, консоль этого типа можно крепить не только на ширину оконного проема, но и полностью на всю ширину стены, оставляя лишь маленький отступ от боковых стен. Для крепления карниза к стене в комплект входят 2 или 3 держателя (в зависимости от длины карниза).
Струнный карниз является самой незаметной конструкцией, создающей эффект парящих в воздухе штор.
Крепление штор на такой карниз выполняется при помощи люверсов или зажимов, соединенных с нанизанными на карниз кольцами. С обоих концов консоли устанавливаются съемные наконечники, которые, помимо декоративной функции, выполняют и роль ограничителя, не позволяя надетым кольцам соскальзывать с трубки во время движения шторы.
Для легких штор может быть использован и давно применяемый струнный тип консоли. Отличительной особенностью этого типа и его крепления является необходимость сделать консоль максимально незаметной, чтобы шторы как бы парили в воздухе.
Также есть вариант крепления карнизов непосредственно к оконной раме. Так крепятся, например, карнизы для рулонных штор к стене. Существуют такие виды, у которых есть только боковое крепление, то есть крепить карниз этого вида можно только на противоположные боковые стены.
Но, какой бы длины ни был выбранный карниз и какой бы способ крепления ни был применен, есть одно общее для любого крепления правило: закрепленный карниз не должен мешать открывать окно, поэтому его крепление не должно быть опущено ниже чем на 5 см от верхней плоскости оконного проема.
Также подвешенные на карниз шторы не должны цепляться за оконные ручки, подоконники и находящиеся под ними отопительные батареи. В том случае если выполняется крепление многорядного карниза, замеры нужно делать от ближайшего к окну ряда.
Установка карнизов
Инструменты для крепления карниза.
Крепление карниза любого типа на стену нужно начинать с разметки и определения точек крепления. От точности этой разметки во многом зависит как внешний вид, так и надежность крепления карниза к стене, поэтому подходить к ее выполнению нужно очень ответственно.
Для выполнения работы понадобятся следующие инструменты:
- рулетка;
- водяной уровень;
- электродрель или перфоратор;
- маркер;
- отвертка.
Сначала рулеткой нужно измерить длину консоли и отметить ее на стене, проверив ее горизонтальность с помощью водяного уровня. Если у вас есть помощник, можно поступить и проще: приложить штангу к стене и поставить по ее краям две аккуратные метки, соединив их горизонтальной линией.
Затем, сообразуясь с отмеченной линией, к стене прикладываются продающиеся в комплекте крепежные кронштейны и ставятся метки для отверстий. Эти метки обязательно должны быть симметричны как по отношению друг к другу, так и по отношению к прилегающим стенам. Затем электрической дрелью или перфоратором в отмеченных местах в стене делаются отверстия.
Схема крепления карниза к стене.
Здесь есть нюанс: в отверстие впоследствии будут вставляться дюбели, поэтому для сверления нужно выбирать сверло с диаметром, равным диаметру дюбеля. Отверстие сверлить тоже нужно на длину дюбеля или на 5-10 мм больше.
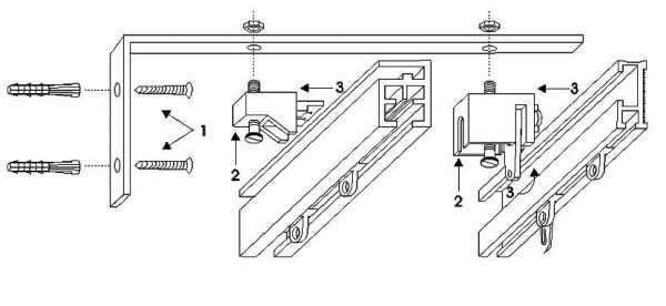
Если длина крепящейся к стене штанги не больше 2,4 м, то обычно используют 2 кронштейна, при большей длине желательна установка по центру штанги дополнительного кронштейна. Крепить кронштейны к стене надежнее всего на шурупы. И только надежно зафиксировав кронштейны, к ним можно крепить карниз.
Особенности крепления карниза к потолку
Для монтажа на потолке обычно используют пластиковые или металлические шины. Такая конструкция штор позволяет сделать карниз практически невидимым, поэтому сегодня многие выбирают именно этот вариант крепления.
Консоль к потолку можно крепить как с помощью кронштейнов, так и непосредственно через отверстия в самой консоли. В первом случае техника крепления полностью повторяет технику крепления карниза к стене. При креплении консоли непосредственно к потолку есть некоторые особенности, которые обязательно нужно учитывать.
Потолочные карнизы этого типа продаются обычно стандартных размеров, поэтому нужную вам длину карниза нужно сделать самостоятельно, отпилив его ножовкой по металлу от заготовки. На торцы отпиленного карниза нужно надеть заглушки для держателей.
Схема крепления потолочного карниза.
Точно посредине карниза сверлится первое отверстие. Сверлится оно двумя сверлами: сначала чуть больше диаметра шляпки крепежного элемента, а когда глубина отверстия будет достаточной, чтобы шляпка в нем утонула, сверление продолжается, но уже сверлом меньшего диаметра.
Таким же способом сверлятся отверстия по краям потолочного карниза, с отступом от торца в 3-4 см, а затем, выдерживая определенный шаг, по всей его длине. Чем тяжелее планируете использовать шторы, тем меньше следует делать шаг отверстий.
Дальше уже дело техники. Приложив карниз к потолку на нужном расстоянии от окна, его ось нужно отрегулировать так, чтобы она была симметрична окну. Затем через просверленное центральное отверстие на потолке делается метка.
Потом перфоратором со сверлом нужного диаметра по этой метке в потолке делается отверстие, в него вставляется дюбель и потолочная шина фиксируется саморезом. Такая фиксация позволяет в случае необходимости подправить положение шины, после чего отмечаются и высверливаются остальные отверстия. После карниз фиксируется к потолку дюбель-гвоздями, и на этом его установка завершена.
Маленькие хитрости крепления
Надежность крепления и красивый внешний вид устанавливаемой консоли во многом зависят от формы и материала отделки стены. Если отделка стен оставляет желать лучшего или над окном, где нужно установить штангу, имеется бетонная перемычка, то в качестве дополнительного элемента крепежной системы используют деревянные рейки. В этом случае рейки предварительно крепятся к стене, а уже непосредственно к ним крепятся кронштейны.
Если нет возможности закрепить карнизы на стену, их крепят непосредственно на потолок. Если в комплект консоли, помимо кронштейнов, входят также дюбели и шурупы, то именно их нужно использовать для крепления.
Обычно в одной комнате шторы желательно располагать на одинаковом расстоянии от стен, чему способствуют как эстетические предпочтения хозяев, так и входящие в комплект консолей одинаковые кронштейны. Если возникает необходимость повесить шторы на разном расстоянии (например, чтобы скрыть отопительные трубы), то нужно отступить от правил и использовать для крепления разные по устройству кронштейны. В этом случае визуального эффекта симметрии можно добиться, повесив позади штор декоративные занавески.
Схема устройства потолочного карниза для штор.
Удерживающие кронштейны нужно крепить таким образом, чтобы торцы штанги входили в них на 3-4 см. При креплении на штангу штор, по одному кольцу нужно вынести на выступающие за крепежные кронштейны торцы штанг, тогда кронштейны, помимо основной задачи — надежно удерживать карниз, будут удерживать и края штор при зашторивании.
Если планируется установить не только шторы, но и ламбрекен, то при установке консоли в обязательном порядке нужно оставить для него пространство между устанавливаемой консолью и потолком. Если же, из-за низкого потолка в комнате, такого пространства недостаточно, то от идеи закрепления ламбрекена лучше отказаться.
Если планируется использовать шторы из тяжелого материала, то металлические и пластмассовые карнизы лучше дополнительно укрепить, установив удерживающие их кронштейны на расстоянии 1-1,2 м друг от друга. Если же приобретенный комплект консоли не имеет дополнительных креплений, то его монтаж можно выполнять на самодельные кронштейны или обычные уголки.
При использовании уголков крепление получается даже надежнее, но проигрывает в эстетическом плане.
Установка штор — процесс творческий и увлекательный. Хорошо зная, как крепить карниз к потолку или стене, вы, потратив немного свободного времени, без труда справитесь с этой работой, получив массу удовольствия от того, что, благодаря вашим усилиям, комната стала намного красивее и уютней.
dekormyhome.ru
виды конструкций и крепления, подготовка, инструмент, инструкция как правильно смонтировать карниз пошагово, советы от мастеров
Если знать технологию, можно справиться с установкой карнизов для штор своими руками без особенных затрат времени и руда. Разбираемся, как правильно выполнить монтаж, и какие инструменты понадобятся для работы.

Шторы или занавески – лучшее украшение для окон. Но для того, чтобы их повесить, понадобятся специальные конструкции – карнизы для штор. Сегодня на рынке можно найти немало разновидностей таких изделий. Выясним, как выполнить установку карнизов своими руками. Если следовать технологии, можно справиться с установкой без особенных затрат времени и труда. Хоть монтаж и не вызывает особенных сложностей, в процедуре есть некоторые хитрости, которые следует учитывать в работе.
Монтаж карниза на стену
Сегодня существует множество разновидностей карнизов для крепления штор. Есть варианты для монтажа на стену, потолок, подвесные модели. В каждом случае выбор конкретной модели делается, исходя из эстетических предпочтений, особенностей дизайна интерьера и устройства оконного проема. Один из наиболее популярных вариантов – крепление карниза на стену.
К стене могут крепиться несколько видов кронштейнов:

- Металлические конструкции с креплениями Г-образной формы. Установить такую конструкцию довольно просто. Такой подвес для штор весьма надежен, но внешний вид этих моделей нравится не всем.

- Легкие пластиковые конструкции круглой формы с разборными держателями. Их выбирают за эстетичный внешний вид. Но если планируется вешать тяжелые плотные шторы, прочности пластика может оказаться недостаточно.

- Цельные держатели со сквозными отверстиями для крепежа. Обычно они выполняются из дерева и предназначены для деревянных конструкций.
Какой бы тип кронштейнов вы не выбрал, нужно прежде всего определиться, где будет находиться карниз после монтажа. Чтобы это сделать, требуется определить расстояние от потолка и от краев оконного проема.

Для определения того, насколько опускать карниз от потолка, расстояние от него до верхнего края оконного проема делят на 3 части. От карниза до потолка должна быть 1 часть расстояния, а от верхнего края окна до карниза – 2 части. Так, если от края проема до потолка 18 см, то стоит брать от потолка 6 см, а от края проема окна – 12 см.
Минимальное расстояние от края окна до карниза – 5 см. Размещать отверстия ближе не рекомендуется, потому что есть риск, что бетон или кирпич просто выкрошится и карниз упадет.
От боковых краев проема края карниза могут выдаваться на 15-40 см. Этот параметр имеет чисто эстетическое значение, но слишком короткий или длинный карниз может выглядеть неестественно.
Для того чтобы узнать как повесить жалюзи на пластиковые окна читайте в этой статье.
Крепление на потолок
Установка карниза на потолок – еще один способ монтажа. Для выбора именно этого места может быть несколько причин. Прежде всего, такое решение хорошо подходит для окон с нестандартными проемами, например, арочными. Ставят карнизы на потолок и в случаях, когда бетон стен рядом с окнами слишком изношен (такое бывает в старых домах, где ранее уже стояли карнизы). Возможно и чисто эстетическое обоснование у такого варианта установки.
Для крепления на потолок можно выбрать несколько вариантов конструкции карниза:

- Карнизы со штангой на круглых держателях, которые ставят на стену, могут крепиться и крепление к потолку. У такого карниза будет необычный и интересный внешний вид. Но нужно помнить, что пластиковые конструкции этого типа и так не отличаются особой надежностью, а при потолочном креплении и вовсе годятся только для легких штор.

- Струнные карнизы. Хотя наибольшая популярность этого типа креплений миновала, существует немало современных исполнений, которые имеют достаточно привлекательный внешний вид. Их главный недостаток – склонность провисать в середине, поэтому очень плотные и тяжелые шторы на такой карниз лучше не вешать.

- Шинные, или рельсовые конструкции. Это планки из пластикового профиля. В планках сделаны дорожки, в которые вставляются бегунки с креплением для штор. Сегодня ассортимент шинных карнизов отличается разнообразием: есть одно-, двух и трехрядные модели, некоторые конструкции даже могут допускать перехлест штор.
Стоит помнить, что при креплении карниза на потолок нагрузка на крепления возрастает. Поэтому следует особо позаботиться о надежности креплений.
Рекомендуемый вес штор для потолочных конструкций – не более пяти килограмм. Перед покупкой карниза стоит изучить его весовой показатель. Также стоит помнить, что в этот вес должны укладываться все шторы, размещаемые на карнизе (тюль, теневые шторы, декоративные элементы и т.д.).
Перед монтажом потолочной конструкции особое внимание уделите крепежу. Часто бывает так, что в комплект производитель вкладывает крепежные элементы, обеспечивающие минимальную надежность. Стоит подумать о замене их на более надежные варианты, а в случае с шинной моделью – еще и об увеличении количества саморезов для большей надежности монтажа.
Как повесить карниз на натяжной потолок
Закрепление конструкции к натяжному потолку – отдельная непростая задача. Сложность в том, что натяжной или подвесной потолок сам по себе не способен удержать хоть какую-то массу, а доступ к капитальному потолку перекрыт. Существует два варианта решения этой проблемы:

Первый вариант — при монтаже потолка заблаговременно позаботиться об установке закладных конструкций. Это деревянный брус, который будет идти сразу под полотном натяжного потолка, крепясь к капитальному перекрытию. В этом случае карниз устанавливается на ввернутые в дерево саморезы. Длина крепежного элемента должна быть меньше толщины бруса.
В качестве закладного элемента использовать цельный брус часто слишком расточительно. Можно разместить маленькие брусочки только в заранее рассчитанных местах крепления карниза к потолку. Конечно, такой вариант требует большей точности монтажа, но экономическая выгода оправдывает затраченные усилия.
Главная задача – не повредить полотно потолка, так как его замена – дело дорогое и трудоемкое. Прежде всего, перед сверлением отверстий под крепеж, следует наклеить на полотно квадратики скотча (упаковочной ленты), чтобы не дать отверстию расползаться дальше. Кроме того, следует тщательно обработать изнанку карниза, чтобы убрать все заусенцы.
Второй способ крепления – при монтаже потолка разместить его края в 10 см от окна. Тогда около окна будет ниша, в которой можно добраться до капитального перекрытия и крепить карниз непосредственно к бетону. Недостаток такого решения – сокрытие карниза от глаз, так что установить красивый декоративный бордюр не удастся. Зато можно использовать самый дешевый вариант карниза, так как все равно его никто не увидит.
Подготовительные работы
От того, насколько качественно выполнены подготовительные работы, зависит, насколько легко удастся закрепить карниз, и какой вид будет иметь готовая конструкция. Вот что требуется сделать на этапе подготовки:
- Определить, какие именно шторы будут размещены на окне: их количество, длину, общий вес. Надежность карниза лучше подбирать с запасом. Иначе в будущем, решив сменить шторы, вы можете столкнуться с тем, что карниз просто не сможет выдержать их вес.
- Рассчитать места расположения крепежных элементов на стене или потолке. Оно будет зависеть от типа выбранного карниза и его размеров. Следует добиться, чтобы от шторы было не менее 10 см до стены и 5-7 см до батарей и магистралей отопления. Нарушение этих требований может привести к тому, что окно будет неудобно открывать, а штора начнет портиться от контакта с батареей.
- Оценить качество стен и потолка в местах размещения карнизов. Если бетон слишком выкрошен в этом месте, стоит переместить кронштейн или подумать о предварительном укреплении стены. Также имеет значение ровность потолка и вертикальность стен (для проверки можно использовать строительный уровень и отвес). Чем ближе подвес находится к потолку, тем заметнее будет его кривизна.

- Провести разметку положения кронштейнов и убедиться, что идущая через них прямая горизонтальна. Для этого можно временно прикрепить кронштейны к стене и протянуть между ними нитку. Для временного крепления можно использовать скотч.
- Тщательно проверить комплектность приобретенного карниза. Если в конструкции не хватает какой-либо детали, проще вернуть бракованное изделие в магазин, чем пытаться найти импровизированную замену.
Убедившись, что все в порядке, можно приступать к монтажу.
Необходимые материалы и инструмент
Инструмент, необходимый для работы, найдется практически в любом доме. Вот что будет нужно:
- Дрель или перфоратор, оснащенные сверлом по бетону. Может понадобиться и сверло по дереву, чтобы сверлить дополнительные отверстия в карнизе (например, в шинных конструкциях).
- Карандаш, рулетка, уровень и отвес для разметки.
- Шуруповерт для вворачивания саморезов. Можно обойтись и отверткой, но тогда работа займет больше времени.
- Ножовка по металлу для укорачивания карниза (если карниз идеально подходит по размеру, этот инструмент не нужен).
Подготовив все необходимое, приступайте к работе.
Как повесить карниз для штор своими руками. Пошаговая инструкция
В качестве примера разберем установку шинного карниза. Порядок работы таков:
- Разметьте крепежные отверстия в планке и просверлите их. Внешнее отверстие должно быть широким и пропускать шляпку. Внутреннее – узким, чтобы проходил только стержень самореза.
- Просверлите отверстия в потолке, снабдите их пластиковыми пробками.
- Прикрутите планку карниза саморезами к пробкам.
- Вставьте в карниз бегунки для крепления штор и ограничители на концах, закрепите переднюю декоративную накладку.
Теперь все готово и можно вешать шторы.
Советы профессионалов
Мы предлагаем несколько видео, чтобы вы могли увидеть процесс установки карниза своими глазами. Кроме того, видео содержит несколько советов от профессиональных монтажников о том, как облегчит работу:
Установить карниз для штор своими руками сможет даже человек, делающий это впервые Нужно только внимательно читать инструкцию и убедиться, что все, что нужно для работы, подготовлено заблаговременно.
stroyobzor.info
Как прикрепить карниз к стене
Home » Стены » Как повесить карниз для штор на стену
Как повесить карниз для штор на стену
Навешивание карниза – последний этап «грязных» работ, выполнение которых связано со стуком, сверлением, образованием цементной или кирпичной пыли. Его завершение означает конец ремонта: после остаются только приятные хлопоты, то есть украшение комнаты, расстановка мебели и создание индивидуальной комфортной атмосферы.
Декорирование оконных проемов
Карниз как аксессуар может играть активную роль в интерьере или, наоборот, быть скрытым от глаз. В любом случае он должен выдерживать вес штор, обеспечивать положение драпировки в пространстве, давать возможность перемещать – раздвигать, задергивать занавеси.
Обычно карнизы закрепляют на кронштейнах, прикрученных к стене или потолку. Работу начинают с выбора конструкции и разметки. Способ того, как повесить карниз, зависит от того, какого он типа и где его вешать.
Сначала определяют высоту размещения декоративной планки. В помещениях с потолками до 3-х метров его вешают близко к потолку перекрытиям или непосредственно на плитах: высокое расположение конструкции визуально удлинит окно, сделает комнату выше. В апартаментах, домах дореволюционной постройки, в «сталинках» верхнюю границу штор поднимают выше оконного проема на 15-20 см. Выразительно смотрится карниз, размещенный на уровне галтели, посередине между окном и потолком.
По длине пространство, которое будут занимать шторы, должно быть больше ширины оконного проема – на величину от 0,4 до 1 м. Таким способом размещения преследуют две цели:
- зрительно расширить помещение. Особенно эффектен метод, если рама расположена в торце комнаты;
- увеличить поток света.
На широких панорамных окнах занавески могут висеть и в створе – свет, их пронизывающий, выгодно подчеркнет фактуру и рисунок ткани.
Порядок работы
Для крепления занавесей используются струны, штанги (трубы) или багеты – профили с шарнирными подвесами. Устанавливают несущие элементы при помощи двух-трех кронштейнов, которые, в свою очередь, монтируют к стенам или потолку.
На боковых поверхностях размещают кронштейны – скобы или корпусные держатели. Они предназначены для подвешивания профилей или штанг с кольцами. Потолочные кронштейны более универсальны. С их помощью, кроме перечисленных элементов, можно устанавливать и струны. В этом случае скобы оснащаются натяжным механизмом. Несущих штанги или струны может быть две или три. Двойной профиль используется для подвешивания гардин и тяжелых занавесей, на третьей штанге крепят ламбрекен – дополнительную верхнюю драпировочную кайму.
Место для отверстий размечают на расстоянии 5-10 см от вертикальных границ проемов. При необходимости предусматривают третье отверстие, если ширина карниза превышает 2,5 м. Его располагают обычно посередине. Горизонтальный уровень карниза может не соответствовать нулевому отклонению: линию чаще привязывают к срезу потолка. Если дом старый, стены перекошены, горизонтально висящая планка будет дисгармонировать с потолочным ребром комнаты.
Отверстия в потолке выполняют на расстоянии 150 мм от окна, это минимальная граница. Отступ может быть и больше в том случае, если используется двойной или тройной карниз.
Сверление производят при низких оборотах дрели – не более 400 оборотов в минуту. Материал и угол заточки сверла должны соответствовать условиям и средам обработки. Бетонные поверхности обрабатывают бурами с победитовыми наконечниками. Для сверловки металлических пластин угол заточки составляет 117 о +1, отверстия в пластике выполняют более острыми сверлами. При заточке победитового инструмента нужно по возможности сохранять угол режущей кромки, установленный изготовителем.
Глубина отверстий в стенах должна составлять не менее 50 мм. За начальную точку отсчета берут границу основания, слой штукатурки не учитывают. В пробуренный шурф вставляют полиуретановый дюбель, прикручивают шурупом кронштейн. Таким способом получают условно разъемное соединение. Более универсальный метод заключается в подборе такого размера шляпки самореза, которая бы входила в проушину кронштейна – тогда снимать карниз в случае нужды будет проще.
Установка на гипсокартонные стены и подвесные потолки
Если карниз нужно прикрепить к перекрытию, на котором планируется установить натяжной потолок, монтируют дополнительное основание – брус. Его толщина должна быть достаточной, чтобы выдержать потолочный карниз, но дерево – не мешать натяжению пленки.
Технология установки такова:
- на пленку в местах предполагаемого крепежа наклеивают ограничительные пластиковые кольца;
- внутри них аккуратно прорезают (выплавляют) отверстия;
- прикручивают карниз.
Крепление кронштейнов к гипсокартонным стенам производится с помощью специализированных дюбелей. Они оборудованы широко расходящимися зажимными губками, которые обеспечивают дополнительное сопротивление нагрузке. Предельная масса, которую может выдержать одно такое крепление, составляет 8 кг. Для более надежного соединения под гипсокартонный лист на этапе его монтажа подкладывают металлическую ленту или деревянную рейку.
Как крепить потолочный карниз
Неотъемлемым элементом уютной комнаты являются удачно подобранные шторы. Современная технология их закрепления предлагает воспользоваться настенным карнизом. Он легко крепится к потолку из любого материала, позволяет повесить шторы и гардины в несколько рядов и является декоративной деталью интерьера.
Классификация
Потолочный карниз для штор
Карниз на потолке визуально увеличивает высоту комнаты и позволяет скрыть за слоем штор мелкие дефекты на стенах. Изделия можно разделить на несколько видов.
- Деревянные, сочетающиеся с интерьером в классическом стиле.
- Металлические – прочные карнизы для оформления комнат в современном стиле.
- Пластиковые – легкие и недорогие изделия, которые могут оставаться незаметными или стать украшением интерьера, если используется багетная планка.
Пластиковые ПВХ потолочные карнизы
По способу крепления:
- через отверстие в шине;
- с помощью кронштейнов и подвесов.
По конструкции профиля:
- однорядные – имеют одну дорожку для крепления штор;
- многорядные – система, включающая от двух до четырех дорожек, что позволяет создать многослойную композицию из штор, тюля и ламбрекенов.
Выбирая карниз для штор, необходимо выяснить, на какой вес он рассчитан. Под значительным весом ткани пластиковый карниз может прогнуться, для тяжелых штор лучше использовать металлический крепеж.
Необходимую длину карниза рассчитать просто: нужно замерить величину оконного проема и прибавить к ней 40 см. Если окна расположены в ряд, то к ширине проема прибавляется 30 см.
Расстояние выноса карниза от стены должно быть достаточным, чтобы висящие шторы не задевали подоконник, оконные ручки и батареи. При полном открывании гардины должны полностью освобождать оконный проем.
Особенности монтажа к бетону
После выбора изделия необходимо решить, как крепить потолочный карниз? Монтаж изделия к бетонному потолку начинается с разметки. Затем карнизная планка отрезается до нужной длины с помощью ножовки по металлу. На концы шины надеваются пластиковые заглушки, идущие в комплекте.
В середине карниза сверлится отверстие под саморез, причем используются сверла двух диаметров – сначала по размеру шляпки шурупа, а затем более тонкое сверло. Далее такие отверстия выполняются по всей длине планки. Их шаг составляет 60 см, если необходимо повесить тяжелые шторы, расстояние между крепежом уменьшается.
К бетонному потолку
Карниз прикладывается к потолку параллельно оконному проему. Через отверстие посередине выполняется метка на потолке и перфоратором бьется отверстие под дюбель. закручивается саморез. Выровняв планку по уровню, размечают и сверлят остальные отверстия. Карниз по все длине фиксируется дюбель-гвоздями.
Установка изделия на кронштейнах
Установка на кронштейнах
Если монтаж карниза на потолке невозможен, то он крепится к стене с помощью кронштейнов. Сделать это еще проще, так как потребуется сверлить гораздо меньше отверстий.
- Все детали собираются в общую конструкцию.
- Планка прикладывается к стене в месте установки и через отверстия в кронштейнах отмечаются точки крепления.
- Перфоратором сверлятся отверстия и вставляются дюбеля.
- Карниз прикручивается к стене саморезами.
Монтаж к потолку из гипсокартона
Закрепить потолочный карниз на гипсокартоне можно двумя способами:
- Установить закладной брус в процессе монтажа подвесной конструкции.
- Закрепить анкера, длина которых позволяет захватить 5 см потолочного перекрытия.
Дюбель для гипсокартона
Планка для легких штор может крепиться просто к гипсокартону с помощью дюбелей «бабочек» и «зонтиков». Этот крепеж после вкручивания шурупа раскрывается и увеличивает опорную площадь. Многоярусную конструкцию он не удержит. Для многорядной шины потребуется через отверстия в карнизе наметить точки на потолке и просверлить глубокие проходы под анкера.
В качестве закладки под карниз используется деревянный брус, прикрученный к перекрытию. Он не должен выступать за плоскость гипсокартона, а его габариты должны превышать размеры потолочного карниза. Монтаж к брусу выполняется по технологии крепления к бетонному потолку, только отверстия в нем сверлить не нужно.
Как прикрепить к натяжному потолку
Схема установки с закладным бруском
Монтаж потолочного карниза к натяжному потолку выполнить достаточно сложно, ведь полотно не рассчитано на нагрузку. Планировать установку крепления для штор нужно заранее и в выбранном месте набить деревянный брус. Его нижний край должен быть вровень с натянутым полотном. На пленке в месте закладки ставятся отметки, по ним выполняется монтаж карнизной планки.
Есть второй способ установки, он сложнее, но обеспечивает оригинальный внешний вид конструкции. Натяжной потолок устанавливается не вплотную к стене, а с отступом, в результате чего образовывается ниша. Ее размер должен соответствовать величине устанавливаемого карниза. Планка фиксируется непосредственно на потолочном перекрытии. Рядом в 3–5 мм набивается деревянный брус, пропитанный антисептиком. На него со стороны карниза крепится фиксирующий профиль для виниловой пленки. После натяжения полотна деревянный брусок будет полностью скрыт.
Установка закладного бруска
Как осуществляется сборка и монтаж пластикового потолочного карниза, смотрите ниже:
В натяжной потолок карниз монтируется следующим образом:
Инструкия по монтажу: потолочный пластиковый карниз, крепление к потолку, стене, много фото. как крепить шторы
Как правильно повесить пластиковый потолочный карниз?
Пластиковые карнизы отлично смотрятся в помещениях с современным модерновым интерьером. Такие карнизы крепятся к потолку так, что они становятся практически незаметными, скрывшись за тканью. Тем самым делается акцент на самих шторах, подчеркивается их красота и воздушность. Повесить карниз не составляет особого труда, а прочность крепления высока, так что можно забыть о нем до следующего ремонта.

Монтаж пластикового карниза
Сегодня карнизы служат для крепления гардин, штор, тюли, занавесок, шторок. Пластиковые карнизы изготавливаются из качественного поливинилхлорида. Изделие конструктивно представляет собой полую шину с несколькими рабочими линиями.
Карнизы делятся на:

Двухрядный пластиковый потолочный карниз
Комплектация карниза, необходимые для работы инструменты

Полная комплектация потолочного карниза включает:
- Профилированный пластиковый карниз. С нижней стороны он имеет 1-3 бороздки, куда вставляются крючки для фиксации шторы. Сверху пластиковый элемент плоский.
Основной профиль в зависимости от производителя имеет длину 1,2-6 м, что позволяет создавать комбинированные карнизы различной длины. Лишние элементы можно отпилить или оставить, на ваше усмотрение.
Необходимые инструменты
- Шурупы с дюбелями
- Ножовка по металлу
- Электродрель
- Шуруповерт или отвертка
- Маркер/карандаш

Отпиливаем лишний край. Чтобы ровно выполнить работу воспользуйтесь дополнительно уголком
Последовательность монтажа пластикового карниза своими руками
Потолочный карниз повесить не сложно, но важно сделать все правильно, в определенной последовательности.
- Определяемся с местом расположения карниза. Для этого набросайте приблизительную схему, от которой будет зависеть длина основного элемента. Для поворотных элементов, при наличии таких, необходимо учесть необходимый отступ от стены.
- Если карниз должен крепится по прямой линии вдоль окна, здесь все просто – отпиливаем ножовкой профиль нужной длины согласно схемы. Если же необходимо повесить занавес не возле окна, а посреди помещения и линия карниза будет иметь повороты, изгибы, то составляем схему. По ней нарезаем отдельные элементы нужной длины, а затем каждый устанавливаем отдельно.
- Для крепления к потолку сверлим отверстия в профиле с помощью дрели таким образом, чтобы шурупы крепко держали профиль вместе со шторой. Иногда профиль уже имеет монтажные отверстия для крепления. После полного монтажа изделия эти отверстия станут незаметны, поэтому не делайте их слишком редко. Среднее расстояние между ними – 0,5 м.

Комплектующие для потолочных пластиковых карнизов

Пластиковый карниз с изгибами и поворотами
Как прикрепить потолочный карниз к стене?

Крепление на кронштейны к стене
К подвесным гипсокартонным или натяжным потолкам прикрепить такой карниз невозможно, поэтому он крепится к стене.
Производители предвидели эту проблему и комплектуют карниз специальными кронштейнами, которые крепятся также шурупами с дюбелями, но к стене.
Верхние планки кронштейнов могут быть разной длины (10-30 см), что позволяет регулировать вынос карниза от стены.
К верхней планке кронштейна карниз крепится специальными пластиковыми платинами. Кронштейны монтируются на расстоянии 1-1,5 м, и 0,5 м друг от друга в случае, если карниз двух-, трехрядный с большими массивными шторами.
Пластиковые карнизы к деревянному потолку монтируются еще проще. Здесь необходимо правильно все разметить и закрепить конструкцию саморезами. В широких карнизах отверстия необходимо выполнять в два ряда.
Если планируется крепить к гипсокартонному потолку легкие шторки или занавески, проблем не возникает. Но если будут висеть многослойные, массивные шторы для надежности крепление производится к стене с помощью кронштейнов, либо нужно сооружать деревянные закладные. Зафиксируйте закладные из бруса к базовому потолку в месте крепления будущего карниза.
Итак, правильно подвесить карниз не трудно, придерживаясь необходимых этапов монтажа. Декорированный пластиковый карниз вместе с подходящими шторами станет украшением всей комнаты.
Полезные советы
- До покупки карниза произведите замеры оконного проема или другого места, куда он будет смонтирован.
Основной плюс пластиковых карнизов — многофункциональность
Источники: http://svoidomstroim.ru/steny/kak-povesit-karniz-dlya-shtor-na-stenu.html, http://kakpravilnosdelat.ru/kak-krepit-potolochnyy-karniz/, http://legkoe-delo.ru/remont-doma/legko-sdelat/21991-instrukiya-po-montazhu-potolochnyj-plastikovyj-karniz-kreplenie-k-potolku-stene-mnogo-foto-kak-krepit-shtory
allshtori.ru
виды гардин и способы установки
Для того, чтобы повесить шторы, нужна специальная конструкция — карниз. В продаже есть множество вариантов конструкции подобных изделий. Можно выбрать и приобрести любой вариант, но, перед навеской штор, потребуется надежно закрепить приспособление. Как правило, эту работу выполняют самостоятельно. Существенной сложностью процесс монтажа не отличается, но некоторые навыки и умения потребуются. Рассмотрим, как повесить карниз для штор на стену или иную несущую поверхность.
Что такое карниз?
Карниз — это несущая конструкция, предназначенная для навески штор или гардин. Обычно она представляет собой перекладину, концы которой закреплены на стене или потолке. На перекладине установлены специальные зацепы, удерживающие полотно штор или гардин.
Необходимо сразу определиться в терминологии. Сплошь и рядом встречаются выражения типа «установка гардины на потолок или стену», или «как повесить гардину на стену». Для специалиста такие фразы — свидетельство неграмотности собеседника. Гардина — это сплошная прозрачная занавеска, отсекающая оконный проем от комнаты, когда плотные шторы раздвинуты. А карниз — это и есть та конструкция, на которую осуществляется крепление гардин.

Монтаж карнизов для штор может производиться в двух вариантах:
- К стене. Этот способ удобен для помещений с высокими потолками, так как позволяет экономить на длине занавесок.
- К потолку. Занавески полностью отделяют стену с оконным проемом от остальной части комнаты, что выглядит привлекательно и стильно.
Существует еще один, дополнительный вариант крепления для небольших занавесок — карниз на пластиковое окно. Он состоит из двух (или трех) частей и фиксируется на створках. Наиболее распространены карнизы настенные, хотя и потолочные образцы встречаются не менее часто.

История карнизов насчитывает многие столетия. За это время было придумано великое множество конструкционных вариантов, разработана масса способов монтажа. Существуют разные виды карнизов для штор, отличающиеся друг от друга материалом, формой, типом монтажа и прочими особенностями. На рынке есть практически любые варианты, выбор которых обусловлен предпочтениями и уровнем достатка покупателя.
Материал карниза
Для изготовления карниза используется несколько видов материала. Все варианты по-своему привлекательны, хотя споры о том, какой из них лучше, не стихают с момента появления первых экземпляров. Выбор того или иного вида — прерогатива владельца, он производится по собственным соображениям и вкусовым предпочтениям. Однако, рекомендуется стремиться к максимальной гармонии интерьера комнаты с внешним видом карниза. Следует помнить, что этот элемент всегда на виду, поэтому соответствие с общим стилем помещения следует обеспечить. Рассмотрим, какие бывают карнизы для штор.
Пластик
Пластиковые карнизы появились сравнительно недавно, но быстро завоевали признание и высокую оценку пользователей. Они красивые и дешевые, не обладают лишним весом и не склонны к коррозии или короблению, как металлические или деревянные образцы. Материал позволяет создать разные варианты конструкции, от плоских шин до привлекательных и нарядных багетных планок. Имеется широкий выбор цвета, декора и состава пластиковых карнизов. Единственным недостатком считается сравнительно низкая прочность, поэтому тяжелые портьеры на них лучше не вешать.

Металл
Карнизы из металла отличаются высокой прочностью и способны выдержать тяжелые занавески. Однако, они обладают немалым собственным весом. Перед монтажом следует хорошо продумать, как прикрепить карниз из металла, чтобы он через некоторое время не оторвался. Преимуществом металлических изделий является способность создания длинных образцов, выдерживающих значительные нагрузки. Металл гнется, но не ломается, что увеличивает надежность подвески тяжелых штор.

Недостатком можно считать склонность к коррозии. Обычно все металлические детали имеют защитное покрытие, но оно со временем разрушается и металл начинает ржаветь. Подобным проблемам подвержены участки крепления, соединения кронштейна и несущей планки, подвижные части. Однако, существуют алюминиевые карнизы, которые полностью лишены недостатков стальных экземпляров — они легкие, не ржавеют, но обладают высокой несущей способностью.
Дерево
Древесина — один из традиционных материалов. Она привлекательна внешне, не тяжелая, достаточно прочная. Конструкция деревянных карнизов отработана веками, но от этого только выигрывает. Древесина — податливый материал, хорошо поддающийся обработке. Благодаря этому, в продаже имеются любые виды изделий, от традиционных круглых до подчеркнуто нарядных багетных образцов. Особенностью этого материала является стильный вид изделия независимо от способа отделки.

Некрашеная деревянная поверхность выглядит не хуже, чем мореная или покрытая лаком. Это расширяет возможности выбора и позволяет добавить в интерьер комнаты несколько традиционных ноток. Недостатком древесины является неустойчивость к воздействию воды, но специфика использования карниза для штор не дает поводов для серьезного беспокойства. Кроме этого, стоимость изделий из натурального дерева выше, чем у пластиковых или металлических аналогов.
Комбинированный
Сочетание нескольких материалов в конструкции карнизов встречается часто. Используются разные комбинации дерева и металла, металла и пластика, другие варианты. Возможность объединить качества материалов увеличивает прочность карниза, усиливает его конструкцию, позволяет уменьшить собственный вес изделия. Эти преимущества расширяют ассортимент существующих изделий, позволяют уменьшить себестоимость и сократить расход дорогих материалов.

Большинство карнизов, имеющихся в продаже, составлены из разнородных деталей, но это нисколько не снижает их качество или внешний вид.
Виды карнизов и их особенности
Существуют разные конструкции карнизов для штор. Все они обладают своими достоинствами и недостатками. Изначально тип конструкции определялся материалом изготовления, но развитие технологий практически устранило разницу и сделало возможным изготовление образцов любых форм и размеров. Сегодня выбор конструкции определяется особенностями интерьера и строением потолка или стен комнаты. Рассмотрим виды карнизов для штор.
Струнный
Такие конструкции состоят из двух жестко закрепленных кронштейнов, между которыми натянута стальная проволока. Особенностью этих изделий является возможность подогнать длину под размер комнаты с точностью до миллиметров. Как правило, струнные карнизы крепятся к потолочной плите. Это несколько ограничивает их применение из-за повсеместной моды на натяжные или навесные потолки. Усилие натяжения струны требует прочной и весьма жесткой опорной плоскости, иначе она будет деформирована или полностью разрушена.

Внешний вид струнных карнизов оставляет желать лучшего, поэтому их обычно закрывают декоративными панелями или прячут под уступ навесного потолка, гипсокартонной конструкции или иного маскирующего элемента. Стоимость подобных изделий самая низкая, они подойдут практически к любому интерьеру, что сделало струнные образцы самыми распространенными из всех альтернативных разновидностей.
Трубчатый или штанговый
Эта конструкция представляет собой трубку, которую поддерживают два (при большой длине используют три) кронштейна. Особенностью этого вида является открытое размещение трубки, поэтому она должна привлекательно выглядеть. Существуют металлические, деревянные или пластиковые изделия штанговой конструкции. Для крепления штор на трубку нанизывают кольца с зацепами (крючками, прищепками или «крокодилами»).

Существуют трубчатые карнизы для пластиковых окон без сверления, которые представляют собой конструкцию телескопического типа. Они образуют распорку, установленную между откосами рамы. Это разновидность мини-карниза, которую иногда называют «кафе». Хороший вариант для помещений, не позволяющих прикрепить обычные виды — с натяжными (навесными) потолками или гипсокартонными стенами.
Шинный
Это плоские планки с продольными каналами, в которые установлены крючки для штор. Они крепятся только на потолок, что несколько ограничивает их использование в высоких помещениях. Преимуществом подобных конструкций является компактность, аккуратность, они не привлекают внимание. Подходят для любых интерьеров, хотя в комнатах с дорогими мебельными гарнитурами из натурального дерева лучше поискать другие варианты.

Недостатком шинных комплектов следует считать сложность замены крючков, которые часто ломаются. Для монтажа в планке проделывают отверстия и сверлят гнезда под дюбели в потолочной плите. Если установлен натяжной потолок, необходимо заранее прикрепить опорные площадки на уровне натяжного полотна. Шины крепят к ним сквозь пленку. Способ довольно сомнительный, так как любое повреждение полотна чревато его разрушением. Это надо иметь в виду, планируя установку карниза.
Профильный
Это разновидность шинного карниза, предназначенная для установки на стену. Представляет собой прочный алюминиевый профиль, который крепится на кронштейнах. Преимущество этой конструкции состоит в том, что допускается любая высота карниза от потолка. Недостаток — можно использовать только для легких занавесок или гардин из тюля. Причина этого в том, что расстояние профильной планки от стены составляет около 20 см. Это создает рычаг, который, при большом усилии, способен оторвать карниз от несущей плоскости.

Иногда профильный и шинный виды путают между собой. Различить их легко — профиль крепят к стене на кронштейнах, а шину можно только прикрутить на потолок.
Багетный
Стильный, внешне привлекательный вариант. Представляет собой полосу багета, прикрывающего струнную, профильную или шинную несущую конструкцию для штор. Можно использовать однорядную или двухрядную систему. Примечательно, что сам багет выполняет только декоративную функцию, являясь, по сути, лишь украшением.
Его преимуществами являются:
- широкий выбор размеров, материала и цвета багетного профиля.
- возможность совместить непривлекательную систему с любым интерьером, мебелью, стилем отделки стен или материалом штор.

Использование багетных карнизов дает возможность исправить недочеты монтажа, скрыть непривлекательные подвесы для штор, украсить несущую систему. Это сделало багетные конструкции популярными и востребованными.
Этапы крепления карниза
Монтаж карниза к несущей плоскости требует наличия некоторых инструментов и навыков работы с ними. К любому типу конструкции прилагается инструкция, которую следует внимательно изучить. В ней изложена подробная информация о том, как правильно повесить карниз для штор на стену или потолок, какие для этого потребуются инструменты и материалы. Установка выполняется поэтапно. Необходимо выбрать способ монтажа, подобрать надежный крепеж для карниза, собрать конструкцию, разметить плоскость и подготовить гнезда для дюбелей или анкеров. Процесс состоит из разных действий и требует подробного рассмотрения.
Сборка
Конструкция карниза не представляет никакой сложности. Сборка обычного экземпляра подробно описана в инструкции, хотя подготовленный пользователь без труда обойдется своими силами. Современные модели карнизов соединяются с помощью обычных саморезов или (реже) резьбовых соединений. Обычно требуется вставить трубку в кронштейн и зафиксировать ее шурупом. Для шинных конструкций вся сборка состоит из продольного соединения прямых участков или криволинейных сопряжений со стеной.

Несколько сложнее ситуация, когда задумана установка не только возле оконного проема, но и по всей долине смежных стен, разделения комнат на части. Такое решение часто применяют для отсечки пространства в квартирах-студиях. Здесь потребуется вычислить длину каждого участка, приобрести нужное количество карнизов и составить из них непрерывную линию. Эти действия выполняются до установки, чтобы имелась возможность сразу исправить все ошибки. Иногда удобнее производить последовательный монтаж — установить одну часть, примерить к ней следующий участок, отрезать его в нужном месте, установить на несущую поверхность и т.д.
Выбор места крепления
Основными плоскостями, используемыми для установки карнизов, являются стены и потолок. Выбор места обусловлен типом конструкции карниза и способом отделки (обшивки) опорных поверхностей. Если имеется подвесной или натяжной потолок, то следует рассмотреть вариант установки на стену. Однако, многие владельцы выравниваю плоскости гипсокартоном, что усложняет процесс монтажа.

Необходимо заранее прикрепить к стене прочные бруски или закладные, на которые будет опираться лист гипсокартона. Они должны находиться в участках крепления кронштейнов. Тогда проблем при установке не возникнет.
Монтаж пошагово
Пошаговая инструкция по монтажу карниза:
- Сборка конструкции, при необходимости — изготовление отверстий под саморезы. Подгонка длины прямых участков под имеющиеся размеры оконного проема или всей комнаты.
- Разметка опорной плоскости. Отмечается линия установки карниза, намечаются точки крепления.
- Сверление гнезд для саморезов (под дюбели) или под анкеры (если надо установить тяжелую и крупную конструкцию).
- Крепление кронштейнов. Если выбрана шинная конструкция, последовательно устанавливаются составные части.
- Окончательное соединение всей конструкции, фиксация саморезами, проверка надежности монтажа.
Если используется багетный карниз, добавляется еще один этап — крепление наружного оформления.
Процесс монтажа может выглядеть несколько иначе, если использована нестандартная конструкция карниза. В любом случае, первые три пункта будут актуальны. Последующие действия будут обусловлены особенностями выбранного экземпляра.
Примеры в интерьере
Для того, чтобы дать толчок своей фантазии и выбрать наиболее подходящий вариант оформления, следует рассмотреть фото готовых дизайнерских решений. В сети Интернет немало иллюстраций, дающих представление о конструкции, особенностях и прочих специфических свойствах тех или иных видов карнизов. Рассматривая их, можно подобрать тип и материал, уточнить способы монтажа. Вариантов очень много, выбрать наиболее привлекательный вид непросто. Следует сразу отсечь все заведомо негодные разновидности, если в комнате имеется натяжной потолок или существуют ограничения другого рода. Далее надо включить фантазию и проявить творческие способности. В крайнем случае можно просто копировать готовое решение, в этом нет ничего предосудительного. Главное — привлекательный и эффектный результат.







Поделиться: nastroike.com
Как вешать карниз для штор: установить и крепить его
Неотъемлемым элементом оформления оконного проема наряду со шторами является карниз. От правильного выбора карниза зависит вид композиции в целом, удобство эксплуатации и надежность крепления штор.
Качественный карниз для штор
Правила выбора и установки карниза для штор
Установка карнизов для штор своими руками под силу любому домашнему мастеру. Способ монтажа зависит от материала конструкции, конфигурации карниза, места установки (стена или потолок) и варианта отделки поверхности, на которую производится крепеж.
Перед тем как установить карниз, кроме его соответствия интерьеру комнаты и дизайну штор, стоит учитывать еще ряд факторов:

- Прочность. Конструкция должна выдерживать вес гардин. Исходя из этого, подбирается материал (металл, дерево, пластик или струна), качество и жесткость штанги или профиля.
- Способ крепления к поверхности. Учитывают общий вес карниза и штор, а также вид покрытия, на которое будет установлена конструкция. Различают три основных способа крепления: через сквозные отверстия в самом карнизе к поверхности, на консолях (опорах) или кронштейнах.
- Размер. Длина карниза превышает ширину окна не менее чем на 40 см.
- Количество рядов. В зависимости от количества занавесей подбирается одно- , двух- , или трехрядная система. Соответственно от этого фактора зависит и его ширина.
Вешать карнизы для штор можно только после окончания всех ремонтных работ. Исключение составляют натяжные потолки. В этом случае место крепления определяется заранее и под пленку или ткань устанавливается закладной деревянный брус для последующего монтажа.

Установка настенных карнизов
Выбрав подходящую модель, и определившись с местом расположения, можно приступать к монтажу. Чтобы прикрепить карниз к стене понадобится следующий перечень инструментов:
- Электродрель или перфоратор.
- Шуруповерт или отвертка.
- Мелкозубчатая ножовка.
- Строительный уровень и отвес.
- Стремянка (можно использовать стол).
- Рулетка, линейка и угольник.
- Карандаш.

Крепление карниза для штор к стене с помощью кронштейнов выполняется в такой последовательности:
- Карниз прикладывается к стене и определяется его оптимальная высота относительно верхнего края оконного проема (в среднем 6-7 см).
- С помощью уровня проводится прямая горизонтальная линия.
- Применяя рулетку, на проведенной линии отмечают места крепления.
- При помощи дрели или перфоратора высверливаются отверстия под дюбеля. Для стандартного крепления применяются дюбеля 6×30 мм или 6×40 мм.
- В отверстия вставляют дюбели и прикрепляют один угловой кронштейн для карниза. Отвесом проверяют расположение обеих точек крепления на одной вертикальной оси.

- Прикрепляется второй (остальные) кронштейн и опять с помощью уровня проверяется их расположение в горизонтальной плоскости.
- После этого можно собрать и установить карниз для штор, визуально проверив его правильное расположение.
В процессе сверления сверло может незаметно соскользнуть с намеченной точки на несколько миллиметров, что в итоге приведет к перекосу конструкции. Чтобы избежать соскальзывания в местах сверления можно сделать углубления 2-3 мм гвоздем.
Особенности монтажа потолочных карнизов
Большинство многорядных потолочных конструкций изготавливаются из ПВХ или алюминия, поэтому нужно с самого начала учитывать вес штор.
Монтаж потолочного карниза
Чтобы установить потолочный карниз для штор понадобится тот же набор инструментов, что и для настенного крепежа, а вот сам монтаж карнизов для штор имеет некоторые отличия. Установка потолочного карниза для штор на бетонное основание:
- На поверхности потолка производится разметка.
- Мелкозубчатой ножовкой пластиковый или алюминиевый профиль обрезается до нужной длины, на места среза устанавливаются заглушки или финишные элементы.
- В лицевой части высверливаются отверстия диаметром чуть больше шляпки самореза, после этого подбирают сверло меньшего диаметра (под дюбель) и просверливают прилегающую к потолку сторону. Чем больше вес штор, тем меньше расстояние между отверстиями.

- Профиль прикладывается к потолку согласно разметке и крепится через центральное отверстие одним саморезом. Таким образом, остается возможность откорректировать расстояние до стены, слегка поворачивая профиль.
- Проверяется расположение относительно стены, в случае надобности корректируется, и высверливаются отверстия под остальные дюбеля.
- Производится фиксация во всех местах крепления.
При установке на потолок из гипсокартона монтаж выполняется в такой же последовательности, однако в качестве крепежных деталей применяются распорные дюбеля-«бабочки» (molly), кроме того нужно внимательнее отнестись к общему весу конструкции.
Установка карнизов для штор на натяжной потолок к закладному брусу требует осторожности и аккуратности, так как ремонт поврежденного острым инструментом полотнища обойдется недешево. Места сверления отмечаются маркером, после чего на них наклеиваются небольшие кусочки упаковочного скотча (это зафиксирует диаметр отверстия и предохранит его от увеличения в результате натяжения полотна). Далее крепление к потолку карниза для штор производится стандартным способом. Важно проверить прилегающую к покрытию сторону на наличие заусениц или острых выступов, в случае обнаружения их необходимо удалить.
Если по каким-либо причинам установка на потолок не возможна, а вернуть изделие продавцу не получается, не стоит отчаиваться – можно прикрепить потолочный карниз к стене при помощи Г-образных кронштейнов.

Крепление штор
Крепления для штор выполняется различными способами, наиболее распространены такие варианты:
httpv://youtu.be/vbsZwVCUpv4
- Шторная лента – пришивается по верхнему краю шторы и оснащена шнуром для регулировки длины полотна. Может иметь один или два ряда петель.
- Люверсы – металлические или пластиковые кольца, устанавливающиеся на отверстия в полотне.

- Крючки. Не отличаются эстетичностью, однако почти всегда скрыты за лицевой декоративной панелью.
- Металлические или пластиковые кольца, в отличие от люверсов, устанавливаются по верхней кромке ткани.
- Тканевые петли.
Теперь вы с легкостью сможете крепить карниз для штор. Надеемся больше не возникнет вопроса, как установить карниз для штор.
podborshtor.ru












