Подготовка пилы к работе | Справочник | Лесоматериалы
Подготовка пилы включает фугование, разведение и затачивание зубьев. На характер работы пилы влияют форма, размеры и наклон зубьев. Пилы с зубьями равнобедренной формы рекомендуется употреблять только для поперечного пиления, прямоугольной формы — для продольного и поперечного, с наклонными зубьями — только для продольного.
Фугование пилы (рис. 1) заключается в выравнивании вершин зубьев так, чтобы они находились на одной высоте. Для этого в тисках закрепляют напильник и по нему двигают вершинами зубьев. Качество фугования проверяют, приложив к вершинам линейку; при этом между вершинами зубьев и ребрами линейки не должно быть просветов.
| Рис. 1. Фугование зубьев пилы: 1 — тиски; 2 — деревянный шаблон; 3 — полотно пилы; 4 — напильник. |
Разводка зубьев пилы. Чтобы полотно пилы не зажималось в пропиле, зубья пилы разводят, т. е. отгибают: четные — в одну сторону, нечетные — в другую. При этом отгибают не весь зуб, а только его верхнюю часть (1/3 от вершины зуба). При разведении зубьев необходимо соблюдать симметричность отгибов на обе стороны. Для пиления твердых пород зубья разводят на 0,25…0,5 мм на сторону, мягких пород — на 0,5…0,7 мм.
| Рис. 2. Универсальная разводка: 1 — пластинка; 2 — регулировочные винты; 3 — шкала, показывающая величину развода; 4 — винт с упором, регулирующий высоту отгибаемого зуба; 5 — пружина; 6 — рычаг для отгиба зуба от пилы. | Рис. 3. Шаблон для контроля правильности развода зубьев пилы: 1 — пила; 2 — шаблон. |
При распиливании сырой древесины развод должен быть максимальным, а сухой — составлять 1,5 толщины полотна пилы. Ширина пропила не должна быть больше двойной толщины полотна.
Для разведения пилы начинающему столяру рекомендуется использовать специальную разводку (рис. 2). Правильность развода пилы проверяют шаблоном (рис. 3), передвигая его вдоль полотна. Пилу разводят равномерно, не применяя больших усилий, так как иначе можно сломать зуб.
Заточка зубьев пилы. Зубья затачивают напильниками, имеющими форму ромба или треугольника, с двойной либо одинарной насечкой. Перед затачиванием пилу надежно укрепляют в тисках на верстаке. Напильник прижимают к зубу при движении от себя; при возврате его слегка приподнимают, чтобы он не касался пилы. Сильно прижимать напильник к зубу не следует, так как при этом он будет нагреваться, что приведет к уменьшению прочности зубьев.
Зубья пил для продольного раскроя затачивают с одной стороны и напильник держат перпендикулярно к полотну. Для поперечного раскроя зубья затачивают через один и напильник держат под углом 60…70°. Лучковые пилы затачивают трехгранным напильником.
Пилы с крупным зубом разводят и затачивают, а с мелким — преимущественно затачивают, но не разводят. Объясняется это тем, что в столярных работах используют совершенно сухой материал, полотно лучковых пил тонкое (0,5… 0,8 мм), размеры пропила по длине не особенно велики, так что опасность зажима почти исключается, а мелкие зубья с шагом 2…3 мм очень трудно развести. Чистота работы заточенных, но не разведенных пил с натянутым полотном намного выше, чем одноручных ножовок с разводом, что особенно важно при запиливении шипов и проушин.
les.novosibdom.ru
Подготовка ручных пил к работе
Подготовка ручных пил к работе заключается в фуговании, разводке и заточке пил. Сначала пилы надо тщательно очистить от смолы, приставших опилок, ржавчины, промыть в керосине. Если поверхности полотен имеют неровности, их выправляют молотком на ровной металлической плите. Затем приступают к фугованию — выравниванию вершин зубьев пил, так как они должны находиться на одной высоте. В деревянную колодку (рис. 9, а) вставляют напильник, после чего колодку с напильником надевают на пилу и двигают по полотну, выравнивания при этом вершины зубьев.
В
ыравнивать
вершины зубьев пилы можно и другим
способом. В верстаке укрепляют доску
(рис. 9,б),
в прорезь которой вставляют сначала
напильник, а затем полотно пилы зубьями
вниз и, двигая пилой по напильнику,
выравнивают вершины зубьев. Выравнивать
вершины зубьев необходимо периодически,
иначе они будут неравномерно участвовать
в пилении. Качество фугования проверяют,
прикладывая к вершинам зубьев линейку.
Если вершины зубьев плотно примыкают
к ребру линейки, фугование выполнено
правильно.
В
процессе пиления полотно пилы трется
о стенки распиливаемой доски и
зажимается в пропиле. Во избежание
зажима полотна пилы в пропиле зубья
необходимо разводить. Развод зубьев
пил заключается в том, что их поочередно
отгибают: четные зубья — в одну сторону,
а нечетные — в другую. При разведении
зубьев нужно отгибать на сторону не
весь зуб, а только его верхнюю часть
примерно на высоте до
При пилении древесины твердых пород зубья разводят на 0,25… 0,5 мм на сторону, а мягких пород — на 0,5…0,7 мм. Надо строго соблюдать величину развода, так как при широком разводе пропил получается большим и неровным.
Зубья ручных пил разводят разводками следующим образом (рис. 10, а). Полотно пилы плотно зажимают в тиски, а затем отгибают зубья попеременно то в одну, то в другую сторону. Разводить зубья пилы нужно равномерно, не применяя больших усилий и резких движений, так как иначе можно сломать зуб. Помимо обычной применяют универсальную разводку (рис. 10, в).
Правильность развода зубьев пилы проверяют шаблоном (рис. 10, б), прикладывая его к полотну пилы, зажатой в тисках. Сначала проверяют четные зубья, а затем нечетные. Неправильно отогнутые зубья нужно исправить.
Правильность развода пил можно проверить более точно индикаторным разводомером типа РИ (рис. 10, г). При измерении разводомер опорной поверхностью плотно прижимают к полотну пилы, а наконечник индикатора располагают напротив вершины контролируемого зуба. По отклонению стрелки индикатора определяют величину развода.
Следующая операция — заточка зубьев пил напильниками с двойной и одинарной насечкой. По форме напильники различают трехграныые, ромбические и плоские. Ручные пилы обычно затачивают трехгранными или ромбическими напильниками.
При заточке полотно пилы зажимают в тиски, укрепляемые на верстаке. Напильник прижимают к зубу при движении от себя, а при возврате его слегка приподнимают, чтобы он не касался пилы. Сильно прижимать напильник к зубу не следует, так как при этом он будет нагреваться, что приведет к уменьшению прочности зубьев пил. Зубья с прямой заточкой пил для продольного раскроя затачивают с одной стороны, причем напильник следует держать перпендикулярно полотну пилы.
П
илы
для поперечного раскроя древесины имеют
косую заточку, поэтому их зубья
затачивают трехгранным напильником,
который держат под углом 60…70°. У этих
пил зубья затачивают через один. Заточив
зубья с одной стороны, пилу поворачивают
к себе другой стороной и, укрепив в
тисках, затачивают остальные зубья.
Лучковые пилы затачивают трехгранными напильниками, которые подбирают по размерам зубьев пил. Наточенные пилы не должны иметь заусенцев, засинений и других дефектов. Заусенцы снимают напильником с мелкой насечкой (бархатным). Приемы ручной заточки пил показаны на рис. 11.
Приемы работы ручными пилами заключаются в следующем. Для работы полотно пилы по отношению к станку (лучку) устанавливают под углом 30°, при этом полотно пилы должно быть прямолинейным, без перекосов и хорошо натянутым. Правильность установки пилы проверяют следующим образом: левой рукой держат за средник, а правой — за ручку и смотрят одним глазом на полотно пилы. Если полотно пилы установлено правильно, то оно будет иметь вид натянутой нити (рис. 12, а), а если неверно, то скрученный конец будет толще (рис. 12, б). Исправляют положение полотна пилы поворотом ручки.
При продольном пилении доску или брусок кладут на верстак либо на стол так, чтобы отпиливаемая часть выступала наружу, т. е. свешивалась за верстачную доску, и укрепляют струбциной. Затем намечают линию распила карандашом с линейкой или рейсмусом. Линию распила можно разметить лезвием острой стамески, при этом образуется прорезь в виде риски, хорошо видной на поверхности древесины.
При распиливании древесины пилу направляют таким образом, чтобы она не сходила с намеченной линии распила и не зажималась в пропиле, шла свободно и легко, не перекашивалась в пропиле, а шла ровно, не качаясь. При перекосе полотно пилы защемится в пропиле или будет тяжело продвигаться от трения, нагреется и потеряет свои прочностные качества.
В процессе пиления правой рукой держат пилу за стойку, а левой поддерживают распиливаемую доску. При этом ступня левой ноги должна стоять параллельно верстаку, а правой — под углом 70…80° к ступне левой ноги.
При пилении (рис. 13, а) делают движения «вразмах», прижимают пилу к дну распила при движении вниз и несколько отводят ее в сторону при движении вверх (холостой ход). Пилить нужно ровно, без резких движений, сильных нажимов и без перекосов. При продольной распиловке короткие доски с разметкой закрепляют в тисках в вертикальном положении так, чтобы риска была видна работающему (рис. 13, в). Пилу ставят на линию разметки и медленным движением на себя делают неглубокий пропил, после чего можно пилить в полный размах пилы. Пиление можно также производить и по бруску (рис. 13, г).
П
ри
пилении нужно следить за качеством
распиливаемой поверхности. Шероховатая,
грубая поверхность получается, если
пилят древесину пилой с крупными и
неправильно разведенными зубьями, а
также при работе с плохо заточенной
пилой. Неправильный
распил древесины получается также при
сильном нажиме пилой и при отклонении
от риски.
При поперечном распиливании досок и брусков материал кладут на верстак или стол так, чтобы отпиливаемый отрезок свисал с него, и по сделанной заранее риске делают запил, держа лучковую пилу правой рукой за стойку выше ручки, а левой поддерживают материал (рис. 14).
Для точного поперечного раскроя доски или бруска под определенным углом без разметки применяют распиловочный ящик (рис. 15), в боковых стенках которого имеются пропилы, сделанные под определенным углом (45, 90°). При пилении материал поддерживают левой рукой, а правой берут за стойку пилы и, направляя ее в нужный пропил, торцуют материал.
studfile.net
Как подготовить бензопилу к работе
Как пользоваться бензопилой
Значительно легче работать на приусадебном участке с различными садовыми инструментами, которых сейчас на рынке представлено в большом количестве. Одним из таких инструментов является цепная пила, с помощью которой производится формирование кроны на деревьях, обрезка веток, сруб деревьев и распил бревен. Благодаря своей функциональности, с цепной пилой можно работать не только в саду, но и использовать во время строительства.

Несложная конструкция представляет собой мотор, шину и цепь. Распиливание производится за счет острых зубьев, которые находятся на цепи. Значительную роль в работе пилы играет натяжитель, система смазки цепи и тормоз цепи. Натяжитель играет роль компенсации растяжения, которое возникает во время работы.
Крайне необходима для качественной и бесперебойной работы смазка цепи. Достоинством современных моделей является то, смазка происходит автоматически.
Тормоз цепи предназначен для безопасности человека, работающего с инструментом. Если при столкновении с преградой пила отскачет и выпадет из рук, то тормоз мгновенно остановит движение цепи.
Сборка бензопилы
Перед тем, как приступить к работе, пилу необходимо собрать. Ничего сложного в этом процессе нет. Необходимо только придерживаться определенной последовательности, а по завершению убедиться в надежности собранной конструкции. Особое внимание уделите сборке пильной гарнитуры.
Важно! Установку цепи на шину производить только специальный перчатках!
Ниже представлен детальный видео обзор по сборке цепной пилы
Обкатка пилы
Обязательной процедурой перед использованием пилы, является обкатка. Она выполняется для того, чтобы детали двигателя приработались. Сам процесс обкатки состоит из следующих пунктов:
- Подготовка смеси. Для этого в указанных в инструкции пропорциях смешивают масло и бензин. Желательно использовать качественные материалы, так к недорогие аналоги быстро приведут к поломке мотора.
- Залить масло в бачок для смазки цепи. Проверяется наличие просто – расположить пилу над белым листком бумаги и кратковременно включить пилу. Если на листке появились масляные пятна, то система смазки работает.
- Запустите пилу и поработайте на ней без нагрузки.
Важно! Нельзя использовать пилу на холостом ходу больше 15 минут. Беспрерывная работа с пилой выполняется не более, чем 3 часа.
Как приготовить смесь?
Для того, чтобы бензопила работала исправно и не ломалась, желательно выбирать только качественные смазочные материалы и при смешивании соблюдать не только пропорции, но и последовательность работ.
Как правило, используют моторное масло или трансмиссионное. Можно использовать только ту смазочную жидкость, которая приспособлена для вашего двигателя. Т.е. если он двухтакный, то выбираем соответствующую смазку.

Октановое число бензина также указывается в инструкции, но всегда используют не меньше, чем АИ-92. Пропорции для смеси составляют 1 л бензина и 30 мл масла. Для смешивания используется специальная емкость. Вначале заливается часть бензина, потом все масло и взбалтывается несильно. Потом доливается оставшийся бензин.
Как правильно пилить бензопилой?
Многие владельцы садового инструмента покупают себе цепную пилу, но потом откладывают ее в сторону и не пользуются, аргументируя это тем, что не получается. Во время распила ствола или спиливания дерева важно занять правильное положение и правильно держать сам инструмент. Сам оператор должен крепко держать пилу обеими руками, не сутулясь и не напрягая спину. Если необходимо наклониться, то положение туловища не меняется, а только сгибаются колени.
Возможности бензопилы
Надо отметить мнофункциональность в работе бензопилы, так как с ее помощью можно пилить не только древесину, но и пеноблоки, газобетон, ракушняк, ДСП, и даже камень. Для распила ствола следует ориентироваться на ширину шины и диаметр дерева. Естественно, сложно и долго пилить толстое дерево сабельной пилой, но при наличии терпения возможно. Если возникла необходимость распилить ДСП, то желательно использовать специализированный инструмент, который не будет оставлять сколы на краях, но если такового под рукой нет, то можно воспользоваться цепной бензопилой с малой мощностью, так будет проще контролировать ровность линии.
При валке деревьев важно соблюдать меры безопасности, так как любое замешательство может привести к травме. Процедура следующая:
- Достать бензопилу из проделанного надреза;
- Выключить бензопилу;
- Опустить вниз;
- Покинуть рабочую зону, учитывая направление падения дерева.
На фото продемонстрировано, как правильно пилить дерево

Видео обзор, в котором демонстрируется, как правильно пилить пилой
Для того, чтобы ровно распилить бревно вдоль потребуется небольшая подготовка. Необходимо закрепить бревно на основе болтами. Потом определить середину бревна и с помощью уровня провести карандашом прямую линию. Вкрутить 2 шурупа на этой линии в произвольной точке. Сделать надрезы по линии в верхней части бревна. Потом закрепить веревку на одном шурупе и провести ее через надрез вдоль всего бревна. Это будет линия, определяющая середину и на которую надо ориентироваться при распилке. Ниже представлен подробный видео урок по распилу дерева вдоль
Для того, чтобы производить работы по корректировке габаритов блока ракушняка, газобетона или пеноблока следует приобрести специальную цепь. Некоторые рыбаки используют бензопилу для распиливания льда. Только в этом случае они не рекомендуют использовать масло. Для того, чтобы инструмент остался целых и в рабочем состоянии, распиловку льда следует проводить с аккуратностью, не касаясь воды. После всех работ пилу протереть и смазать.
Для того, чтобы произвести максимально ровную распиловку бревна на доски бензопилой используют специальные столы и тележки, которые напоминают лесопильную раму. Конструкция держит пилу, а человек руками продвигает ее на тележке вдоль бревна. Благодаря тому, что пила зафиксирована в одном положении, срез получается ровный.
Бензопила на столько универсальный инструмент, что при желании из нее можно сделать снегоход, спегоуборщик, пилораму, болгарку и даже мопед. Существует множество насадок, которые позволяют модернизировать пилу и сделать ее многофункциональной. Многие продаются уже готовыми, а некоторые умельцы делают сами.

Какие проблемы могут возникнуть?
Многие задаются вопросом, почему бензопила криво пилит или заваливается на бок? Это происходит из-за того, что ослабилось натяжение цепи или зубья сточились. Также криво пилить может из-за неравномерной заточки. Поэтому все производители настоятельно рекомендуют проводить технический осмотр перед каждым использованием инструмента.
Так же пользователей интересует вопрос, почему пилу уводит в бок? Такое случается из-за неравномерной заточки звеньев. Заточку желательно производить в специализированных сервисных центрах. Еще одной причиной может быть несоответствие пильной гарнитуры модели пилы.
Во время эксплуатации бензопилы могут возникнуть следующие неисправности:
- Проблемы с мотором
- Не запускается. Проверьте свечи, замените при необходимости.
- Нестабильно работает. Замените топливо на качественное, проверьте фильтр.
- Глохнет после включения. Проверьте топливный фильтр или жиклер карбюратора.
- Глохнет во время работы при больших нагрузках.
- Проблемы с системой зажигания решаются заменой свечей или зачисткой контактов. Возможно неправильно выставлен зазор между катушкой зажигания и магнитом.
- Проблемы в топливной системе
- Инструмент глохнет. Возможно неправильно приготовлена топливная смесь. Устранить проблему можно заменой ингредиентов на качественные с соблюдением пропорций.
- Глохнет на холостом ходу. Почистите забитый нагаром глушитель, воздушный фильтр или проверьте настройки карбюратора.
- Глохнет на повышенных оборотах. Произведите очистку воздушного и топливного фильтра. Возможно сапун бензобака требует очистки, поэтому надо устранить грязь.
- Глохнет во время больших нагрузок. Неправильно настроен карбюратор.
- Нет подкачки топлива. Часто такая проблема возникает после длительного простоя инструмента. Проверить работу карбюратора.

Советы и рекомендации
Для того, чтобы не было проблем с бензопилой и она работала без поломок, следует соблюдать правила эксплуатации:
- Соблюдение правил безопасности.
- Проведение обкатки после покупки.
- Регулярно проверяйте толщину стружки. Если мелкая, то надо точить цепь. Если цепь острая, то толщина стружки приблизительно равна 3-4 мм.
- Нельзя пилить концом шины.
- Желательно ставить на замену детали того же производителя, что и модель пилы.
- Если вы новичок в работе с пилой, то тренируйтесь на моделях с низкими оборотами.
Видео обзоры
Видео урок по работе с бензопилой для начинающих
Видео обзор по резке льда бензопилой
Видео урок по распилке газоблока
Приспособление для распилки бревна на доски
vi-pole.ru
Подготовка пилы к работе
Подготовка пилы включает фугование, разведение и затачивание зубьев. На характер работы пилы влияют форма, размеры и наклон зубьев. Пилы с зубьями равнобедренной формы рекомендуется употреблять только для поперечного пиления, прямоугольной формы — для продольного и поперечного, с наклонными зубьями — только для продольного.
Фугование пилы (рис. 1) заключается в выравнивании вершин зубьев так, чтобы они находились на одной высоте. Для этого в тисках закрепляют напильник и по нему двигают вершинами зубьев. Качество фугования проверяют, приложив к вершинам линейку; при этом между вершинами зубьев и ребрами линейки не должно быть просветов.
| Рис. 1. Фугование зубьев пилы: 1 — тиски; 2 — деревянный шаблон; 3 — полотно пилы; 4 — напильник. |
Разводка зубьев пилы. Чтобы полотно пилы не зажималось в пропиле, зубья пилы разводят, т. е. отгибают: четные — в одну сторону, нечетные — в другую. При этом отгибают не весь зуб, а только его верхнюю часть (1/3 от вершины зуба). При разведении зубьев необходимо соблюдать симметричность отгибов на обе стороны. Для пиления твердых пород зубья разводят на 0,25…0,5 мм на сторону, мягких пород — на 0,5…0,7 мм.
| Рис. 2. Универсальная разводка: 1 — пластинка; 2 — регулировочные винты; 3 — шкала, показывающая величину развода; 4 — винт с упором, регулирующий высоту отгибаемого зуба; 5 — пружина; 6 — рычаг для отгиба зуба от пилы. | Рис. 3. Шаблон для контроля правильности развода зубьев пилы: 1 — пила; 2 — шаблон. |
При распиливании сырой древесины развод должен быть максимальным, а сухой — составлять 1,5 толщины полотна пилы. Ширина пропила не должна быть больше двойной толщины полотна.
Для разведения пилы начинающему столяру рекомендуется использовать специальную разводку (рис. 2). Правильность развода пилы проверяют шаблоном (рис. 3), передвигая его вдоль полотна. Пилу разводят равномерно, не применяя больших усилий, так как иначе можно сломать зуб.
Заточка зубьев пилы. Зубья затачивают напильниками, имеющими форму ромба или треугольника, с двойной либо одинарной насечкой. Перед затачиванием пилу надежно укрепляют в тисках на верстаке. Напильник прижимают к зубу при движении от себя; при возврате его слегка приподнимают, чтобы он не касался пилы. Сильно прижимать напильник к зубу не следует, так как при этом он будет нагреваться, что приведет к уменьшению прочности зубьев.
Зубья пил для продольного раскроя затачивают с одной стороны и напильник держат перпендикулярно к полотну. Для поперечного раскроя зубья затачивают через один и напильник держат под углом 60…70°. Лучковые пилы затачивают трехгранным напильником.
Пилы с крупным зубом разводят и затачивают, а с мелким — преимущественно затачивают, но не разводят. Объясняется это тем, что в столярных работах используют совершенно сухой материал, полотно лучковых пил тонкое (0,5… 0,8 мм), размеры пропила по длине не особенно велики, так что опасность зажима почти исключается, а мелкие зубья с шагом 2…3 мм очень трудно развести. Чистота работы заточенных, но не разведенных пил с натянутым полотном намного выше, чем одноручных ножовок с разводом, что особенно важно при запиливении шипов и проушин.
les.novosibdom.ru
4.7 Подготовка рамных пил к работе и уход за ними
Подготовка рамных пил к работе заключается в подготовке полотен, подготовке зубьев, установке рамных пил в станок и ремонте пил.
Подготовка полотен рамных пил состоит из следующих операций:
Контроля плоскостного полотна;
Правки дефектов формы полотна;
Контроля напряженного состояния полотна;
Вальцевания;
Заключительного контроля плоскости и напряженного состояния полотна пилы.
Основу подготовки полотна пилы состоит составляет обработка полотна молотком или роликами. Воздействие молотка на полотно с целью исправления его дефектов называют правкой, а с целью создания определенного благоприятного напряженного состояния – проковкой пилы. Некоторые дефекты полотен удобно исправлять прокатыванием пилы между роликами – вальцеванием. Вальцевание полотен пил чаще всего применяют для создания требуемого напряженного состояния пиля. Эта операция более производительна и механизирована, чем проковка.
Дефекты выявляют прикладыванием контрольной линейки к поверхности пилы, уложенной на поперечную плиту. Зазор между линейкой и полотном не должен превышать 0,15 мм. Правка пилы заключается в исправлении местных дефектов полотна: выпучин В, тугих мест Т, слабых мест С, изгиба И (рис. 28 а). Дефектные места исправляют ударами проковочного молотка по определенным точкам пилы, уложенной на наковальню.
Рис.28
Подготовка рамных пил к работе:
а – местные дефекты полотна и порядок ударов при правке; б – контроль напряженного состояния полотна; вальцевание рамных пил: в – принципиальная схема; г – расположение следов вальцевания; д – распределение напряжений в пиле после вальцевания и натяжения пилы; е – распределение напряжений в пиле после вальцевания
Вальцевание рамных пил – одно из мероприятий повышения жесткости и устойчивости пил в работе. Оно заключается в том, что среднюю часть полотна пилы 4 прокатывают под давлением между двумя вращающимися бочкообразными роликами 5 и 6 (рис. 28 в). В месте прохода ролика пила удлиняется и растягивает смежные, невальцованные части полотна. В результате натяжения вальцованной пилы в пильной рамке в крайних частях пилы будут достаточные растягивающие напряжения при относительно небольших растягивающих усилиях (рис. 28 (д, е)). Количество, расположений и порядок нанесения следов вальцевания 1 – 5 показан на рис. 28 г.
После вальцевания проводят оценку плоскостности и напряженного состояния пилы. Если обнаружены местные дефекты (отклонение от плоскости более чем на 0,15 мм), производят дополнительную правку. Если напряженное состояние пилы не соответствует нормальному, проводят дополнительное вальцевание.
Ремонт полотен рамных пил состоит в обрезке полотна и приклепке планок.
4.8 Приспособления по подготовке и уходу за рамными пилами
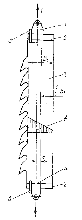
Крепление пил в продольном направлении. Крепление осуществляется верхними и нижними захватами (карабинами), устанавливаемыми на верхней и нижней поперечинах. При закреплении пил в продольном направлении необходимо обеспечить возможность изменять уклон пилы, плавно натянуть каждую пилу, обеспечить максимальные растягивающие напряжения у зубчатого венца, компенсацию удаления пилы от нагрева в процессе работы, быстроту смены пил.
Использование приклепанных (глухих) захватов не удовлетворяет перечисленным требованиям. Более совершенны съемные захваты, имеющие щечки, взаимодействующие с планками пил. Они позволяют легко смещать пилу в щечках, обеспечивая уклон пил максимальное растягивающее напряжение у режущей кромки (рис. 29).
По способу натяжения пилы верхние съемные захваты бывают клиновые, винтовые, эксцентриковые и гидравлические (рис. 30).
Винтовые захваты более совершенны, обеспечивают равномерное и плавное натяжение пил. Однако они недолговечны ввиду износа резьбы и не обеспечивают быстрого натяжения пил.
Эксцентриковые захваты наиболее распространены. Они обеспечивают быстрое натяжение пилы.

Рис. 29 Расположение пилы в съемных захватах:
1 – верхний захват; 2 – планки; 3 – полотно пилы; 4 – нижний захват; 5 – упоры-ограничители

а б в г
Рис. 30 Типы устройств для натяжения рамных пил:
а – клиновое; б – эксцентриковое с пружинящим клином; в – винтовое; г – гидравлическое
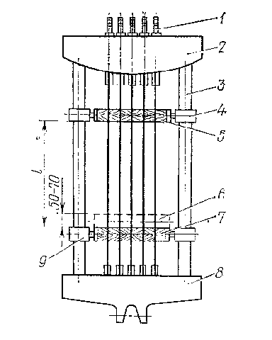
Крепление пил в поперечном направлении. Крепление осуществляется струбцинами, которые закрепляют на вертикальных стойках пильной рамки (рис. 27). Расстояние между пилами регулируют прокладками, которые устанавливают между пилами вверху и внизу, а также между крайними пилами и струбцинами, зажимающими постав пил. Распорные струбцины обеспечивают большую быстроту регулирования постава. Расстояние между верхними и нижними струбцинами необходимо брать минимальным.

Рис. 31 Крепление пил в рамке:
1 – натяжное устройство; 2 – верхняя поперечина; 3 – стойка; 4 – правая распорная струбцина; 5 – верхняя прокладка; 6 – нижний падающий валец; 7– нижняя прокладка; 8 – нижняя поперечина; 9 – левая коренная струбцина
studfile.net
Подготовка пилы к работе. Подготовка зубьев пил к работе Подготовка ручного инструмента для пиления к работе
Подготовка пил к работе заключается в подготовке полотен, зубьев, установке пил в станок и ремонте пил. Операции подготовки зубчатых венцов пил различной конструкции практически одни и те же.
Подготовка рамных пил. Подготовка рамных пил состоит из следующих операций: выявления и правки дефектов формы полотна; контроля напряженного состояния полотна; вальцевания; заключительного контроля плоскостности и напряженного состояния полотна пилы.
Дефекты выявляют прикладыванием контрольной линейки к поверхности пилы, уложенной на поверочную плиту. Зазор между линейкой и полотном не должен превышать 0,15 мм. Правка пилы заключается в исправлении местных дефектов полотна: выпучинВ, тугих мест Т, слабых мест С, изгиба И (рис.. 44, а ). Дефектные места исправляют ударами проковочного молотка по определенным точкам пилы, уложенной на наковальню.
Напряженное состояние полотна оценивают величиной стрелы прогиба пилы 2, изогнутой с радиусом R = 1,75 м (рис. 44, б). Стрелу прогиба измеряют проверочной линейкой и щупами или специальной линейкой 1 с индикаторами 3 и оценивают средним арифметическим двух замеров: при положении пилы вверх сначала одной стороной, а затем другой. Оптимальная величина прогиба зависит от размеров пилы и лежит в диапазоне от 0,8 до 0,35 мм.
Вальцевание рамных пил — одно из мероприятий повышения жесткости и устойчивости пил в работе. В процессе работы рамная пила нагревается, особенно у зубчатого венца. Режущая кромка удлиняется и под действием сил резания теряет устойчивую плоскую форму. Происходит блуждание пилы в пропиле, что приводит к волнообразному или криволинейному пропилу. Жесткость рамных пил обеспечивается главным образом продольным натяжением их в пильной рамке. Однако только за счет продольного натяжения не удается обеспечить необходимую жесткость пил ввиду того, что сила натяжения ограничена прочностью захватов и пильной рамки, воспринимающей силы натяжения всех пил постава.
Сущность вальцевания заключается в том, что среднюю часть полотна пилы 4 прокатывают под давлением между двумя вращающимися бочкообразными роликами 5 и 7 (рис. 44, в), ба
film4life.ru
Подготовка пил к работе — Все о Рассаде и Теплицах
Подготовка пилы к работе:
а — разводка и развод зубьев;
б — заточка зубьев;
в — сечение наточенного зуба пилы;
в — разведенные и заточенные зубья пилы
Приведем описание методов подготовки пил к работе и их заточки. Подготовка пил к работе состоит из фугования зубьев, их разводки и заточки. Для фугования — выравнивания вершин зубьев пилы — трехгранный напильник вставляют в деревянную колодку, в которой имеется прорезь для полотна пилы, а затем, двигая напильник по пиле, выравнивают высоту зубьев.
Разводка зубьев производится для уменьшения трения полотна о стенки распиливаемой детали. При разводке зубья поочередно отгибают в разные стороны: нечетные в одну сторону, а четные — в другую. Для пиления твердых пород дерева зубья отгибают на 0,3- 0,5 мм, а для мягких пород — на 0,5-1 мм. При разводке пилы отгибают не весь зуб, а только его верхнюю часть, примерно на 2/3 высоты от основания.
Зубья ручных пил разводят при помощи разводки — металлической пластины толщиной 2-3 мм с прорезями глубиной от 0,5 до 10 мм или обычными плоскогубцами, как показано на рисунке. После разведения производят заточку зубьев пилы. Для этого используют трехгранный или ромбический напильник с мелкой насечкой.
Заточку рекомендуется вести без сильных нажимов и без ускорения движения, чтобы зубья пилы не перегревались, так как перегрев приводит к уменьшению прочности зубьев. Точат зубья пилы, держа ее на коленях или упирая полотно пилы в край стола. В этом случае левой рукой поддерживают пилу, а правой держат напильник. При наличии тисков полотно пилы зажимают в них и работают обеими руками. Зубья точат поочередно через один.
Чтобы пила не раскачивалась, ее после заточки трех-четырех зубьев передвигают. Наточив зубья с одной стороны, пилу переворачивают и точат зубья с другой стороны. Поперечное сечение наточенного зуба представлено рисунке.
Для контроля качества разводки и заточки пилу поднимают зубьями вверх и на светлом фоне смотрят вдоль полотна. Вид правильно разведенных и наточенных зубьев показан на рисунке. Зубьев, резко выделяющихся из общего строя, быть не должно.
Понравился материал? Поделитесь ссылкой с друзьями в социальной сети:
Если вы нашли ошибку в тексте, пожалуйста, сообщите нам: выделите ее и нажмите: Ctrl + Enter!
Предыдущая статья:Ножовка Следующая статья:Работа ручной пилойrassadnik.com
