Устройство буронабивных свай с применением обсадных труб в Москве
Монтируем буронабивные сваи с обсадной трубой в Москве и Подмосковье
Предприятие «Арктик Гидро Строй» устанавливает в Москве и Московской области буронабивные фундаменты под все виды сооружений.
В условиях сложных рыхлых грунтов, где стенки скважины легко разрушаются, мы используем технологию буронабивных свай с обсадной трубой.
Что такое обсадная труба для буронабивных свай
Сваи буронабивные – бетонные армированные стержни, которые не доставляются на участок в готовом виде, а формируются прямо на месте: бурят скважины, в них помещают готовый каркас и заливают бетон. На плотном грунте укрепление стенок скважин не требуется. На умеренно рыхлом их укрепляют при помощи бентонитового (глинистого) раствора, которым осуществляется промывка.
На очень рыхлом грунте оптимальный вариант – устройство буронабивных свай с применением обсадных труб: одновременно с бурением в скважину опускают обсадную трубу.
После бурения, армирования и заливки бетона трубу иногда так и оставляют в земле: она продолжает служить каркасом для сваи и выполняет функцию гидроизоляции. Но везде, где возможно, извлекают: оборачиваемость обсадных труб – один из способов удешевить процесс возведения фундамента.
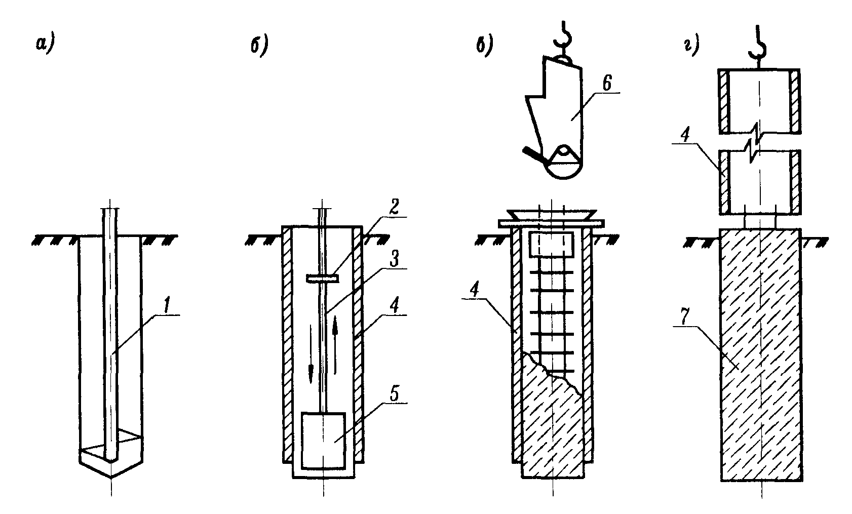
Последовательность монтажа буронабивных свай с обсадной трубой и ростверком:
- Геологические изыскания на месте работ, выбор оптимальной технологии.
- Расчет и проектирование свай.
- Разметка участка.
- Подгонка оборудования.
- Бурение скважины с одновременным погружением обсадной трубы. При большой глубине трубу наращивают, получается колонна.
- Удаление грунта из забоя (например, промывка).
- Армирование.
- Заливка бетона.
- Посекционное извлечение обсадной колонны.
- Формирование оголовка сваи.
- После монтажа всех свай – установка опалубки, армирование и заливка ростверка.
Мы монтируем буронабивные сваи более 10 лет
Мы поможем вам выбрать самый подходящий и экономичный вариант изготовления буронабивного фундамента.
Преимущества устройства буронабивных свай в обсадной трубе
Собственно обсадные трубы – технологическое решение для грунтов определенного типа. К его плюсам следует отнести оборачиваемость обсадных труб при устройстве буронабивных свай: в зависимости от характера грунта и вида самой трубы обсадной оборачиваемость может варьироваться от 5 до 300 циклов.
Кроме буронабивного строительства их можно также использовать для укрепления водяных и нефтегазовых скважин.
Преимущества самих буронабивных свай следующие:
- большая несущая способность позволяет возводить на таких фундаментах как легкие бревенчатые дома, так и городские многоэтажные. Все определяется параметрами свай;
- универсальность – для монтажа годятся любые грунты кроме скальных и крупнообломочных;
- подходят для устройства фундаментов на склонах;
- возможность устройства в городских условиях – отсутствие шума и вибрации позволяет работать без риска для окружающих сооружений и дискомфорта для людей;
- цена буронабивных свай с обсадной трубой относительно невысокая: для монтажа требуется меньше материала, чем для плитных и заглубленных ленточных фундаментов, не нужна тяжелая дорогостоящая техника для погружения готовых свай;
- все этапы монтажа свай доступны для контроля;
- можно использовать не только для устройства новых фундаментов, но и для укрепления старых оснований разных типов.

Завершенные объекты
Разновидности инвентарных обсадных труб для буронабивных свай
Обсадные трубы для буронабивных свай различаются конструктивно, по материалу изготовления и по геометрическим параметрам – высота колонны равна глубине сваи, диаметральное сечение трубы – сечению сваи.
По материалу бывают:
- из высоколегированной или черной стали;
- полипропиленовые;
- из полиэтилена низкого давления;
- из непластифицированного ПВХ;
- асбоцементные.
Для буронабивных свай чаще используются стальные, одностенные и двухстенные. У второго типа внутренняя стенка гладкая, а наружная усилена спиралевидными ребрами жесткости.
Поскольку область применения буронабивных свай практически не ограничена, сортамент обсадных труб тоже очень большой. Толщина стенки трубы соотносится с диаметром. Например, у обсадных труб для буронабивных свай диаметром 620 толщина стенки 4 см.
Диаметры обсадных труб для буронабивных свай и толщина стали:
- от 60 см (внешний диаметр) на 52 (внутренний) до 148/140 – 4 см;
- 180/170 и 190/180 – 5;
- от 200/188 до 250/238 – 6.
Особенности технологии устройства буронабивных свай с обсадной трубой
Стальные трубы выпускаются в виде отрезков от 1 до 6 м. Колонну наращивают преимущественно сварным методом или болтовым соединением. Если колонна составляется из секций разного диаметра, мы используем понижающие вставки.
Существует два способа погружения труб:
- ударный. Трубу забивают в землю, по мере опускания приваривая/присоединяя следующие секции;
- вращательный: скважины бурят на длину одного отрезка трубы, помещают секцию, бурят дальше.
Погружение, удерживание и извлечение труб выполняется при помощи обсадного ствола, зафиксированного у основания бурового оборудования и подключенного к его гидросистеме.
Обсадные трубы для буронабивных свай – ГОСТ и СНиП
- ГОСТ на обсадные трубы для свай стальные, регламентирующий условия производства и типоразмеры – 63280 и 53366 от 2009;
- асбоцементные трубы – 539-80 ГОСТ;
- параметры труб из пластмасс — 2248-001-84300500-2009 ГОСТ.
СНиП на буронабивные сваи в обсадных трубах 2.02.03-85. Согласно правилам, монтировать буронабивные сваи без укрепления можно только на тугопластичных и твердых грунтах при условии, что глубина погружения не больше 30 метров.
Вы можете заказать устройство буронабивных свай с применением обсадных труб под ключ у наших специалистов
Мы оказываем полный комплекс услуг и имеем опыт реализации объектов любой сложности.
Буронабивные скважины с обсадной трубой в Московской области? Обращайтесь к нам!
«Арктик Гидро Строй» изготавливает сваи и буронабивные фундаменты «под ключ». Работаем в Московской области, выезжаем в регионы.
Наши услуги:
- предварительная геологоразведка, исследования грунтов;
- проектирование и расчет фундаментов под любые сооружения;
- подготовка стройплощадки – подвод коммуникаций и временных дорог, устройство бытового городка и др.;
- строительное водопонижение;
- демонтаж фундаментов прежних объектов;
- буронабивные сваи по любой технологии – с обсадными трубами, промывкой глинистым раствором, сухим способом, полым шнеком;
- испытания свай – динамические, статические, на сплошность;
- монтаж железобетонных ростверков.
Наши преимущества:
- современная компактная техника – работаем, в том числе, в стесненных условиях;
- квалифицированный персонал и сертификат СРО – выполняем заказы разной степени сложности и ответственности, гарантируем качество;
- низкие цены – подбираем для клиента оптимальный вариант цена/качество;
- быстрые сроки;
- возможность оперативного выезда в другой регион.
Другие наши услуги:
Шпунтовое ограждение котлована в Шереметево, выполненное специалистами «АрктикГидроСтрой»
Шпунтовое ограждение в г. Москва, выполненное специалистами «АрктикГидроСтрой»
Шпунтовое ограждение котлована из шпунта Ларсена с распорами, выполненное специалистами «АрктикГидроСтрой»
Вдавливание шпунта, выполненное специалистами «АрктикГидроСтрой»
Вибропогружение трубы и шпунтовых свай при строительстве временнного моста, выполненное специалистами «АрктикГидроСтрой»
Оставьте заявку на консультацию технического специалиста
Узнайте сколько вы сможете сэкономить с намиУстройство бурозабивных свай под защитой обсадной трубы
Комплекс работ по устройству буронабивной сваи:
- бурение скважины с погружением обсадной трубы;
- опускание в скважину арматурного каркаса с его наращиванием;
- укладку бетонной смеси со сборкой и разборкой бетонолитной трубы и извлечением обсадной трубы;
- уровой установки для устройства очередной буронабивной сваи с перекладкой опорных плит и шпал.

Технологический процесс по устройству буронабивных свай с обсадным трубами отличается следующими особенностями:
- крепление стенки скважины осуществляется на всю глубину стальными инвентарными обсадными трубами; поэтому не требуется заполнение скважины глинистым раствором или водой с постоянным поддержанием необходимого их уровня;
- участие буровой установки необходимо в течение полного периода устройства буронабивной сваи, включая бетонирование, так как с помощью привода буровой установки производится уплотнение подводного бетона путем поднятия и опускания обсадной трубы, а также постепенное извлечение ее по мере укладки бетонной смеси в скважину.
Комплекс работ по устройству буронабивных свай включает следующие процессы:
- подготовку площадки под буровую установку для бурения очередной скважины с перекладкой железобетонных дорожных и опорных плит и шпал, с планировкой подсыпки, с перемещением и наводкой буровой установки по осям скважины;
- бурение скважины (в несвязных грунтах — разработка грейфером, в плотных грунтах — разработка с помощью долота с удалением разрыхленного грунта — грейфером) с опережающим погружением обсадной трубы и наращиванием ее секциями;
- очистку забоя с помощью желонки;
- установку арматурного каркаса в скважину с устройством при необходимости стыка его секций в вертикальном положении;
- сборку и опускание бетонолитной трубы;
- укладку бетонной смеси в скважину методом вертикально перемещающейся трубы (ВПТ).

Разработку скважины в несвязных грунтах производят грейфером. Скважина на всю глубину ограждается обсадной трубой, погружаемой в процессе извлечения грунта с опережением забоя на высоту не менее чем на 2 м. При достижении режущей фрезой проектной отметки погружение обсадной трубы должно быть прекращено во избежание разрыхления грунта в основании сваи.
Обсадная труба состоит из секций длиной 6; 4 м и при необходимости 2 м. Общую длину обсадной трубы принимают из расчета возвышения верха трубы над поверхностью рабочей площадки на 1 м для размещения и вертикального челночного движения стяжного хомута.
Сначала устанавливают по осям скважины ножевую секцию, представляющую собой стандартную секцию обсадной трубы длиной 6 м с зубчатой режущей фрезой, зажимают ее стяжным хомутом с гидравлическим приводом и погружают до отказа путем вдавливания с периодическим вращением. Затем на верх секции трубы насаживают кольцевой переходник для предохранения торца трубы от повреждения грейфером.
Далее грейфер поднимают в рабочее положение и начинают извлечение грунта из скважины до отметки, находящейся на 2 м выше низа обсадной трубы. Потом повторяют операцию заглубления обсадной трубы на возможную глубину в зависимости от группы грунта, после чего снова извлекают грунт из скважины грейфером, пока забой не достигнет на новом уровне отметки, превышающей на 2 м низ обсадной трубы.
После заглубления ножевой секции обсадной трубы на 5 м, когда возвышение ее над уровнем подсыпки составит 1 м, грейфер опускают на рабочую площадку, с верха обсадной трубы снимают переходник и производят наращивание обсадной трубы путем пристыковки на болтах следующей секции в вертикальном положении.
Обсадную трубу снова погружают до отказа, надевают переходник, поднимают грейфер в рабочее положение и продолжают разрабатывать скважину, чередуя в том же порядке погружение обсадной трубы и извлечение грунта грейфером.
По окончании разработки скважины забой очищают от бурового шлама с помощью желонки.
В это время необходимо проверить фактические размеры скважины, отметки устья, скважины и забоя, расположение скважины в плане, а также соответствие грунта основания данным инженерно-геологических изысканий.
Затем в скважину опускают арматурный каркас, состоящий (при высоте более 12 м) из двух секций. Стыковка секций арматурного каркаса производится путем перепуска рабочих стержней верхней секции относительно рабочих стержней нижней секции на 20 диаметров стержней с прихваткой электросваркой внахлестку. Для этого нижнюю секцию опускают в скважину до тех пор, пока место стыковки не достигнет устья скважины, и фиксируют в этом уровне с помощью поперечных стержней, закладываемых в каркас под кольцо жесткости и опираемых на верх обсадной трубы. После установки верхней секции и прихватки рабочих стержней внахлестку поперечные стержни удаляют, и арматурный каркас опускают на полную глубину скважины. Для обеспечения защитного слоя бетона к рабочим стержням каркаса в местах их перехвата кольцами жесткости с внешней стороны приваривают ограничители в виде скоб, располагаемых в плоскости стержней, или привязывают бетонные прокладки.
Секции арматурного каркаса перед опусканием в скважину должны быть тщательно очищены от ржавчины и грязи.
По окончании установки арматурного каркаса производят подготовительные работы перед бетонированием — сборку и опускание в скважину бетонолитной трубы. Звенья бетонолитной трубы укрупняют в секции длиной по 10 м с помощью разъемных хомутов. Стыковку секций бетонолитной трубы производят с применением тех же хомутов в вертикальном положении при опускании ее в скважину. При этом ранее опущенный участок бетонолитной трубы фиксируют над устьем скважины с помощью хомута, надеваемого на ее верх с опиранием на шпалы, уложенные на обсадную трубу. Верхним звеном бетонолитной трубы является приемный бункер с наружными огражденными площадками и лестницей. Бетонолитная труба должна быть установлена по оси скважины.
Бетонную смесь подают в приемный бункер из бадьи. Бетонолитную трубу устанавливают в скважине таким образом, чтобы ее низ оказался на 200 — 250 мм выше забоя скважины.
Перед бетонированием в устье бетонолитной трубы подвешивают пробку для изоляции бетонной смеси от воды. Первоначально заполняют бетонной смесью бункер и часть бетонолитной трубы над пробкой. Затем пробку извлекают и производят непрерывную подачу в бункер бетонной смеси из бадьи, приподнимая краном бетонолитную трубу по мере прохождения по ней бетонной смеси. Объем первой порции бетонной смеси назначается из условия заглубления низа бетонолитной трубы в уложенную смесь не менее чем на 0,8 м.
Низ бетонолитной трубы должен быть постоянно заглублен в уложенную смесь на 1 — 2 м. По мере бетонирования и подъема бетонолитной трубы ее укорачивают путем удаления очередного звена. Одновременно извлекают обсадную трубу и демонтируют ее по секциям.
Необходимые перерывы в бетонировании скважины, связанные со снятием секций обсадной и бетонолитной труб, демонтажом и обратной установкой бункера, должны быть менее сроков схватывания бетона.
При подъеме бетонолитной трубы ее демонтируют звеньями длиной 3 — 4 м с предварительным снятием и последующим присоединением бункера после удаления каждого звена.
Для удаления очередного звена бетонолитной трубы прекращают ее подъем, когда уровень смеси в трубе находится на 20 см ниже разъединяемого стыка. Часть бетонолитной трубы, расположенную ниже удаляемого звена, закрепляют с помощью хомута, опираемого на шпалы, уложенные на обсадную трубу. Удаляемое звено снимают вместе с бункером, опускают на площадку и отсоединяют от бункера. Затем бункер снова присоединяют к оставшейся части бетонолитной трубы.
С помощью гидравлического привода в целях уплотнения бетона колонна обсадных труб в процессе бетонирования совершает поступательно-вращательное движение с последовательным подъемом на 20 — 30 см и опусканием на 10 — 15 см. Поэтому извлечение обсадной трубы происходит постепенно.
Бетонную смесь, уложенную на высоту 3 м, уплотняют глубинными вибраторами.
Если уровень рабочей площадки находится ниже верха сваи (при сооружении безростверковых опор), бетонирование ведут до окончательного заполнения бетонной смесью скважины, удаляют загрязненный слой бетонной смеси, после чего устанавливают инвентарный кондуктор и бетонируют оголовок сваи.
При устройстве буронабивных свай с ростверками уровень рабочей площадки находится выше верха свай, т.е. верх свай размещен ниже устья скважины. В этом случае бетонирование ведут до отметки, превышающей на 0,5 м проектную отметку верха свай, полученную из расчета всплывания слоя шлама и последующей его срезки. При разработке котлована под ростверк лишняя часть бетона сваи вместе со шламом вырубается.
Устройство буронабивных свай с применением обсадной трубы на всю длину скважины необходимо вести в соответствии с «Руководством по устройству буронабивных свай большого диаметра», М., НИИОСП им. Герсеванова Госстроя СССР, 1977.
Чертеж буронабивной сваи
Буронабивные сваи с обсадной трубой
Буронабивные сваи
При строительстве любого здания достаточно важным моментом является правильный выбор типа фундамента. Во многом это зависит от особенностей почвы на участке строительства и плотности застройки. При большой вероятности сдвига грунта или при плотной застройке территории рекомендуется устанавливать фундамент из буронабивных свай в обсадных трубах.
Устройство буронабивных свай
Чтобы сделать правильный и качественный фундамент с использованием названной выше технологии, необходимо знать, что такое буронабивные сваи. Кстати, ранее мы рассказывали, как сделать буронабивные сваи своими руками.
Буронабивные сваи – это сваи, забитые по особой технологии, которая предполагает бурение скважины и ее последующую заливку бетонным раствором с обязательным армированием металлическими прутьями. При строительстве частных загородных домов на участках с преобладанием слабого осыпающегося грунта в скважине дополнительно обустраивают опалубку (узнайте больше о том, как сделать опалубку вокруг дома). Если грунт устойчивый и плотный, а риск осыпания стенок опалубки минимален, то опалубку можно не устанавливать. При строительстве жилых домов или других зданий в больших масштабах во внимание принимаются соответствующие нормы и правила, поэтому в качестве опалубки используются обсадные трубы. В любом случае буронабивная свая представляет собой армированное бетонное тело.
Чаще всего армирование конструкций выполняется каркасами заводского производства продольно-поперечного типа. Горизонтальные элементы выполнены из рифленой арматуры диаметром от 12 до 20 мм, для изготовления вертикальных перемычек используется гладкая арматура диаметром от 8 до 15 мм. Сборка каркаса осуществляется с использованием электродуговой сварки. Готовое изделие покрывают составом, который предотвращает образование очагов коррозии на поверхности металла.
Для создания бетонного тела используется бетон марки М200-М300. Особенностью таких смесей является морозостойкость до 200 циклов замерзания и оттаивания и высокий класс водонепроницаемости.
Отличительной особенностью буронабивных свай является отсутствие ограничений по нагрузке. Несущая способность опоры определяется габаритами сваи и составом грунта ( потребуется геологическое исследование грунта под фундамент).
Например, свая диаметром 10 см, установленная на гравелистом или песчаном грунте, способна нести нагрузку от 150 до 270 кг. Свая диаметром 50 см на аналогичном типе грунта выдерживает нагрузку от 5 до 9 тонн. При строительстве на участке с преобладанием мелкого водонасыщенного грунта одна свая диаметром 10 см может держать вес до 250 кг, в то же время свая диаметром 50 см способна противостоять нагрузке до 12 тонн.
В зависимости от конструкции буронабивные сваи делятся на два вида:
- Сваи цилиндрической формы. Ствол в этом случае имеет одинаковое сечение по всей длине.
- Сваи с расширенной опорной подошвой характеризуются большим диаметром трубы в нижней части. В этом случае конструкция отличается повышенной устойчивостью в грунте и большой грузонесущей способностью.
Разновидности буронабивных свай
к оглавлению ↑Особенности использования буронабивных свай
По технологии обустройства буронабивные сваи делятся на несколько видов:
- Опоры, формирующиеся без оболочки.

- Опоры с постоянной оболочкой.
- Опоры с извлекаемой оболочкой.
Первый вариант используют на плотных устойчивых грунтах, которые характеризуются тугопластичностью и твердостью. Чаще всего в таких местах риск осыпания грунта сводится к минимальному значению. Особое внимание следует уделить при этом общей протяженности сваи, она не должна превышать 30 метров.
Второй вид буронабивных свай подходит для строительства на глинистом и песчаном грунте или с преобладание супесей и высоким уровнем грунтовых вод. Советуем также ознакомиться с нашей статьей на тему: как построить фундамент на песчаном грунте.
Третий вариант идеален для проблемных грунтов с высоким риском осыпания стенок скважины. Установка обсадной трубы в этом случае предотвращает обрушение стенок и защищает полость от грунтовых вод. Буронабивные сваи с обсадной трубой устанавливают на местности, где имеют место оползневые грунтовые явления. Также названную технологию рекомендуется использовать в регионах, где грунт характеризуется сложным геологическим составом.
Оптимальным вариантов можно назвать фундамент на буронабивных сваях в условиях повышенной стесненности.
Способы погружения обсадной трубы
Обсадные трубы погружают в грунт несколькими способами:
- Ударное бурение предполагает погружение трубы в процессе бурения скважины. В зависимости от характеристик грунта труба может идти впереди забоя или после него. Наращивание обсадной трубы осуществляется по необходимости.
- Вращательное бурение предполагает первоначальное прохождение скважины на длину одной секции и последующую установку трубы. Далее выполняется бурение следующего участка по аналогичному принципу и установка дополнительной секции обсадной трубы.
Этот процесс мы детальнее рассматривали в статье «Бурение скважин под сваи: техника и технология».
Технология устройства буронабивных свай с использование обсадной трубы
Монтажные работы по обустройству буронабивных свай с обсадными трубами требует предварительной подготовки необходимого оборудования и материалов. В частности речь идет о следующем:
- Оборудование для бурения скважин.
- Автоматизированная бетономешалка.
- Глубинный вибратор для уплотнения бетонного раствора внутри обсадной трубы.
- Устройство, с помощью которого будет осуществляться погружение и извлечение обсадной трубы.
- Армирующий каркас из металлических прутьев (читайте также про армирование буронабивных свай).
- При необходимости деревянные доски, из которых можно соорудить желоб для подачи бетонного раствора внутрь обсадной трубы.
При недостаточном бюджете на строительство можно использовать ручные приспособления для бурения скважин и погружения обсадной трубы. Однако следует учесть, что в таком случае придется потратить много сил и времени.
Использование обсадной трубы
Все строительные процессы выполняются в несколько этапов. В случае с обустройством буронабивных свай все действия выполняются в определенной последовательности.
На первом этапе выполняется разметка свайного поля. Вначале определяют расположение угловых скважин, далее выполняют разметку торцевых стен. Чтобы правильно вывести прямой угол между стенами, можно воспользоваться правилом «египетского треугольника». В этом случае необходимо отмерить по одной грани 3 метра, по другой – 4 метра. Для получения угла 900 расстояние между этими точками должно составлять 5 метров. Также проверить правильность углов можно сверкой диагоналей, они должны быть равными.
Далее процесс предполагает доставку и установку оборудования, с помощью которого будет осуществляться бурение скважин.
Непосредственно процесс установки буронабивной сваи предполагает выполнение следующих действий:
- С помощью специального бурового оборудования бурят скважину заданной ширины и глубины.

- Используя другое оборудование, обсадную трубу погружают в грунт до определенной отметки. Если труба имеет недостаточную длину, то ствол наращивают аналогичным элементом. При этом в большинстве случаев используется резьбовое соединение.
- Грунт, осыпавшийся в полость трубы, извлекают.
- Внутрь обсадной трубы помещают заранее подготовленный каркас из арматурных прутьев.
- Полученную конструкцию набивают бетонной смесью с помощью специального подающего канала бетоносмесителя. Подача бетона осуществляется определенными порциями и сопровождается постоянной трамбовкой смеси. Это необходимо для удаления воздушных пузырьков из бетона.
- Завершающим процессом является посекционным извлечением обсадной трубы. В процессе подъема обсадной трубы происходит одновременное уплотнение бетонной массы благодаря ее возвратно-поступательным движениям.
Преимущественные моменты технологии
Установка буронабивных свай с извлекаемой обсадной трубой имеет несколько преимущественных моментов:
- Скважина быстро и качественно набивается бетонным раствором.

- Все проводимые мероприятия на любом этапе работ полностью безопасны.
- Буронабивная свая характеризуется достаточно высоким несущим потенциалом.
- Установка подобного вида опор может осуществляться в слабом грунте с высоким насыщением воды. При этом стенки скважины полностью защищены от осыпания грунта.
- Использование технологии с обсадными трубами позволяет четко контролировать рабочий процесс на всем его протяжении, а также сопоставлять проектные геологические и инженерные условия с реальными значениями. в частности речь идет о возможности контроля над процессом бурения при достижении плотных несущих слоев грунта.
- Подобная технология дает возможность в процессе бурения скважины доставать крупные камни и валуны.
- При обустройстве буронабивных свай с обсадными трубами вибрационные и динамические колебания почвы полностью исключаются.
- Эксплуатация опор, установленных по рассматриваемой технологии, возможна в любых климатических условиях.

Установка буронабивных свай
Установка буронабивных свай с использование обсадных труб является одной из высокоэффективных технологий. С ее помощью возводятся надежные, крепкие и долговечные конструкции.
Метки: Буронабивные сваиМонтаж буронабивных свай
В случае если почва на участке под застройку имеет склонность к пучению и подвижность в качестве фундамента используют свайную технологию. А в качестве надежного фиксирующего компонента используют трубы для буронабивных свай. Такие элементы представляют собой металлопрокат диаметром от 620 до 2500 мм. При этом трубные отрезки имеют специальное замковое соединение, что позволяет стыковать части металлических колонн в единую трубу нужной протяженности. Либо де для стыковки применяют технологию дуговой сварки.
Принцип формирования буронабивных свай
Буронабивная свая представляет собой углубленную в грунт скважину определенной протяженности (в зависимости от проектных данных, которые выводятся путем определения особенностей почвы и общего веса будущего здания).
Пробуренная скважина заполняется бетонной смесью, а в качестве формы для размещения бетона в скважине используется обсадная труба для буронабивных свай. На деле технология формирования опорных столбов под фундамент выглядит так:
- На отмеченное место устанавливают специальные буровые установки и приступают к бурению скважины;
- Затем в получившееся отверстие медленно вставляют трубу, стыкуя её по отдельным частям до получения обсадной колонны нужной длины.
- Из полости установленной трубы извлекают весь грунт, отслеживая уровень его увлажненности на предмет наличия плывунов в выработке или подземных источников, которые могут размывать сваю.
- Теперь приступают к заполнению обсадной колонны бетонным раствором. При этом раствор заливают не более чем на 1 м, после чего масса хорошо трамбуется.
- Следующий этап — медленный подъем трубы до тех пор, пока уровень бетона в нижней её части не будет достигать 40 см.
- В этой точке работ технология требует очередного этапа заполнения колонны раствором.
Таким образом происходит набивание всей пустоты в грунте бетонной смесью. - На отметке 1,5-2 метра от поверхности земли проводят армирование колонны (сваи). Для этого в скважину, заполненную бетонным раствором, вставляют армирующие стальные пруты, которые выступают над поверхностью сваи для будущего сцепления их с ростверком.
Важно: при том, что сечение скважины в любом случае больше сечения обсадной трубы, бетонная смесь при подъеме колонны. Заполняет собой все пустоты и надёжно сцепляется с землей при помощи бетонного молочка. Таким образом происходит надёжное заполнение всего периметра скважины бетоном.
Единственный минус такой технологии в том, что оператор не может контролировать плотность и качество утрамбованного раствора. К тому же имеется риск размывания бетонной смеси грунтовыми водами.
Важно: если при выемке земли из тела выработки обнаружены подвижные воды или плывуны, то с целью защиты сваи от воздействия подземных вод монтируют буронабивные сваи под защитой обсадной трубы.
То есть труба впоследствии не извлекается из грунта.
Вышеприведенная технология и принципы устройства буронабивных свай с применением обсадных труб имеет ряд преимуществ:
- Возможность монтировать опорные сваи под фундамент в ограниченном пространстве;
- Высокая скорость набивки скважины бетонной смесью;
- Возможность монтировать сваи, глубина которых может достигать 30 метров (а в некоторых случаях и до 60 метров) при диаметре до 3,5 метров с максимальной несущей способностью до 500 т.
- Возможность устройства фундаментов в грунтах, чрезмерно перенасыщенных подземными водами, а также при подводном строительстве (монтаж мостов и пр.).
- Исключение вибраций и колебаний почвы в месте монтажа свай.
- Кроме того, монтаж буронабивных свай с обсадной трубой позволяет защитить скважину от обрушивания грунта в полость под сваю.
Способы монтажа свай буронабивных
В зависимости от типа и особенности грунта буронабивные сваи без обсадной трубы и с обсадной колонной могут монтироваться разными способами:
- Сухой способ;
- Способ, в котором используют специальный глинистый раствор;
- Способ с использованием обсадной колонны.

В первом случае технология предполагает бурение скважин на глубину от 15 до 20 м по устойчивому грунту без излишних подземных вод по всей глубине скважины. Диаметр свай, монтируемых сухим способом, как правило, не превышает 1200 мм. При выполнении технологии сухого способа риск оползания грунта в полость скважины полностью исключен. Здесь почва сама держит стенки пробуренной скважины. Бурят тело скважины вращательным бурением при одновременной выемке земли. Затем в установленную трубу подаётся раствор, а труба вертикально перемещается и демонтируется секциями.
Второй метод , где применяется раствор на основе глин, идеально подходит для монтажа буронабивных свай по водонасыщенным грунтам. В этом случае глинистый раствор будет выступать в качестве фиксатора для отдельных слоев почвы в теле скважины. В качестве связующего вещества в этих целях используют определенный, приготовленный на месте бурения раствор бентонитовых глин, плотность которого составляет 1,15…1,3 г/см3.
Смесь подается при одновременном бурении скважины по пустотелой штанге буровой установки. Глинистый раствор встречает сопротивление грунта. Благодаря этому смесь начинает подниматься под давлением обратно, смазывая стенки скважин, и кратковременно цементирует стенки обработанного и пробуренного тела выработки. Этот способ позволяет монтировать буронабивные сваи без использования обсадной колонны.
Устройство скважины с обсадной трубой описано выше.
Важно: заполнение скважины бетонным раствором должно выполняться одноэтапно, без перерывов в работе. Иначе крепость и монолитность сваи будет находиться под сомнением. Кроме того стоит помнить, что если сваи располагаются на расстоянии 1,5 метра друг от друга, то бетонирование скважин проводят через одну. Делается это для того, чтобы не повредить соседние забетонированные колонны. Пропущенные скважины бетонируют вторым заходом.
Способы бурения скважин под сваиЧтобы осуществить набивной способ монтажа свай, профессионалы используют два метода бурения скважин:
- Вращательный;
- Ударный.

Первый способ используется при промышленном строительстве и в частном строительстве по упругим или твердым грунтам. Здесь буровая установка или простой шнек (в случае выполнения работ своими руками) вращательными движениями разрабатывает почву, поднимая её вверх по лопастям бура. Технология разработки скважины в этом случае выполняется гораздо быстрее по времени.
Ударный способ разработки скважины применяется по мягким песчаным грунтам. Здесь в качестве оборудования используется лебедка и стакан из отрезка трубы с острым нижним краем. При подъеме такого стакана и его резком опускании в почву острый нижний край трубы врезается в грунт, захватывая его. Затем стакан забивается ударным способом еще глубже. При полном или почти полном заполнении полости трубы землей стакан поднимают на поверхность и освобождают от грунта. Затем действия продолжаются до достижения нужной глубины скважины.
Важно: стоит отметить, что монтаж буронабивных свай достаточно трудоёмок, а поэтому используется в основном в промышленном строительстве.
Обсадные трубы для буронабивных свай: технология устройства и преимущества
На чтение 7 мин Просмотров 52 Опубликовано Обновлено
Для бетонирования свай в грунт погружают оболочки с раскрывающимся или съемным башмаком. Обсадные трубы для буронабивных свай оставляют в земле или извлекают по мере наполнения бетонным раствором. Технология не имеет ограничений в зависимости от плотности расположения построек в городе, в таких условиях оболочки заглубляют методом завинчивания.
Определение обсадной трубы
Осадные трубыДиаметр буронабивных стержней составляет 0,35 – 1,5 метра, длина достигает 30 метров, такой тип свай используется при высоких нагрузках и при глубоком расположении стабильных слоев почвы.
Технологию применяют в условиях:
- сосредоточенных горизонтальных и вертикальных нагрузок;
- на стройплощадках с непростой инженерной и геодезической обстановкой;
- в случае близко стоящих построек.
Бетонолитные трубы включают несколько секций со специальными стыками для надежного и быстрого соединения. Бетон в воронку загружают из автомобильного миксера или используют подающий электовибробункер с пневмоударным приспособлением. Использованный кокон вынимают из скважины после наполнения бетоном заданного участка по высоте.
Бетон в стволе скважины уплотняют вибратором, который крепят на входящей воронке обсадного корпуса. После полной заливки головку сваи формируют с помощью инвентарного станка и утепляют зимой. Устанавливают наклонные и вертикальные элементы по технологии буронабивных оболочек. Стационарные капсулы погружают дрейтеллером (поворотной платформой), а извлекаемые участки заглубляют и извлекают с применением вибропогружателя.
Разновидности набивки свай
Этапы сборки буронабивной сваиУстраивают сваи по принципу стены в земле.
Ствол роют гидравлическим грейфером под защитой бентонитовой смеси. Бетон не расслаивается в бетонолитных коллекторах и не смешивается с грунтовой жидкостью, которая бывает в проходах при бурении. Бетонирование проходит равномерно до низа скважины, при этом шлам выходит на поверхность.
Популярные методы набивки свайных стоек:
- бурение в инвентарной обсадной капсуле;
- ударно-канатное забуривание;
- способ непрерывного полого шнека;
- завинчивание обсадной оболочки;
- вибропогружение полой колонны;
- выемка грунта под защитой глинистой смеси.
Уширение внизу сваи делают взрывным методом. В готовой скважине монтируют обсадную оболочку так, чтобы она не доходила до дна прохода на 1,2 – 1,5 метра. В трубу опускают заряд требуемой массы, и детонатор выводят наверх к подрывному устройству. Взрывают после заполнения скорлупы бетоном, в результате смесь попадает в расширенную нижнюю сферу. Остаток пространства наполняют бетонной смесью до верха.
Устройство буронабивных свай с применением обсадных труб
Инвентарный метод представляет собой применение обсадных капсул, заглубляемых в процессе и вынимаемых после бетонирования.
Различают разновидности установки:
- пневмотрамбованные стержни;
- вибротрамбованные сваи;
- частоттрамбованные стойки.
Пневмотрамбование используют для оснований с высокой отметкой стояния почвенной жидкости. Смесь подается в обсадную капсулу под давлением воздуха небольшими долями. Работа ведется через пневмонагрнетательный шлюзовой отсек с клапанами вверху и внизу для дозированной подачи.
Вибротрамбование применяют в сухих местах. В землю методом вибрации погружают обсадной корпус, который на конце снабжают съемным наконечником из железобетона. Вибропогружатель снимают, а трубу на 0,8 – 1,0 м наполняют раствором и опускают трамбующую штангу. В результате наконечник вдавливается в грунт и получается расширенная пята. Обсадная капсула извлекается после наполнения бетоном.
Частотрамбование использует обсадку с чугунным башмаком внизу. В полости колонны ставят арматурный каркас и погружают ее под ударами молота до нужной отметки. При движении труба уплотняет почвенные слои. Оболочку постепенно поднимают вибрационным методом параллельно с подачей смеси, при этом молот по-прежнему уплотняет бетон, а башмак вдавливается в землю внизу прохода.
Предназначение обсадки в скважинах
Обсадная труба предотвращает осыпание грунтаТруба сдерживает землю от осыпания внутрь скважины, поэтому правильно выбирают материал стенок. Подбор зависит от диаметра сваи и физико-механических характеристик почвы. Часто материалом служит пластик или металл. Устройство буронабивных свай с применением обсадных труб используется в любых геологических ситуациях, нестабильных почвах.
Обсадку применяют в условиях:
- неожиданного изменения толщины плотных слоев;
- при прорезке массивов насыпей с валунами или остатками бетона, камней внутри;
- в городе.

Оболочки до 10 метров ставят для средней и малой нагрузки (малоэтажное строительство). Не применяют буронабивной метод в вечной мерзлоте, при обнаружении агрессивных почвенных жидкостей или действии на ствол промышленных отходов в земле.
Сваи с набивкой длиной до 50 метров устраивают во влажных землях. Обсадки ставят в неоднородных текучих почвах с вкраплениями супесей и песчаных пластов. Обсадные сваи до 60 метров монтируют с помощью мощного оборудования на любых грунтах. В сейсмических регионах технология обсадки предусматривает металлические оболочки, которые не вынимают после нагрузки бетоном.
Преимущества буронабивной технологии
Основным положительным моментом является соотношение стоимости и надежности свайного основания. Фундамент представляет собой дешевую и ровную опору, выдерживающую до 10 т давления. Обсадные стержни ставят в любом грунте, а продолжительность эксплуатации составляет около века.
Выделяют преимущества буронабивной технологии с установкой обсадных оболочек:
- скорость монтажа;
- круглогодичное строительство с использованием добавок в бетон против замерзания;
- вкручивание свай и наполнение бетоном в плотно застроенном регионе мегаполиса без применения тяжелых агрегатов;
- низкий уровень шума при работе.

При вибрации и завинчивании используют модифицированные технические механизмы, которые компактно транспортируют и удобно размещают в условиях небольшой строительной площадки.
Правила выполнения работ
Бурение под защитой обсадной трубыПри установке обсадки и выполнения набивки используют нормативные документы СП 24.13.330, СП 28.13.330, СП 45.13.330, а также руководства отраслевого и ведомственного значения. Для конкретного случая составляют проект производства работ (ППР), типовые карты технологии на процесс.
Сверлильной установкой со шнеком или буром делают проход выбранного сечения и протяженности. Устье скважины обсаживают стальным участком трубы. Уширение внизу выполняют, если это есть в проекте. Проводят документальное освидетельствование скважины после окончания бурения. В ствол ставят арматурную конструкцию для повышения несущей способности. Бетонирование проводят способом перемещающейся оболочки, используют бетонолитные трубы. Они бывают прямого или телескопического вида.
Бетон готовят на месте в бетономешалках или привозят с завода. Смесь постоянно перелопачивают до момента укладки в конструкцию, но не больше 12 часов, иначе уменьшится прочность.
Рекомендации по работе на разных грунтах
Перед установкой обсадки делают скважину в грунте, поэтому качество почвы учитывают при выборе агрегатов и типа буронабивной сваи.
Металлические и пластиковые капсулы ставят в земляных слоях:
- торфяные грунты;
- глинистые почвы, глины;
- пески, супеси;
- суглинки.
В обводненных пластах, неустойчивых, плывучих, просадочных грунтах бетонирование проводится не позже 8 часов после выполнения скважины. В устойчивых категориях земель нормативное время начала бетонирования продлевают до 24 часов.
Если возможность укладки смеси в обозначенные сроки отсутствует, нельзя начинать бурение до появления благоприятных обстоятельств. Сверление начатых проходов останавливают на уровне 2 м до проектной отметки и расширения не выполняют.
Выбор диаметра изделий
Для определения сечения сваи применяют таблицы из ГОСТ 10.060.0-1995 и ГОСТ 19.804.2-1979. В них приводится соотношение диаметра стержня, площади его опоры, расчетной несущей способности. Помимо этого есть сведения об объеме бетона, числе вертикальных арматурных элементов и расходе металлического прута на каркас.
Вначале проводят сбор нагрузок от строящегося объекта, высчитывают фактическое давление на свайный фундамент. После этого рассчитывают требуемую площадь основания стойки. Но по таблицам квадратуру пяты подирают без расчета.
Принимают во внимание тот факт, что фактическая нагрузка с применением необходимых коэффициентов не должна быть больше расчетного сопротивления грунта. Подбирают соответствующее значение в таблице и определяют диаметр сваи. Сложные расчеты проводят инженерные работники, к которым обращается заказчик для нахождения параметров фундамента.
youtube.com/embed/YBvDBqTzSg0?wmode=transparent&fs=1&hl=en&modestbranding=1&iv_load_policy=3&showsearch=0&rel=1&theme=dark» frameborder=»0″ allowfullscreen=»»/>Устройство буронабивных свай с применением обсадных труб смета
Главная » Разное » Устройство буронабивных свай с применением обсадных труб сметаСмета на устройство буронабивных свай
Монтаж буронабивных свай – это категория строительных работ, а значит, на них обязательно составляется смета, которая основывается на видах выполняемых работ.
То есть, чтобы правильно составить смету на устройство буронабивных свай, надо знать, как производятся монтажные работы по установке свайных основ под здание.
Именно на основе технологических процессов, которые обозначаются в сметных документах с указанием расценок, определяется общая стоимость строительных работ.
Предлагаем для составления сметы на устройство буронабивных свай обратиться к нам в компанию ООО «ПСК Основания и Фундаменты».
Наши сметчики с большим опытом работы помогут составить любую смету на устройство фундамента на буронабивных сваях.
Что такое смета на строительные работы
Это документ, в который вносятся показатели затрат и расходов на сооружение объекта, где также указывается основная прибыль производителя работ. Именно на основе данного документа решаются вопросы финансирования, размер капитальных вложений в объект, формируются цены на приобретаемые стройматериалы. Если строительная организация арендует необходимую технику или оборудование, то это также отражается в сметах. То есть, в ней отражаются общие затраты подрядчика, куда входят: заработанная плата персонала, стоимость приобретаемых материалов, эксплуатационные расходы по технике, хоз. расходы, налоги, потребление энергоносителей и прочее.
Это важно!
В этом документе четко отражаются не только финансовые затраты, но и материальные и нематериальные, к примеру, количество человеко-дней, машино-часов.Виды смет
Существует четыре метода расчета смет.
- Ресурсный. Он основан на текущих ценах и тарифах. Базой для этих смет выступает нормативные значения расхода стройматериалов.
- Ресурсно-индексный. Это первый вариант плюс индексы, по которым определяются текущие цены. Индекс – это коэффициент, который определяет разницу текущих цен и базисных. Последние – это нормативы выполняемых работ по СНиПам, разработанным несколько лет назад (2001 года). В них указаны старые расценки, чтобы их привести к настоящему времени, используются индексы, повышающие нормативные показатели.
- Базисно-индексный. Это система двух индексов: текущих и прогнозируемых, которые соотносятся с базисным уровнем. Нередко вместо базиса используется уровень предшествующего периода. В смете каждую строку умножают на индекс.
- Базисно-компенсационный. Здесь за основу берется базисные нормативы. Но в процессе строительства они изменяются за счет точных цен, к примеру, на те же материалы.
Нужен фундамент из буронабивных свай? обращайтесь в нашу компанию — рассчитаем и установим!
Опыт работы — более 10 лет.

Мы занимаемся устройством оснований всех типов и порекомендуем вам самый подходящий вариант в зависимости от условий строительства. А также в кратчайшие сроки составим проект и предоставим вам готовую смету.
Составление смет
Смета на фундамент из буронабивных свай обычно составляется по базисно-индексному методу. Хотя необходимо отметить, что со стороны государственных органов никаких препятствия для использования друг видов нет. Специалисты же считают, что две первые разновидности более перспективные.
Полезный совет:
В состав сметы входит три раздела: прямые затраты, накладные расходы и сметная прибыль.Прямые затраты
Это основная часть бюджета, выделенного на сооружение буронабивных свай. Здесь все материальные расходы: бетон, обсадные трубы, если таковые планируется использовать, стальная арматура для каркаса столбов и ростверка, материалы для опалубки, эксплуатационные расходы на использование техники, зарплата рабочих и так далее. То есть, сюда вкладываются все расходные материалы, без которых не завершить работу по обустройству фундаментной конструкции.
При этом надо учитывать, каким способом будет утилизироваться грунт из скважин. Он будет отвозиться автотранспортом в отвалы, тут же складироваться и разравниваться. Во втором случае придется подключать экскаватор или грейдер, что тоже отражается в смете. Не забываем, что при монтаже буронабивных свай используется труд большого количества рабочих: бурильщики, бетонщики, арматурщики, плотники.
Их заработанная плата также отражается в сметной документации.
Накладные расходы
Это часть затрат, которая используется для организации строительного процесса, для его управления и содержания. Рассчитывают ее обычно, как процент от основных затрат. В сметах для устройства буронабивных свай в обсадной трубе или без таковой используется именно этот вариант расчета, потому что сооружение фундаментов – объем небольшой.
В крупномасштабном строительстве накладные расходы рассчитываются с учетом строительных норм подрядчика, в которые закладываются показатели по видам проводимых строительных операций. На примере закладки буронабивных свай это могут быть отдельно буровые работы, бетонные и вспомогательные.
Сметная прибыль
Эту часть сметы нередко называют плановыми накоплениями. Она никак не связана с двумя другими разделами, имеется в виду чисто материальная зависимость. Здесь зависимость финансовая, да к тому же процентная. Отталкиваются при расчете накоплений от суммы двух предыдущих разделов.
По сути, это прибыль строительной организации, которую она может расходовать по своему усмотрению. И если расходная часть – это строгая отчетность бюджета, но плановые накопления подотчетны только руководству компании. Процент устанавливается государственными нормами или нормативами самой строительной организацией. Главное – согласовать процент с заказчиком.
Кроме буронабивных мы изготавливаем буроинъекционные, буросекущие и бурокасательные сваи
Все работы — под ключ!
По желанию заказчика мы полностью выполним все работы под ключ, начиная с геологических исследований и заканчивая устройством ростверка.
Сметные расчеты
Прямые затраты рассчитываются на основе нескольких СНиПов. Один из нормативных документов, который в основном определяет объем проводимых работ и зарплату – это сборник №5 ГЭСН 81-02-05-2001 – «Свайные работы». В нем четко оговорено, сколько бетона надо будет залить по объему в скважину, если она сооружается на разных типах грунтов.
При этом точно обозначаются диаметры скважин. К примеру:
- на гравийно-галечном грунте в скважину диаметром 630 мм помещается 1,22-1,34 м³ бетонного раствора из расчета на 1 м³ пространства ямы;
- на глиняных грунтах этот показатель будет равен 1,02-1,4;
- на известковом 1,1;
- на иловых грунтах 1,02;
- пески – 1,1-1,24;
- почва 1,02-1,18 в зависимости от концентрации растительности и их корней.
В этой таблице 53 раздела, в которых указываются различные типы грунтов с точным обозначением объема бетона. При составлении сметы фундаментов из буронабивных свай выбирается тип грунта, который заложен в проекте здания. Его определяют геологическими изысканиями еще до начала изготовления проекта. Именно объем используемого бетона чаще всего становится основным затратным показателем.
Это важно!
При сооружении буронабивных свай диаметр скважины берется из расчета внешнего диаметра обсадной трубы.Если обсадная труба по проекту не извлекается из грунта, что уже снижает объем проводимых операций, но увеличивает материальные затраты, связанные со стоимостью труб, то объем заливаемого бетонного раствора берется, как стандартный неизменяемый показатель.
А именно 1,02 м³ на 1 м³ пространства скважины.
Объем же самой скважины определяется умножением площади ее сечения на глубину заложения. К примеру, из того же диаметра в 630 мм, а это 0,63 м, можно найти площадь сечения по формуле площади круга: S=πD²/4=3,14×0,63²/4=0,31 м². Этот показатель умножается на глубину скважины, пусть будет 5 м, значит, объем одной скважины 0,31х5=1,51 м³. Умножаем на табличный расход бетона, то есть: 1,51х1,02=1,54 м³. Этого объема раствора потребуется, чтобы заполнить скважину. Теперь надо полученное значение умножить на количество буронабивных свай, которые заложены в проекте. Это и есть полный объем необходимого бетона. Умножая его на стоимость 1 м³ готового бетона, получается расход финансов только на покупку раствора.
При этом необходимо учитывать заработанную плату бетонщиков. Этот показатель сформирован в 2001 году, поэтому для него используется индекс (коэффициент) 0,9. И это всего лишь расчет одной позиции из прямых затрат.
Смета на буронабивные сваи с текущими ценами на материалы дает возможность точно показать общие капитальные вложения в сооружении основы здания.
Кроме бетона придется также рассчитать необходимое количество арматуры. К тому же устройство данного вида фундаментов связано с буровыми работами, которые определены сборником №4 вышеобозначенного нормативного документа. В нем четко показано, какими способами надо проводить бурение, на каких грунтах, используется глиняный раствор с водой или только вода. В зависимости от выбранного оборудования и технологии бурения увеличивается или уменьшается расценка.
Подводя итог, надо отметить, что точность расчета сметы зависит от трех позиций:
- Полная детализация сметы фундамента на буронабивных сваях.
- Точный расчет и учет объемов проводимых строительных операций.
- Точное определение расценок и индексов и правильное их применение.
Надо отметить, что для создания сметы на буронабивные сваи (пример расчета объема бетонного раствора был показан) – это дело не дилетантов. Здесь требуется профессиональный подход.
Поэтому рекомендуем обращаться для составления сметы в нашу компанию ООО «ПСК Основания и Фундаменты».
Наши сметчики с большим опытом работы помогут сметить фундамент на буронабивных сваях.
Оставьте заявку на консультацию технического специалиста
Узнайте сколько вы сможете сэкономить с намиinzhenery.ru
NormaCS ~ Ответы экспертов ~ По какому сборнику ТЕР правильно установить обсадные трубы, используемые как несъемная опалубка?
1. Прошу разъяснить как правильно применить расценки на монтаж свай с не извлекаемыми обсадными трубами?
Сначала монтируются не извлекаемые обсадные трубы, а после устраивается свая.
В состав работ ТЕР 4-2-10-3 Крепление скважины глубиной до 50 м при шнековом бурении трубами: со сварным соединением, группа грунтов по устойчивости 1 входит: проработка скважины под обсадную колонну. комплектами оборудования шнекового бурения на базе автомобиля глубина бурения до 50 м, грузоподъемность мачты 3,7 т. То есть скважина разработана и закреплена обсадными трубами.
Что правильнее применить для бетонирования и установки каркаса :
Вариант1.
ТЕР 5-1-29-3 Устройство железобетонных буронабивных свай с бурением скважин вращательным (шнековым) способом в грунтах 2 группы диаметром до 600 мм, длина свай до 12 м в состав которой входит бурение ствола (установки буровые), установка каркаса и бетонирование.
Вариант 2. Применить ТЕР5-1-61-1 установка в скважину арматурного каркаса и ТЕР5-1-62-1 Бетонирование свай.
В техчасти к 4 сборнику п. 1.4.1. сказано: «ТЕР части 4 учитывают затраты на бурение скважин буровыми установками, специально предназначенными для этих целей и серийно выпускаемыми промышленностью. При бурении станками индивидуального (несерийного) изготовления затраты на бурение скважин следует определять по индивидуальным сметным нормам». В пункте 1.4.3. сказано: «ТЕР предусматривают бурение скважин до следующих глубин: при шнековом бурении — 30 м;».
Вариант 3. Применять ТЕР 5-1-29-3 Устройство железобетонных буронабивных свай с бурением скважин вращательным (шнековым) способом в грунтах 2 группы диаметром до 600 мм, длина свай до 12 м в состав которой входит бурение ствола (установки буровые), установка каркаса и бетонирование.
В Техчасти к 5 сборнику п. 1.5.18. сказано: «В расценках табл. 05-01-028 и 05-01-029 затраты на установку и извлечение обсадных труб не учтены и их следует определять дополнительно».
По какому сборнику правильно установить обсадные трубы, которые используются как несъемная опалубка?
2. Что подразумевается под Комплектами оборудования шнекового бурения на базе автомобиля глубина бурения до 50 м, грузоподъемность мачты 3,7 т? Это буровая установка на базе автомобиля?
www.normacs.info
Пример сметы. Фундамент из буронабивный свай и ростверка
Фундамент является основанием любого здания, и от того, как он будет запроектирован и построен, зависит срок эксплуатации данного сооружения. Технические параметры фундамента зависят от величины нагрузки, климатического района, класса ответственности сооружения, расчетной температуры наружного воздуха, полного расчетного значения снеговой нагрузки, скоростного напора ветра, типа местности, зоны влажности.
Все данные должны быть учтены в проектном решении.
В смете предусмотрено строительство склада с фундаментом из буронабивных свай и ростверка, площадь ангара с размерами 40х12 м составляет 480 м2. Основание здания – фундамент из двадцати буронабивных свай диаметром 400 мм и монолитного ростверка шириной 600 мм высотой 800 мм по периметру проектируемого строения. На территории выполняют выемку грунта экскаватором и его вывоз автосамосвалами, геодезическую разметку под бурение скважин. Скважины бурят шнеком на глубину 5 м. Сваи и ростверк армированы арматурой класса 3, класс бетона В20. Армирование выполняется отдельными стержнями. Вертикальные и горизонтальные арматурные стержни в местах пересечения соединяют на сварке.
В бетонное основание ростверка крепятся анкерные блоки длиной 0,8 м с резьбой М24, с шайбами и гайками, в которые вставляются и крепятся металлические колонны для и дальнейшего монтажа металлоконструкций сооружения.
Для ростверка бетонные работы выполняют после его армирования и возведения опалубки. Под ростверком оставляют воздушный зазор и заполняют его плитами «Пеноплекса М35» толщиной 150 мм. После схватывания бетона и снятия опалубки поверхности ростверка обмазывают горячим битумом за 2 раза, и оклеивают гидроизоляционным материалом. Вокруг здания выполняется отмостка шириной 1,2 м.
Рис.1 Укладка «Пеноплекса М35» и создание зазора под ростверком
Рис.2 Откачка дренажных вод из котлована
Рис.3 Буронабивные сваи
Рис.4 Устройство опалубки и ростверка
Рис.5 Возведение металлоконструкций после устройства фундамента
Раздел 1. Демонтаж плит, планировка
1. Демонтаж дорожных покрытий из сборных прямоугольных железобетонных плит, (площадь плит 500 м2, h=14 см)
2. Перевозка бетонных и ж/б изделий, стеновых и перегородочных материалов (кирпич, блоки, камни, плиты и панели), лесоматериалов круглых и пиломатериалов автомобилями бортовыми грузоподъемностью до 15 т, на расстояние до 1 км IV класс груза
3.
Разгрузочные работы при автомобильных перевозках: изделий из сборного железобетона, бетона, керамзитобетона массой от 3 до 6 т
4. Планировка площадей бульдозерами мощностью: 132 кВт (180 л.с.)
Раздел 2. Сваи
5. Устройство железобетонных буронабивных свай с бурением скважин вращательным (шнековым) способом в грунтах: 3 группы диаметром до 600 мм, длина свай до 12 м
6. Шнек типа ПБС-65 длиной 1300 мм
7. Бетон тяжелый, класс В15 (М200)
8. Бетон тяжелый, класс В7,5 (М100)
9. Горячекатаная арматурная сталь гладкая класса А-I, диаметром 8 мм
10. Горячекатаная арматурная сталь периодического профиля класса А-III, диаметром 12 мм
11. Разработка грунта с погрузкой на автомобили-самосвалы экскаваторами с ковшом вместимостью: 0,65 (0,5-1) м3, группа грунтов 3
12. Перевозка грузов автомобилями-самосвалами грузоподъемностью 10 т, работающих вне карьера, на расстояние: до 15 км I класс груза
13. Работа на отвале, группа грунтов: 2-3
Раздел 3.
Ростверк
14. Разработка грунта с погрузкой на автомобили-самосвалы экскаваторами с ковшом вместимостью: 0,65 (0,5-1) м3, группа грунтов 3
15. Перевозка грузов автомобилями-самосвалами грузоподъемностью 10 т, работающих вне карьера, на расстояние: до 15 км I класс груза
16. Работа на отвале, группа грунтов: 2-3
17. Уплотнение грунта пневматическими трамбовками, группа грунтов: 3-4
18. Устройство основания под фундаменты: песчаного
19. Смесь песчано-гравийная природная
20. Изоляция изделиями из пеноплекса повнхности ростверка
21. Плиты теплоизоляционные из экструзионного вспененного полистирола ПЕНОПЛЭКС-35
22. Устройство монолитных железобетонных ростверков
23. Бетон тяжелый, класс В15 (М200)
24. Горячекатаная арматурная сталь периодического профиля класса А-III, диаметром 12 мм
25. Установка стальных конструкций, остающихся в теле бетона
26. Установка анкерных болтов: в готовые гнезда с заделкой длиной до 1 м
27. Засыпка вручную песком пазух ростверка, группа грунтов: 1
28.
Смесь песчано-гравийная природная
Раздел 4. Гидроизоляция
29. Гидроизоляция фундаментов: горизонтальная оклеечная в 2 слоя
30. Гидроизоляция боковая обмазочная битумная в 2 слоя по выровненной поверхности бутовой кладки, кирпичу, бетону
Раздел 5. Пандусы
31. Устройство фундаментных плит железобетонных: плоских
32. Бетон тяжелый, крупность заполнителя 20 мм, класс В25 (М350)
33. Горячекатаная арматурная сталь периодического профиля класса А-III, диаметром 10 ммРаздел 6. Заземление металлокаркаса
34. Шнековое бурение скважин станками типа ЛБУ-50 глубиной бурения до 10 м в грунтах группы: 3 (вертикальные заземлители)
35. Трубы стальные сварные оцинкованные, диаметр условного прохода 100 мм, толщина стенки 5 мм (вертикальные заземлители)
36. Шина заземления по: установленным конструкциям (горизонтальные заземлители)
37. Сталь полосовая 50х5 мм, марка Ст3сп (горизонтальные заземлители)
38. Засыпка вручную траншей, пазух котлованов и ям, группа грунтов: 1Раздел 7.
Основание под полы
39. Разработка грунта с погрузкой на автомобили-самосвалы экскаваторами с ковшом вместимостью: 0,65 (0,5-1) м3, группа грунтов 3
40. Перевозка грузов автомобилями-самосвалами грузоподъемностью 10 т, работающих вне карьера, на расстояние: до 15 км I класс груза
41. Работа на отвале, группа грунтов: 2-3
42. Уплотнение грунта пневматическими трамбовками, группа грунтов: 3-4
43. Устройство основания под полы: песчаного
44. Устройство основания под полы: щебеночного
45. Устройство бетонной подготовки
46. Бетон тяжелый, класс В7,5 (М100)
Загрузка в формате .xls
Загрузить в формате .xml и .gsf для импорта во все версии ПК Гранд-смета
smetagrand.ru
Устройство буронабивных свай с применением обсадных труб в Москве
Монтируем буронабивные сваи с обсадной трубой в Москве и Подмосковье
Предприятие «Арктик Гидро Строй» устанавливает в Москве и Московской области буронабивные фундаменты под все виды сооружений.
В условиях сложных рыхлых грунтов, где стенки скважины легко разрушаются, мы используем технологию буронабивных свай с обсадной трубой.
Что такое обсадная труба для буронабивных свай
Сваи буронабивные – бетонные армированные стержни, которые не доставляются на участок в готовом виде, а формируются прямо на месте: бурят скважины, в них помещают готовый каркас и заливают бетон. На плотном грунте укрепление стенок скважин не требуется. На умеренно рыхлом их укрепляют при помощи бентонитового (глинистого) раствора, которым осуществляется промывка.
На очень рыхлом грунте оптимальный вариант – устройство буронабивных свай с применением обсадных труб: одновременно с бурением в скважину опускают обсадную трубу.
После бурения, армирования и заливки бетона трубу иногда так и оставляют в земле: она продолжает служить каркасом для сваи и выполняет функцию гидроизоляции. Но везде, где возможно, извлекают: оборачиваемость обсадных труб – один из способов удешевить процесс возведения фундамента.
Последовательность монтажа буронабивных свай с обсадной трубой и ростверком:
- Геологические изыскания на месте работ, выбор оптимальной технологии.
- Расчет и проектирование свай.
- Разметка участка.
- Подгонка оборудования.
- Бурение скважины с одновременным погружением обсадной трубы. При большой глубине трубу наращивают, получается колонна.
- Удаление грунта из забоя (например, промывка).
- Армирование.
- Заливка бетона.
- Посекционное извлечение обсадной колонны.
- Формирование оголовка сваи.
- После монтажа всех свай – установка опалубки, армирование и заливка ростверка.
Мы монтируем буронабивные сваи более 10 лет
Мы поможем вам выбрать самый подходящий и экономичный вариант изготовления буронабивного фундамента.
Преимущества устройства буронабивных свай в обсадной трубе
Собственно обсадные трубы – технологическое решение для грунтов определенного типа.
К его плюсам следует отнести оборачиваемость обсадных труб при устройстве буронабивных свай: в зависимости от характера грунта и вида самой трубы обсадной оборачиваемость может варьироваться от 5 до 300 циклов.
Кроме буронабивного строительства их можно также использовать для укрепления водяных и нефтегазовых скважин.
Преимущества самих буронабивных свай следующие:
- большая несущая способность позволяет возводить на таких фундаментах как легкие бревенчатые дома, так и городские многоэтажные. Все определяется параметрами свай;
- универсальность – для монтажа годятся любые грунты кроме скальных и крупнообломочных;
- подходят для устройства фундаментов на склонах;
- возможность устройства в городских условиях – отсутствие шума и вибрации позволяет работать без риска для окружающих сооружений и дискомфорта для людей;
- цена буронабивных свай с обсадной трубой относительно невысокая: для монтажа требуется меньше материала, чем для плитных и заглубленных ленточных фундаментов, не нужна тяжелая дорогостоящая техника для погружения готовых свай;
- все этапы монтажа свай доступны для контроля;
- можно использовать не только для устройства новых фундаментов, но и для укрепления старых оснований разных типов.

Завершенные объекты
Разновидности инвентарных обсадных труб для буронабивных свай
Обсадные трубы для буронабивных свай различаются конструктивно, по материалу изготовления и по геометрическим параметрам – высота колонны равна глубине сваи, диаметральное сечение трубы – сечению сваи.
По материалу бывают:
- из высоколегированной или черной стали;
- полипропиленовые;
- из полиэтилена низкого давления;
- из непластифицированного ПВХ;
- асбоцементные.
Для буронабивных свай чаще используются стальные, одностенные и двухстенные. У второго типа внутренняя стенка гладкая, а наружная усилена спиралевидными ребрами жесткости.
Поскольку область применения буронабивных свай практически не ограничена, сортамент обсадных труб тоже очень большой. Толщина стенки трубы соотносится с диаметром. Например, у обсадных труб для буронабивных свай диаметром 620 толщина стенки 4 см.
Диаметры обсадных труб для буронабивных свай и толщина стали:
- от 60 см (внешний диаметр) на 52 (внутренний) до 148/140 – 4 см;
- 180/170 и 190/180 – 5;
- от 200/188 до 250/238 – 6.
Особенности технологии устройства буронабивных свай с обсадной трубой
Стальные трубы выпускаются в виде отрезков от 1 до 6 м. Колонну наращивают преимущественно сварным методом или болтовым соединением. Если колонна составляется из секций разного диаметра, мы используем понижающие вставки.
Существует два способа погружения труб:
- ударный. Трубу забивают в землю, по мере опускания приваривая/присоединяя следующие секции;
- вращательный: скважины бурят на длину одного отрезка трубы, помещают секцию, бурят дальше.
Погружение, удерживание и извлечение труб выполняется при помощи обсадного ствола, зафиксированного у основания бурового оборудования и подключенного к его гидросистеме.
Обсадные трубы для буронабивных свай – ГОСТ и СНиП
- ГОСТ на обсадные трубы для свай стальные, регламентирующий условия производства и типоразмеры – 63280 и 53366 от 2009;
- асбоцементные трубы – 539-80 ГОСТ;
- параметры труб из пластмасс — 2248-001-84300500-2009 ГОСТ.
СНиП на буронабивные сваи в обсадных трубах 2.02.03-85. Согласно правилам, монтировать буронабивные сваи без укрепления можно только на тугопластичных и твердых грунтах при условии, что глубина погружения не больше 30 метров.
Вы можете заказать устройство буронабивных свай с применением обсадных труб под ключ у наших специалистов
Мы оказываем полный комплекс услуг и имеем опыт реализации объектов любой сложности.
Буронабивные скважины с обсадной трубой в Московской области? Обращайтесь к нам!
«Арктик Гидро Строй» изготавливает сваи и буронабивные фундаменты «под ключ». Работаем в Московской области, выезжаем в регионы. Наши услуги:
- предварительная геологоразведка, исследования грунтов;
- проектирование и расчет фундаментов под любые сооружения;
- подготовка стройплощадки – подвод коммуникаций и временных дорог, устройство бытового городка и др.
; - строительное водопонижение;
- демонтаж фундаментов прежних объектов;
- буронабивные сваи по любой технологии – с обсадными трубами, промывкой глинистым раствором, сухим способом, полым шнеком;
- испытания свай – динамические, статические, на сплошность;
- монтаж железобетонных ростверков.
Наши преимущества:
- современная компактная техника – работаем, в том числе, в стесненных условиях;
- квалифицированный персонал и сертификат СРО – выполняем заказы разной степени сложности и ответственности, гарантируем качество;
- низкие цены – подбираем для клиента оптимальный вариант цена/качество;
- быстрые сроки;
- возможность оперативного выезда в другой регион.
Другие наши услуги:
Оставьте заявку на консультацию технического специалиста
Узнайте сколько вы сможете сэкономить с намиarcticgs.ru
I. ОБЩАЯ ЧАСТЬ И ОБЛАСТЬ ПРИМЕНЕНИЯ
УСТРОЙСТВО БУРОНАБИВНЫХ СВАЙ
С ПРИМЕНЕНИЕМ БУРОВОЙ УСТАНОВКИ «КАТО»
Технологическая карта разработана на
основе методов научной организации труда и действующих технических требований к
производству работ по устройству буронабивных свай.
Карта предназначается для использования при составлении проектов производства работ и организации труда по сооружению фундаментов на буронабивных сваях или фундаментной части безростверковых опор мостов с применением буровой установки «Като» модели 30ТНС-VS (рис. 1). Эта модель, в отличие от выпущенной ранее, дает возможность отклонять стрелу бурового агрегата на время установки и наращивания секций обсадных труб и опускания в скважину арматурного каркаса. Это позволяет исключить непроизводительную трату времени на перемещение буровой установки при производстве указанных операций со снятием и установкой выносных опор и стяжного хомута для вывода стрелы из зоны работ над скважиной. Все приводы буровой установки «Като» имеют гидравлическое управление.
Технологическая карта учитывает опыт
устройства буронабивных свай с применением буровой установки «Като»
организациями треста «Мостострой-1» на строительстве мостов через р.
Сызранку в
пос. Новоспасское, через р. Сейм у г. Конотопа и подпорных стен филиала
Центрального музея В. И. Ленина в г. Киеве с диаметрами свай соответственно
1,2; 1,5 и 1,7 м и длиной от 18 до 25 м при глубине бурения 20 — 30 м.
Технологическая карта предусматривает устройство буронабивных свай в наиболее распространенных геологических условиях — несвязных грунтах. График и калькуляция составлены из расчета затрат рабочего времени на бурение скважин в грунтах I группы. Затраты рабочего времени и материально-технических ресурсов, предусмотренные технологической картой, рассчитаны на устройство буронабивных свай диаметром 1,5 м длиной 24,5 м при глубине бурения скважин 29 м (рис. 2). Разница между глубиной бурения скважины и длиной свай обусловлена устройством подсыпки грунта, превышающей на 1 м уровень воды в водотоке, наличием ростверка высотой 2,5 м и положением верха ростверка на 1 м ниже уровня воды в водотоке.
Рис.
1. Схема буровой установки «Като»
30ТНС-VS:
1 — кабина; 2 - ходовая часть; 3 — выносные опоры; 4 — стрела; 5 - механизм поступательно-вращательного движения; 6 — грейфер; 7 - обсадная труба; 8 — силовой агрегат
Рис. 2. Конструкция буронабивных свай фундамента опоры моста:
1 — буронабивные сваи; 2 — арматурный каркас; 3 — кольца жесткости арматурного каркаса; 4 — ростверк
При наличии постоянного водотока с
глубиной, не позволяющей применить плавсредства, организация рабочей площадки
предусматривает устройство подсыпки (от берега в русло) для проезда буровой
установки с уширениями к местам сооружения опор. Пропуск воды при этом
осуществляют через отверстие временного моста или трубы. Благодаря такой
организации рабочей площадки технология производства работ по устройству
буронабивных свай в различных условиях (постоянный водоток, водоносные грунты с
незаводненной поверхностью и сухие несвязные грунты) остается одной и той же.
Это значительно расширяет область применения настоящей технологической карты.
Карта охватывает следующий комплекс работ по устройству буронабивной сваи:
— бурение скважины с погружением обсадной трубы;
— опускание в скважину арматурного каркаса с его наращиванием;
— укладку бетонной смеси со сборкой и разборкой бетонолитной трубы и извлечением обсадной трубы;
— перемещение буровой установки для устройства очередной буронабивной сваи с перекладкой опорных плит и шпал.
Перед выполнением процессов, предусмотренных технологической картой, необходимо осуществить следующие работы по организации рабочей площад
files.stroyinf.ru
| На главную | База 1 | База 2 | База 3 |
| Поиск по реквизитамПоиск по номеру документаПоиск по названию документаПоиск по тексту документа |
Искать все виды документовДокументы неопределённого видаISOАвиационные правилаАльбомАпелляционное определениеАТКАТК-РЭАТПЭАТРВИВМРВМУВНВНиРВНКРВНМДВНПВНПБВНТМ/МЧМ СССРВНТПВНТП/МПСВНЭВОМВПНРМВППБВРДВРДСВременное положениеВременное руководствоВременные методические рекомендацииВременные нормативыВременные рекомендацииВременные указанияВременный порядокВрТЕРВрТЕРрВрТЭСНВрТЭСНрВСНВСН АСВСН ВКВСН-АПКВСПВСТПВТУВТУ МММПВТУ НКММПВУП СНЭВУППВУТПВыпускГКИНПГКИНП (ОНТА)ГНГОСТГОСТ CEN/TRГОСТ CISPRГОСТ ENГОСТ EN ISOГОСТ EN/TSГОСТ IECГОСТ IEC/PASГОСТ IEC/TRГОСТ IEC/TSГОСТ ISOГОСТ ISO GuideГОСТ ISO/DISГОСТ ISO/HL7ГОСТ ISO/IECГОСТ ISO/IEC GuideГОСТ ISO/TRГОСТ ISO/TSГОСТ OIML RГОСТ ЕНГОСТ ИСОГОСТ ИСО/МЭКГОСТ ИСО/ТОГОСТ ИСО/ТСГОСТ МЭКГОСТ РГОСТ Р ЕНГОСТ Р ЕН ИСОГОСТ Р ИСОГОСТ Р ИСО/HL7ГОСТ Р ИСО/АСТМГОСТ Р ИСО/МЭКГОСТ Р ИСО/МЭК МФСГОСТ Р ИСО/МЭК ТОГОСТ Р ИСО/ТОГОСТ Р ИСО/ТСГОСТ Р ИСО/ТУГОСТ Р МЭКГОСТ Р МЭК/ТОГОСТ Р МЭК/ТСГОСТ ЭД1ГСНГСНрГСССДГЭСНГЭСНмГЭСНмрГЭСНмтГЭСНпГЭСНПиТЕРГЭСНПиТЕРрГЭСНрГЭСНсДИДиОРДирективное письмоДоговорДополнение к ВСНДополнение к РНиПДСЕКЕНВиРЕНВиР-ПЕНиРЕСДЗемЕТКСЖНМЗаключениеЗаконЗаконопроектЗональный типовой проектИИБТВИДИКИМИНИнструктивное письмоИнструкцияИнструкция НСАМИнформационно-методическое письмоИнформационно-технический сборникИнформационное письмоИнформацияИОТИРИСОИСО/TRИТНИТОсИТПИТСИЭСНИЭСНиЕР Республика КарелияККарта трудового процессаКарта-нарядКаталогКаталог-справочникККТКОКодексКОТКПОКСИКТКТПММ-МВИМВИМВНМВРМГСНМДМДКМДСМеждународные стандартыМетодикаМетодика НСАММетодические рекомендацииМетодические рекомендации к СПМетодические указанияМетодический документМетодическое пособиеМетодическое руководствоМИМИ БГЕИМИ УЯВИМИГКМММНМОДНМонтажные чертежиМос МУМосМРМосСанПинМППБМРМРДСМРОМРРМРТУМСанПиНМСНМСПМТМУМУ ОТ РММУКМЭКННАС ГАНБ ЖТНВННГЭАНДНДПНиТУНКНормыНормы времениНПНПБНПРМНРНРБНСПНТПНТП АПКНТП ЭППНТПДНТПСНТСНЦКРНЦСОДМОДНОЕРЖОЕРЖкрОЕРЖмОЕРЖмрОЕРЖпОЕРЖрОКОМТРМОНОНДОНКОНТПОПВОПКП АЭСОПНРМСОРДОСГиСППиНОСНОСН-АПКОСПОССПЖОССЦЖОСТОСТ 1ОСТ 2ОСТ 34ОСТ 4ОСТ 5ОСТ ВКСОСТ КЗ СНКОСТ НКЗагОСТ НКЛесОСТ НКМОСТ НКММПОСТ НКППОСТ НКПП и НКВТОСТ НКСМОСТ НКТПОСТ5ОСТНОСЭМЖОТРОТТПП ССФЖТПБПБПРВПБЭ НППБЯПВ НППВКМПВСРПГВУПереченьПиН АЭПисьмоПМГПНАЭПНД ФПНД Ф СБПНД Ф ТПНСТПОПоложениеПорядокПособиеПособие в развитие СНиППособие к ВНТППособие к ВСНПособие к МГСНПособие к МРПособие к РДПособие к РТМПособие к СНПособие к СНиППособие к СППособие к СТОПособие по применению СППостановлениеПОТ РПОЭСНрППБППБ-АСППБ-СППБВППБОППРПРПР РСКПР СМНПравилаПрактическое пособие к СППРБ АСПрейскурантПриказПротоколПСРр Калининградской областиПТБПТЭПУГПУЭПЦСНПЭУРР ГазпромР НОПРИЗР НОСТРОЙР НОСТРОЙ/НОПР РСКР СМНР-НП СРО ССКРазъяснениеРаспоряжениеРАФРБРГРДРД БГЕИРД БТРД ГМРД НИИКраностроенияРД РОСЭКРД РСКРД РТМРД СМАРД СМНРД ЭОРД-АПКРДИРДМРДМУРДПРДСРДТПРегламентРекомендацииРекомендацияРешениеРешение коллегииРКРМРМГРМДРМКРНДРНиПРПРРТОП ТЭРС ГАРСНРСТ РСФСРРСТ РСФСР ЭД1РТРТМРТПРУРуководствоРУЭСТОП ГАРЭГА РФРЭСНрСАСанитарные нормыСанитарные правилаСанПиНСборникСборник НТД к СНиПСборники ПВРСборники РСН МОСборники РСН ПНРСборники РСН ССРСборники ценСБЦПСДАСДАЭСДОССерияСЗКСНСН-РФСНиПСНиРСНККСНОРСНПСОСоглашениеСПСП АССП АЭССправочникСправочное пособие к ВСНСправочное пособие к СНиПСправочное пособие к СПСправочное пособие к ТЕРСправочное пособие к ТЕРрСРПССНССЦСТ ССФЖТСТ СЭВСТ ЦКБАСТ-НП СРОСТАСТКСТМСТНСТН ЦЭСТОСТО 030 НОСТРОЙСТО АСЧМСТО БДПСТО ВНИИСТСТО ГазпромСТО Газпром РДСТО ГГИСТО ГУ ГГИСТО ДД ХМАОСТО ДОКТОР БЕТОНСТО МАДИСТО МВИСТО МИСТО НААГСТО НАКССТО НКССТО НОПСТО НОСТРОЙСТО НОСТРОЙ/НОПСТО РЖДСТО РосГеоСТО РОСТЕХЭКСПЕРТИЗАСТО САСТО СМКСТО ФЦССТО ЦКТИСТО-ГК «Трансстрой»СТО-НСОПБСТПСТП ВНИИГСТП НИИЭССтП РМПСУПСССУРСУСНСЦНПРТВТЕТелеграммаТелетайпограммаТематическая подборкаТЕРТЕР Алтайский крайТЕР Белгородская областьТЕР Калининградской областиТЕР Карачаево-Черкесская РеспубликаТЕР Краснодарского краяТЕР Мурманская областьТЕР Новосибирской областиТЕР Орловской областиТЕР Республика ДагестанТЕР Республика КарелияТЕР Ростовской областиТЕР Самарской областиТЕР Смоленской обл. ТЕР Ямало-Ненецкий автономный округТЕР Ярославской областиТЕРмТЕРм Алтайский крайТЕРм Белгородская областьТЕРм Воронежской областиТЕРм Калининградской областиТЕРм Карачаево-Черкесская РеспубликаТЕРм Мурманская областьТЕРм Республика ДагестанТЕРм Республика КарелияТЕРм Ямало-Ненецкий автономный округТЕРмрТЕРмр Алтайский крайТЕРмр Белгородская областьТЕРмр Карачаево-Черкесская РеспубликаТЕРмр Краснодарского краяТЕРмр Республика ДагестанТЕРмр Республика КарелияТЕРмр Ямало-Ненецкий автономный округТЕРпТЕРп Алтайский крайТЕРп Белгородская областьТЕРп Калининградской областиТЕРп Карачаево-Черкесская РеспубликаТЕРп Краснодарского краяТЕРп Республика КарелияТЕРп Ямало-Ненецкий автономный округТЕРп Ярославской областиТЕРрТЕРр Алтайский крайТЕРр Белгородская областьТЕРр Калининградской областиТЕРр Карачаево-Черкесская РеспубликаТЕРр Краснодарского краяТЕРр Новосибирской областиТЕРр Омской областиТЕРр Орловской областиТЕРр Республика ДагестанТЕРр Республика КарелияТЕРр Ростовской областиТЕРр Рязанской областиТЕРр Самарской областиТЕРр Смоленской областиТЕРр Удмуртской РеспубликиТЕРр Ульяновской областиТЕРр Ямало-Ненецкий автономный округТЕРррТЕРрр Ямало-Ненецкий автономный округТЕРс Ямало-Ненецкий автономный округТЕРтр Ямало-Ненецкий автономный округТехнический каталогТехнический регламентТехнический регламент Таможенного союзаТехнический циркулярТехнологическая инструкцияТехнологическая картаТехнологические картыТехнологический регламентТИТИ РТИ РОТиповая инструкцияТиповая технологическая инструкцияТиповое положениеТиповой проектТиповые конструкцииТиповые материалы для проектированияТиповые проектные решенияТКТКБЯТМД Санкт-ПетербургТНПБТОИТОИ-РДТПТПРТРТР АВОКТР ЕАЭСТР ТСТРДТСНТСН МУТСН ПМСТСН РКТСН ЭКТСН ЭОТСНэ и ТЕРэТССЦТССЦ Алтайский крайТССЦ Белгородская областьТССЦ Воронежской областиТССЦ Карачаево-Черкесская РеспубликаТССЦ Ямало-Ненецкий автономный округТССЦпгТССЦпг Белгородская областьТСЦТСЦ Белгородская областьТСЦ Краснодарского краяТСЦ Орловской областиТСЦ Республика ДагестанТСЦ Республика КарелияТСЦ Ростовской областиТСЦ Ульяновской областиТСЦмТСЦО Ямало-Ненецкий автономный округТСЦп Калининградской областиТСЦПГ Ямало-Ненецкий автономный округТСЦэ Калининградской областиТСЭМТСЭМ Алтайский крайТСЭМ Белгородская областьТСЭМ Карачаево-Черкесская РеспубликаТСЭМ Ямало-Ненецкий автономный округТТТТКТТПТУТУ-газТУКТЭСНиЕР Воронежской областиТЭСНиЕРм Воронежской областиТЭСНиЕРрТЭСНиТЕРэУУ-СТУказУказаниеУказанияУКНУНУОУРврУРкрУРррУРСНУСНУТП БГЕИФАПФедеральный законФедеральный стандарт оценкиФЕРФЕРмФЕРмрФЕРпФЕРрФормаФорма ИГАСНФРФСНФССЦФССЦпгФСЭМФТС ЖТЦВЦенникЦИРВЦиркулярЦПИШифрЭксплуатационный циркулярЭРД |
| Показать все найденныеПоказать действующиеПоказать частично действующиеПоказать не действующиеПоказать проектыПоказать документы с неизвестным статусом |
| Упорядочить по номеру документаУпорядочить по дате введения |
files.stroyinf.ru
СТО 43.99.30 Производство работ по изготовлению буронабивных…
Действующий
Документ [ /22/1/86/ ]: СТО 43.99.30 Производство работ по изготовлению буронабивных свай с применением обсадных труб
1. ОБЛАСТЬ ПРИМЕНЕНИЯ
1.1. Типовая технологическая карта составлена на один из вариантов производства работ по устройству буронабивных свай в водонасыщенных мелких песках и илах с применением обсадных труб и извлечением грунта.
1.2. Типовые технологические карты предназначены для использования при разработке проектов производства работ (ППР), проектов организации строительства (ПОС), другой организационно-технологической документации, а также с целью ознакомления рабочих и инженерно-технических работников с правилами производства работ.
1.3. На базе типовых технологических карт (ТТК) в составе ППР (как обязательные составляющие проекта производства работ) разрабатываются технологические карты на выполнение отдельных видов работ.
1.4. Все технологические карты разрабатываются по рабочим чертежам проекта и регламентируют средства технологического обеспечения, правила выполнения технологических процессов при возведении, реконструкции зданий и сооружений.
1.5. Нормативной базой для разработки технологических карт являются: СНиП, СН, СП, ЕНиР, производственные нормы расхода материалов, местные прогрессивные нормы и расценки, нормы затрат труда, нормы расхода материально-технических ресурсов.
1.6. Типовая технологическая карта, как правило, составляется по рабочим чертежам типовых проектов зданий, сооружений, отдельных видов работ на строительные процессы, части зданий и сооружений. При отсутствии таковых возможно составление ТТК на какой-то определенной вид специальных работ.
1.8. Состав и степень детализации материалов, разрабатываемых в проекте производства работ, устанавливаются соответствующей подрядной строительно-монтажной организацией, исходя из специфики и объема выполняемых работ.
1.9. Проект производства работ (в том числе и технологическая карта, как часть ППР) утверждается руководителем генеральной подрядной строительно-монтажной организации, а по производству монтажных и специальных работ — руководителем соответствующей субподрядной организации по согласованию с генеральной подрядной строительно-монтажной организацией.
1.10. Буронабивные сваи используются для ограждения стен котлованов вблизи зданий и сооружений, на плотно застроенных территориях, а также в качестве несущих конструкций для фундаментов малоэтажных зданий, опор мостов и других инженерных сооружений.
1.11. Выбор вида буронабивных свай и технологии изготовления определяется по результатам инженерно-геологических изысканий, которые должны обеспечить комплексное изучение инженерно-геологических условий района (площадки, участка, трассы) проектируемого строительства, дать прогноз возможных изменений инженерно-геологических условий в сфере взаимодействия проектируемых объектов с геологической средой.
1.12. Изыскания для свайных фундаментов должны обеспечивать получение данных, необходимых для расчетов фундаментных конструкций по I и II группам предельного состояния, и, как минимум, следующих характеристик: плотность и крупность песчаных грунтов, число пластичности, влажность, показатель текучести и плотность глинистых грунтов в пределах всей изучаемой толщи грунтов; прочностные характеристики (удельное сцепление и угол внутреннего трения) грунта, залегающего непосредственно под нижними концами сваи, и угол внутреннего трения грунтов, примыкающих к боковой поверхности свай; модуль деформации грунтов, залегающих под нижними концами свай в пределах сжимаемой толщи.
Изыскания должны быть выполнены таким образом, чтобы были изучены все разновидности грунтов, встречающиеся на площадке строительства в пределах исследуемой толщи, и общее количество данных для каждого инженерно-геологического элемента было достаточно для их статистической обработки в соответствии с ГОСТ 20522-96.
1.13. Технический отчет по результатам инженерно-геологических изысканий для проектирования свайных фундаментов должен содержать:
— схематический план здания с указанием поперечных и продольных граничных осей, расположения скважин, точек зондирования, мест испытания грунтов, опытных работ, линий профилей;
— геолого-литологическое описание строительной площадки и инженерно-геологические разрезы, привязанные к осям здания;
— сведения о нормативных и расчетных характеристиках грунтов каждого инженерно-геологического элемента активной зоны;
— сведения о максимальной глубине промерзания грунтов площадки;
— характеристику гидрогеологических условий площадки, включая данные о количестве и положении горизонтов подземных вод, источниках их питания, связи с ближайшими водоемами, направлении потоков, мест разгрузки, степени агрессивности подземных вод, характере их агрессивности — природной или в результате инфильтрации в грунт производственных или сточных вод, прогноз изменения уровней подземных вод в процессе эксплуатации здания;
— материалы лабораторных, полевых исследований грунтов и опытных работ;
— рекомендации по антикоррозийной защите свай.
Все характеристики грунтов должны приводиться в отчете с учетом прогноза возможных изменений (в процессе строительства и эксплуатации здания) инженерно-геологических и гидрогеологических условий площадки.
1.14. Инженерно-геологические изыскания для строительства должны выполняться в порядке, установленном действующими законодательными и нормативными актами Российской Федерации, субъектов Российской Федерации, в соответствии с требованиями СНиП 11-02-96 «Инженерные изыскания для строительства. Основные положения», СП 11-105-97 «Инженерно-геологические изыскания для строительства».
1.15. В условиях, когда строительная площадка сложена водонасыщенными неоднородными глинистыми грунтами текучей консистенции с прослойками песков и супесей, рекомендуется устраивать буронабивные сваи с креплением стенок скважин обсадными трубами.
1.16. Технология устройства буронабивных свай в водонасыщенных грунтах включает следующие основные операции:
— установка бурильно-крановой машины и погружение обсадной трубы;
— извлечение грунта из обсадной трубы с помощью бурового снаряда;
— установка в скважину внутри обсадной трубы арматурного каркаса;
— бетонирование скважины и извлечение обсадной трубы.
Рисунок 1. Технологическая схема устройства буронабивных свай с применением обсадных труб:
а — установка кондуктора и забуривание скважины; б — погружение обсадной трубы; в — проходка скважины; г — наращивание следующего звена обсадной трубы; д — зачистка забоя скважины; е — установка арматурного каркаса; ж — заполнение скважины бетонной смесью и извлечение обсадной трубы; 1 — рабочий орган для бурения скважины; 2 — скважина; 3 — кондуктор; 4 — буровая установка;
5 — обсадная труба; 6 — арматурный каркас; 7 — бетонолитная труба; 8 — вибробункер
1.17. Обсадную трубу допускается оставлять в грунте только в обоснованных проектом случаях, когда исключена возможность применения других решений конструкции фундаментов.
1.18. По способу бурения для такой технологии устройства буронабивных свай чаще всего применяются установки вибробурения, которыми бурение скважин осуществляют погружением обсадной трубы. Труба погружается под действием виброимпульсов.
1.19. При необходимости технологией работ может быть предусмотрено устройство уширения в нижней части скважины для увеличения площади опирания сваи на грунт. Его можно осуществить специальными уширителями, втрамбовыванием бетонной или щебеночной смеси в дно скважины.
1.20. По своей надежности буронабивные сваи практически не уступают забивным сваям. Прочность буронабивной сваи усиливают арматурным каркасом. Кроме того, арматура служит связующим звеном между буронабивной сваей и железобетонным ростверком, превращая в единое целое надземную и подземную части фундамента. Арматурный каркас также служит гарантией от возможного разрыва фундамента силами морозного пучения. При установке каркаса следует принять меры, не допускающие его сдвига.
1.21. Бетон, применяемый для заполнения скважины, обязательно должен быть «тяжелым», то есть при его приготовлении нужно применять «тяжелые» заполнители — кварцевый песок, гравий или щебень из прочных горных пород. Бетонирование каждой буронабивной сваи должно быть непрерывным, перерывы между укладкой отдельных порций бетона не должны быть более одного часа.
1.22. Нагружать фундамент из буронабивных свай можно только после полного схватывания бетона.
1.23. Устройство буронабивных свай в обсадной трубе с извлечением грунта, практически, можно осуществлять в любых условиях, поэтому такая технология доминирует в передовых зарубежных строительных фирмах.
1.24. Буронабивные сваи являются фактически опорами, воспринимающими вертикальные и горизонтальные нагрузки, а также моментные воздействия. Поэтому они должны также отвечать всем требованиям, предъявляемым к железобетонным конструкциям типа колонн, согласно СНиП 2.03.01-84 «Бетонные и железобетонные конструкции».
1.25. Все работы по устройству буронабивных свай осуществляют в соответствии с требованиями действующих нормативных документов СНиПы: 11-02-96, 3.01.03-84, 2.02.01-83*, 2.02.03-85, 3.02.01-87.
2. ОРГАНИЗАЦИЯ И ТЕХНОЛОГИЯ ВЫПОЛНЕНИЯ РАБОТ
2.1. В соответствии со СНиП 3.01.01-85* «Организация строительного производства» до начала выполнения строительно-монтажных (в том числе подготовительных) работ на объекте заказчик обязан получить в установленном порядке разрешение на выполнение строительно-монтажных работ. Выполнение работ без указанного разрешения запрещается.
2.2. Перед началом производства работ по устройству буронабивных свай необходимо выполнить работы по подготовке строительной площадки:
2.2.1. Уточнение расположения надземных и подземных инженерных коммуникаций в пределах расположения свайного поля. Отключение и перенос их из рабочей зоны, если это предусмотрено проектом производства работ.
2.2.2. Уточнение расположения наружных граней существующих фундаментов зданий.
2.2.3. Согласование с органами государственного надзора, местной администрацией схем движения транспорта и пешеходов (с обеспечением безопасных подъездов и подходов к действующим предприятиям, зданиям и сооружениям), технологию производства работ (с выделением опасных зон, границ и осей подземных сооружений и коммуникаций).
dokipedia.ru
Устройство буронабивных свай. | Устройство свайных фундаментов.
1.5.1. Сваи, изготавливаемые в грунте — буронабивные, в том числе буросекущиеся, выполняют из бетона, железобетона или при специальном обосновании — из цементно-песчаного раствора.
1.5.2. Сваи, устраиваемые без использования обсадных труб, применяют в связных маловлажных грунтах, когда можно осуществлять бурение без крепления стенок скважин.
В водонасыщенных грунтах проходку скважин для устройства свай проводят либо под защитой обсадных труб, либо под защитой глинистого или полимерного буровых растворов, которые создают избыточное давление в скважине, препятствуя разрушению ее стенок.
1.5.3. Работы по устройству буронабивных и буросекущихся свай типа БСИ осуществляют станками вращательного и ударно-канатного бурения.
1.5.4. Применяемые при устройстве свай типа БСИ инвентарные обсадные трубы должны состоять из отдельных секций, причем стыки ниже уровня подземных вод должны быть герметичными.
1.5.5. При применении буронабивных свай типа БСВо, устраиваемых с уширением и закреплением стенок неизвлекаемыми обсадными трубами, рекомендуется использовать отечественные установки вращательного и ударно-канатного бурения.
1.5.6. При применении буронабивных и буросекущихся свай типа БСС, устраиваемых без закрепления стенок скважин, рекомендуется использовать установки вращательного бурения.
1.5.7. Бурение скважин с применением обсадных труб должно осуществляться без опережающего забоя.
При бурении в обводненных песчаных грунтах с прослойками плывуна, заполняющего полость обсадной трубы, следует осуществлять подачу в нее воды для поддержания расчетного уровня грунтовых вод избыточным напором не менее 4,0 м.
В процессе бурения скважин под сваи следует отмечать провалы инструмента. При фиксировании провала необходимо остановить работы и сообщить авторскому надзору.
1.5.8. Выбуренный грунт должен грузиться непосредственно в автотранспорт или перегружаться автопогрузчиком в автотранспорт и вывозиться за пределы строительной площадки.
1.5.9. После завершения проходки скважины производится зачистка забоя от шлама механическим способом, а при опирании свай на скальные грунты зачистка забоя может выполняться дополнительно гидравлическим способом.
В сухих скважинах разрыхленный грунт может быть уплотнен трамбованием. В водонасыщенных грунтах допускается проводить такое уплотнение путем сбрасывания трамбовки (массой не менее 5,0 т при диаметре скважины 1,0 м и более, и массой 3,0 т при диаметре скважины менее 1,0 м). Трамбование грунта в скважине необходимо производить до величины «отказа», не превышающей 2,0 см за последние пять ударов.
Затем должна быть осуществлена проверка соответствия фактической глубины скважины проектной с допуском ±100 мм, но с достижением проектных грунтов под нижним концом сваи.
1.5.10. При бурении скважины под защитой глинистого раствора его Уровень в процессе бурения, очистки и бетонирования скважины должен быть выше уровня подземных вод не менее чем на 0,5 м.
Уровень бурового полимерного раствора в скважине в процессе ее бурения, очистки и бетонирования должен быть выше уровня подземных вод на величину, равную 10 % от длины сваи, но не менее чем на 2 м. При этом обсадка скважины не исключает требования о необходимости поддерживать уровень раствора над поверхностью грунтовых вод.
1.5.11. Состав глинистого раствора назначается лабораторией в зависимости от состава проходимых грунтов. Содержание песка в глинистом растворе не должно быть более 10 %. В процессе бурения надлежит производить периодическую проверку основных показателей глинистого раствора: вязкости, плотности и содержания песка.
Состав полимерных растворов подбирается строительными лабораториями с обязательным соблюдением условия обеспечения вязкости раствора в пределах 35 — 80 сек/литр по вискозиметру Марша (меньшее значение вязкости соответствует глинистым грунтам, а большее — пескам).
1.5.12. Избыточное давление (напор) воды разрешается использовать для крепления поверхности скважин при бурении в глинистых водонасыщенных грунтах при условии их расположения не ближе 40 м от существующих зданий и сооружений.
Избыточное давление (напор) для крепления стенок скважин как в глинистых, так и в песчаных водонасыщенных грунтах, допускается использовать при бурении их с применением полимерных буровых растворов, изготавливаемых с использованием сертифицированных загустителей на основе полиакриламида. При этом расстояние от устраиваемой скважины до существующих зданий и сооружений должно быть не менее 5 м, а верхняя часть скважин должна иметь кондуктор-обсадку длиной не менее 2,5 м.
1.5.13. Забой скважин при бурении должен доводиться до проектных отметок. Если нельзя преодолеть препятствия, встретившиеся в процессе бурения выше проектной отметки ее забоя, решение о возможности использования скважин для устройства свай должна принять организация, проектировавшая фундамент.
1.5.14. По окончании бурения следует проверить соответствие проекту фактических размеров скважин, отметки их устья, забоя и расположения каждой скважины в плане, а также установить соответствие типа грунта основания данным инженерно-геологических изысканий (при необходимости с привлечением геолога).
При бетонировании насухо перед установкой арматурного каркаса и после его установки должно быть произведено освидетельствование скважины на наличие рыхлого грунта в забое, осыпей, вывалов, воды и шлама.
1.5.15. Бурение скважин рядом с ранее изготовленными сваями допускается лишь по прошествии не менее 48 часов после окончания бетонирования последних. Допускается сокращать указанный срок при использовании специальных бетонов с ускоренным временем твердения.
1.5.16. Армирование свай следует производить заранее изготовленными каркасами, устанавливаемыми в скважину перед бетонированием. В целях предотвращения подъема и смещения в плане арматурного каркаса укладываемой бетонной смесью и в процессе извлечения бетонолитной или обсадной трубы, а также во всех случаях армирования не на полную глубину скважины, его необходимо закрепить в проектном положении. Рекомендуется закрепление каркаса производить с помощью трубы-кондуктора длиной не менее 1 м с наружным диаметром, равным диаметру скважины, что одновременно предотвращает обрушение устья скважины.
В целях предотвращения подъема арматурного каркаса в процессе бетонирования сваи методом ВПТ необходимо предусмотреть дополнительное его крепление. Для этого к двум диаметрально противоположным стержням каркаса привариваются два стержня длиной до дна скважины, снабженных на нижнем конце опорными коротышами из уголков.
1.5.17. Бетонирование свай разрешается только после освидетельствования и оформления актов на скрытые работы по бурению и армированию.
1.5.18. В обводненных песчаных и в других неустойчивых грунтах бетонирование свай должно производиться не позднее 8 ч после окончания бурения, а в устойчивых грунтах — не позднее 24 ч. При невозможности бетонирования в указанные сроки бурение скважин начинать не следует, а уже начатых — прекратить, не доводя их забой на 1 — 2 м до проектного уровня и не разбуривая уширения.
Бетонирование скважин, пробуренных под защитой бурового полимерного раствора, должно начинаться не позднее 5 ч после окончательной зачистки ее забоя при условии, что до этой зачистки была достигнута стабилизация раствора, соответствующая изменению содержания песка в нем не более чем на 1 % за 30 мин.
1.5.19. Бетонная смесь в скважину должна укладываться способом вертикального перемещения трубы (ВПТ). Для бетонирования должен применяться приемный бункер с бетонолитной трубой диаметром 250 — 325 мм. Объем бункера должен быть не менее внутреннего объема бетонолитной трубы. Стыки секций бетонолитной трубы должны быть герметичными. При наличии (перед началом бетонирования) воды в скважине слоем более 20 см бетонолитная труба должна быть оборудована обратным клапаном.
1.5.20. Расстояние между забоем скважины и нижним торцом бетонолитной трубы при начале бетонирования не должно превышать 30 см. В процессе бетонирования следует осуществлять подъем бетонолитной трубы. При этом нижний торец должен быть постоянно заглублен под уровень бетонной смеси не менее чем на 1 м.
В процессе бетонирования бетонолитная труба на всю высоту должна быть постоянно заполнена бетонной смесью. Перерывы в подаче отдельных порций бетонной смеси не должны превышать срока схватывания, установленного лабораторией при данной марке цемента и температуре окружающей среды.
1.5.21. При бетонировании свай в зимних условиях бетонную смесь следует подавать в бункер подогретой до температуры, гарантирующей температуру бетона в скважине в момент укладки не менее 5° С.
При температуре воздуха минус 20 °С и ниже рекомендуется обогревать приемный бункер и верхнюю часть бетонолитной трубы при помощи электронагревателей или устраивать объемлющий тепляк.
1.5.22. Подача бетонной смеси в свайную скважину осуществляется до момента выхода чистой (без шлама) бетонной смеси на поверхность и заканчивается удалением загрязненного слоя бетонной смеси. После этого при наличии обсадной трубы извлекается последняя ее секция и формируется оголовок сваи.
1.5.23. Сваи с неизвлекаемой обсадной трубой применяют, когда отсутствует возможность качественного изготовления свай с извлекаемой оболочкой. Такие условия создаются на оползневых участках и на площадках, сложенных водонасыщенными глинистыми грунтами текучей консистенции с прослойками песков и супесей, где под напором подземных вод ствол сваи на отдельных участках может быть разрушен во время твердения бетонной смеси.
1.5.24. Перед началом и в процессе бетонирования следует определять показатель подвижности бетонной смеси. При несоответствии подвижности бетонная смесь к укладке не допускается. Также производится постоянный отбор бетонных образцов.
1.5.25. Буронабивные сваи должны выполняться из бетона класса не иже В15 по прочности на сжатие (на плотных заполнителях) и марки по водонепроницаемости W6. Бетонная смесь должна удовлетворять требованиям ГОСТ 7473-85 и приготовляться на щебне фракции 5 — 30 мм.
1.5.26. Марка удобоукладываемости бетонной смеси — П4, определяемая по показаниям осадки стандартного конуса по ГОСТ 10181.1-81, должна составлять к моменту ее укладки не менее 18 см. Смесь должна быть однородной и не расслаиваться при перевозке и укладке.
Удобоукладываемость бетонной смеси определяется на месте и записывается в особую ведомость рабочего журнала. Остальные показатели отражаются в паспорте на бетонную смесь по ГОСТ 7473-85.
1.5.27. Для изготовления буронабивных свай должны применяться цементы со сроком схватывания не менее 2 ч. Подвижность бетонной смеси следует обеспечить подбором ее состава и введением в смесь поверхностно-активных пластифицирующих добавок.
1.5.28. Прочность бетона буронабивных свай определяется по ГОСТ 18105-86 с обязательным изготовлением контрольных образцов и обеспечением их твердения в условиях аналогичных твердению свай. Объем контролируемой партии назначается в зависимости от объема бетона, уложенного за 1 сутки.
1.5.29. Устройство уширений у нижнего конца буронабивных свай производится с помощью специальных уширителей или другим механическим способом.
Перейти на главную страницу раздела «Устройство свайных фундаментов».
Глава 6 — Кожухи и футеровки
6.1.2.2 Продвинутая обсадная колонна перед выемкой грунта
Подрядчик может выбрать продвижение обсадной колонны перед выемкой грунта в тех случаях, когда скважина не будет открываться в течение коротких периодов времени или когда методы бурения навозной жижи считаются менее привлекательными с точки зрения затрат или производительности. Есть два основных метода, используемых для продвижения обсадной колонны перед выемкой грунта. Подрядчик может заблаговременно забить обсадную колонну с помощью вибромолота или осциллятора / вращателя.
6.1.2.2.1 Корпус с виброприводом
В случае забивной обсадной колонны почти всегда используется вибромолот для временной обсадной колонны; ударный молот может использоваться для установки постоянной обсадной колонны, но временная обсадная колонна потребует вибромолота для извлечения, поскольку обсадную колонну, установленную с помощью ударного молотка, может быть невозможно удалить. В принципе, струйная очистка может использоваться как вспомогательное средство при установке, но струйная очистка вокруг обсадной колонны не рекомендуется во время экстракции из-за потенциальной возможности струйной воды отрицательно повлиять на жидкий бетон.
При планировании строительства бурильных стволов в перегруженных районах следует учитывать, что использование вибрационной установки обсадных труб может вызвать значительные вибрации, которые могут повлиять на близлежащие конструкции, или вызвать оседание в рыхлых песках (что может повлиять на близлежащие конструкции). На ослабление вибраций по мере удаления от источника влияют размер молота и обсадной колонны, рабочая частота молота, свойства почвы и породы, локализованная стратиграфия, грунтовые воды и другие факторы, которые, вероятно, зависят от конкретной площадки.В большинстве случаев вибрации от установки обсадной колонны чрезвычайно малы на расстоянии от 50 до 70 футов от источника. В случаях, когда поблизости могут находиться чувствительные конструкции, в план установки следует включить программу мониторинга вибрации. Мониторинг вибрации может помочь избежать потенциальных повреждений, а также может предоставить документацию для защиты от судебных исков или претензий о повреждении, вызванном вибрационной установкой обсадной колонны. Мониторинг во время строительства оборудования и установок испытательной шахты может обеспечить ценные измерения вибраций на различных радиальных расстояниях от источника перед перемещением работы на производственные участки.Полезный справочник по этой теме — «Строительные колебания» (Даудинг, 2000).
Установка обсадной колонны с использованием вибромолота наиболее эффективна в песчаных почвенных отложениях, а также для проникновения сквозь песчаные почвы в толщу глины или мергеля ниже. Молоток прижимается к верхней части обсадной колонны (Рисунок 6-8), которая часто укрепляется на конце с дополнительной толщиной, чтобы помочь противостоять передаваемым силам. Вибрация обсадной колонны часто вызывает временное разжижение тонкой зоны грунта, непосредственно примыкающей к стенке обсадной колонны, так что проникновение достигается только за счет веса обсадной колонны и молотка.Этот метод особенно эффективен на песчаных почвах с неглубокими грунтовыми водами. Проникновение нижележащего твердого слоя, такого как твердые породы, может быть затруднено или невозможно с обсадной колонной с виброуправлением. Попытки скрутить обсадную колонну с буровой установкой для установки в породу, вероятно, будут неэффективными из-за бокового сопротивления грунта обсадной колонне после устранения вибрации.
Как правило, вибромолот используется для погружения временной обсадной колонны в грунт по всей длине перед выемкой грунта внутри обсадной колонны.Однако для облегчения проходки через особенно плотный грунт обсадная труба может быть установлена путем чередования последовательностей забивки обсадной колонны и бурения для удаления грунтовой пробки внутри обсадной колонны. В этом случае, как правило, необходимо устанавливать кожух секциями, при этом секции соединяются сваркой.
Снятие корпуса с помощью вибромолота должно выполняться, пока бетон еще жидкий. Во время извлечения молоток прикрепляется и приводится в действие, а затем обычно используется для опускания обсадной колонны на несколько дюймов вниз, используя вес обсадной колонны и молотка, чтобы освободить обсадную трубу от почвы.
Когда обсадная труба перемещается, кран тянет обсадную трубу вверх, чтобы снять ее и оставить заполненное жидким бетоном отверстие.
6.1.2.2.2 Метод осциллятора / вращателя
Установка временной обсадной трубы перед выемкой грунта может быть выполнена буровым станком с использованием специальной обсадной трубы и инструментов, показанных ранее на Рисунках 6-3 и 6-4. Общее описание машин, используемых для изготовления осциллятора / вращателя, было дано в главе 5.Осциллятор или вращатель зажимается на обсадной колонне с помощью мощных гидравлических губок и использует гидравлические поршни, чтобы закручивать обсадную колонну и толкать ее вниз, реагируя на большой буровой станок или временную раму. Таким образом, обсадная колонна используется так же, как и керновой инструмент для продвижения в почву или скалу. Чтобы продвинуть обсадную колонну и преодолеть сопротивление скручиванию со стороны почвы, необходимо, чтобы режущие зубья обсадной колонны были немного больше, чем внешний размер обсадной колонны.Нижняя секция обсадной колонны оснащена режущим башмаком для обеспечения проникновения (Рисунок 6-9) путем вырезания отверстия немного завышенного размера и снятия напряжения со сторон обсадной колонны. Грунт внутри обсадной колонны выкапывается одновременно с установкой обсадной колонны для снятия сопротивления этой части почвы.
Установка временной обсадной трубы перед выемкой грунта может быть выполнена буровым станком с использованием специальной обсадной трубы и инструментов, показанных ранее на Рисунках 6-3 и 6-4.Общее описание машин, используемых для изготовления осциллятора / вращателя, было приведено в главе 5. Осциллятор или вращатель зажимается на кожухе с помощью мощных гидравлических губок и использует гидравлические поршни для закручивания кожуха и толкания его вниз, реагируя на большие сверлильный станок или временный каркас. Таким образом, обсадная колонна используется так же, как и керновой инструмент для продвижения в почву или скалу. Чтобы продвинуть обсадную колонну и преодолеть сопротивление скручиванию со стороны почвы, необходимо, чтобы режущие зубья обсадной колонны были немного больше, чем внешний размер обсадной колонны.Нижняя секция обсадной колонны оснащена режущим башмаком для обеспечения проникновения (Рисунок 6-9) путем вырезания отверстия немного завышенного размера и снятия напряжения со сторон обсадной колонны. Грунт внутри обсадной колонны выкапывается одновременно с установкой обсадной колонны для снятия сопротивления этой части почвы.
Во время установки обсадной трубы важно, чтобы грунтовая пробка оставалась внутри обсадной колонны (обычно толщиной около одного диаметра вала), чтобы дно котлована не стало неустойчивым во время установки.В водоносных почвах также необходимо поддерживать напор воды внутри обсадной колонны, чтобы не возникало вспучивания на дне. Можно использовать жидкий навоз внутри обсадной колонны для поддержания стабильности, но необходимость в жидком навозе обычно устраняется за счет использования грунтовой пробки. Во время установки необходимо сохранять устойчивость, поскольку вспучивание грунта в обсадной колонне может вызвать разрыхление грунта вокруг выемки, что отрицательно скажется на боковом сдвиге и возможном оседании ствола.
По завершении выемки грунтовую пробку можно удалить до основания обсадной колонны (или ниже), если обсадная труба продлена в скалу или устойчивый пласт или если для поддержания устойчивости используется насадка для гидросмеси.Если отверстие заканчивается в водоносном грунте, где для устойчивости имеется только напор воды, может потребоваться, чтобы обсадная труба проходила ниже основания окончательной выемки, чтобы избежать нестабильности в основании. Однако эта процедура может привести к образованию кольцевой зоны разрыхленного грунта в основании выработки пробуренного ствола.
Более толстый кожух (обычно от 2 до 2,5 дюймов), используемый в этом методе строительства, следует учитывать при выборе крышки и распорок на арматурном каркасе.Если одностенная труба используется с соединениями обсадной колонны, как показано на Рисунке 6-4, соединения будут выступать внутрь обсадной колонны, потому что соединение обычно толще, чем труба. В таком случае арматурный каркас необходимо изготовить и аккуратно разместить так, чтобы ничто не висело на стыках обсадной колонны во время установки каркаса и / или извлечения обсадной трубы во время укладки бетона.
Чтобы избежать потенциальной деформации арматуры при кручении, обсадная труба обычно раскачивается вперед и назад во время извлечения, даже если при установке использовалось непрерывное вращение.Обсадная труба обычно извлекается одновременно с закладкой бетона в котлован, и бетонная головка над концом обсадной трубы должна поддерживаться таким образом, чтобы к отверстию создавалось положительное давление бетона. Если внешнее давление грунтовых вод присутствует, напор бетона и воды внутри обсадной колонны должен превышать внешнее давление воды, чтобы предотвратить попадание воды и загрязнение бетона. Также важно, чтобы бетон оставался текучим, чтобы колебания обсадной колонны не передавали скручивающие силы в арматурный каркас и не вызывали деформации.
6.1.4 Снятие обсадной колонны после бетонирования
В просверленных стволах, устанавливаемых в водоеме, обычно используется постоянная обсадная труба, которая служит формой до схватывания бетона, а затем остается на месте. Часто требуется удалить части прочной оболочки, которая обнажается над поверхностью земли или над поверхностью воды после завершения установки пробуренной шахты и после того, как бетон достигнет достаточной прочности.В таких случаях, как правило, необходимо удалить только короткую секцию обсадной колонны. Удаление обычно выполняется путем резки стали на секции с помощью горелки, стараясь не повредить нижележащую бетонную поверхность и отделяя отдельные секции от поверхности бетона. Однако временные кожухи иногда использовались для таких применений, включая различные типы съемных форм, прикрепленных к верхней части постоянного кожуха. Поступали многочисленные сообщения о трудностях с использованием временной обсадной трубы над водой.
Пример съемного кожуха показан на Рисунке 6-12; эта фотография сделана с моста Фуллера Уоррена I-95 через реку Сент-Джонс в Джексонвилле, Флорида. Для этого проекта съемный кожух был изготовлен с разъемным швом, который простирался по всей длине кожуха и был соединен механическим штифтом, который удерживал соединение закрытым во время установки кожуха и укладки бетона, а также расширял соединение, чтобы облегчить удаление опалубка после того, как бетон достиг необходимой прочности.В стык поместили резиновую прокладку, чтобы сделать стык водонепроницаемым. В этом примере обсадные трубы диаметром 72 дюйма продвигались с помощью вибромолота через мягкие отложения речного дна либо до жесткого слоя илистой глины, либо до известняка. После схватывания бетона просверленного вала механизм штифта был поднят, чтобы расширить соединение, в результате чего внутренний диаметр обсадной колонны был немного больше диаметра просверленного вала и позволил снять обсадную трубу с просверленного вала.Подрядчик выбрал этот метод, чтобы позволить повторно использовать обсадные трубы для ряда морских фундаментов и тем самым снизить стоимость стальных обсадных труб. Однако использование съемного кожуха для этого проекта создало несколько проблем, которые часто встречаются при использовании этого типа решений:
- После первоначального использования обсадной трубы соединение, как правило, не было водонепроницаемым, несмотря на очистку и ремонт соединения,
- У подрядчика возникли трудности с открытием разъемного соединения, возможно, из-за засорения механизма бетоном,
- После открытия стыка подрядчику было трудно снять обсадную колонну с пробуренного вала даже с помощью вибромолота,
- Когда обсадная колонна была снята, водолазный осмотр выявил поверхностные дефекты на пробуренном стволе, в том числе вымывание цемента вдоль частей пробуренного ствола, которые примыкали к разъемному соединению, многочисленные сколы и полости для стравливания воды вокруг оставшейся части пробуренного ствола, и стальная арматура, подверженная локальному воздействию, и
- Для исправления обнаруженных дефектов потребовалось провести дорогостоящие подводные ремонтные работы.
Как показывает история данного проекта, использование съемной обсадной трубы может создать риск структурных дефектов для пробуренных валов. Кроме того, осмотр готовых пробуренных стволов и ремонт любых выявленных дефектов затруднен, так как эти работы должны выполняться под водой, иногда работая в сложных условиях ограниченной видимости и быстрых течений. Соответственно, следует избегать использования съемных обсадных труб на морских фундаментах.
СРАВНИТЕЛЬНАЯ ТЕХНОЛОГИЯ СТРОИТЕЛЬСТВА | |||
№ | содержание | Строительная техника | |
Бурение раствором | Бурение с полной обсадной колонной | ||
1 | Кожух | Длина стены 6-12м, толщина стенки 10-12мм, отечественного производства | Модульная стена 3м, 2м, 1м. Соединяются между собой высокопрочными болтами.Импортная стенка из высокопрочной стали. |
2 | Длина обсадной колонны | Уменьшить длину так, чтобы опалубка была на 50 см выше естественного грунта. | Опустить обсадную колонну на поверхность горного пласта. Обеспечение прохода синицы через сложные геологические пласты |
3 | Буровой раствор | Используйте бентонит или полимерную жидкость | Использовать воду |
4 | Ошибки вертикальности сваи | 1% | 0.50% |
5 | Осадки | Процесс осаждения отложений требует времени (особенно с многослойной геологией песка). Уровень наносов высокий (≈10 см). | Без потери времени на обработку уровень осадка низкий (≈2-3 см). |
6 | Бетон | Плохой контроль качества и количества бетона.Бетон смешивается с раствором, так что только 80% прочности выдерживает усилие . | Хороший контроль и качество и объем бетона. Бетон не смешивается с раствором, что обеспечивает устойчивость 90-95% прочности. |
7 | Нижний стальной каркас | Срок строительства больше. Процесс опускания клетки: опирается на стенку ствола скважины, что вызывает сильное осаждение, и возможно, что клетка не может быть опущена из-за непрямого направления. | Быстрое выполнение, поскольку стальной сепаратор опускается в основном в стальную трубу (обсадную трубу) и не вызывает образования отложений. |
8 | Водная среда | Загрязнение грунтовых вод и отрицательное воздействие на окружающую водную систему | Дружелюбный и бережный к водной среде. |
9 | Строительный участок | Земля грязная, глинистая, чистота грунта трудно контролировать | Земля хорошо контролируется, всегда сухая и ровная |
Трубная свая — обзор
Трение обшивки и концевой подшипник в связных грунтах
Традиционно сваи для платформы морских сооружений представляют собой трубные сваи.Если трубная свая проникает в связный грунт, трение вала f (в кПа) в любой точке сваи можно рассчитать по формуле:
(4,14) f = αc
, где α = безразмерный коэффициент и c = прочность грунта на сдвиг без дренажа в рассматриваемой точке.
Фактор α может быть вычислен по формуле:
(4.15) α = 0.5ψ − 0.5ψ≤1.0α = 0.5ψ − 0.25ψ> 1.0
с ограничением α ≤1.0, где ψ = c / p для рассматриваемой точки, а p ′ — эффективное давление покрывающих пород в рассматриваемой точке (в кПа).Для недоуплотненных глин, глин с избыточным поровым давлением, подвергающихся активному уплотнению, α обычно можно принять равным 1,0.
Важны подходящие методы определения прочности на сдвиг без дренажа, c , и эффективного давления покрывающих пород, p ′, включая влияние различных процедур отбора проб и испытаний. Поскольку количество испытаний на свайную нагрузку недостаточно в почвах с отношениями c / p ′ больше трех, уравнение (4.15) следует применять с некоторой технической оценкой для высоких значений c / p ′. Такая же инженерная оценка должна применяться для глубоко проникающих свай в грунтах с высокой прочностью на недренированный сдвиг, c , где расчетное трение вала, f , с использованием уравнения 4.14 выше, как правило, выше, чем ранее указано в API RP2A. В случае очень длинных свай происходит некоторое снижение грузоподъемности сваи, потому что трение вала может уменьшиться до некоторой меньшей остаточной величины при продолжающемся перемещении.
Для концевой опоры свай в связных грунтах, концевой опоры агрегата, q (в кПа), можно рассчитать по формуле:
(4,16) q = 9c
Очевидно, что в открытых забивных сваях трение вала , f , действует как внутри, так и снаружи сваи. Общее сопротивление складывается из внешнего трения вала, торцевого подшипника в кольцевом пространстве стенки сваи и общего внутреннего трения вала или торцевого подшипника пробки, в зависимости от того, что меньше.
Если трубная свая считается закупоренной, можно предположить, что опорное давление действует по всему поперечному сечению сваи.Для незаглушенных свай давление на опору будет рассчитываться только по затрубному пространству стенки сваи. Вопрос о том, считается ли свая забитой или отключенной, может основываться на статических расчетах. Например, сваю можно забивать в отключенном состоянии, но при статической нагрузке она действует забитой.
В некоторых случаях сваи забиваются в просверленные отверстия меньшего диаметра, сваи забиваются на место или (в некоторых небольших проектах) сваи пробуриваются и заливаются раствором. В этих ситуациях нарушение почвы в результате установки повлияет на значения трения вала.В целом f не должны превышать значений для забивных свай; однако в некоторых случаях для пробуренных и залитых раствором свай в переуплотненной глине f может превышать эти значения.
При определении f для пробуренных и залитых свай следует учитывать прочность границы раздела грунт-раствор, включая потенциальное воздействие бурового раствора. Как обсуждали Крафт и Лайонс (1974), необходимо провести дополнительное исследование и проверку допустимого напряжения связи между сталью сваи и раствором.
Значения трения вала f в связных слоях должны быть такими, как указано в уравнении (4.14). Значения концевых опор для свай, опрокинутых связными слоями с соседними более слабыми слоями, могут быть такими, как указано в уравнении (4.16), при условии, что свая обеспечивает проникновение двух-трех диаметров сваи или более в рассматриваемый слой, а вершина составляет приблизительно три сваи. диаметры выше нижней части слоя, чтобы избежать пробивки.
Может потребоваться некоторая модификация сопротивления концевого подшипника, если эти расстояния не достигнуты.
Сваи для труб: Купить Стальные сваи для труб
Сваи труб используются для создания прочных оснований для таких конструкций, как здания, мосты и дороги. Сваи труб могут быть забивается или просверливается глубоко в землю и передает нагрузку здания на более прочный грунт или скалу под ним. Есть множество доступных типов трубных свай, а также ряд приемов и методов, которые можно использовать при установке трубные сваи. В зависимости от конкретной ситуации, а также от нагрузок, которые труба должна будет выдерживать, каждый из этих различных методов может быть использовано.
В Crestwood Tubulars мы продаем широкий выбор трубных свай для использования в строительных проектах и при строительстве фундаментов. Мы продаем как новые, так и бывшие в употреблении стальные сваи различных марок. Мы можем поставить как прямой шов, так и спираль. сварить трубные сваи, разрезанные и соединенные до необходимой длины. Мы также можем предоставить индивидуальные покрытия для различных целей. Если ты заинтересованы в покупке стальных трубных свай или строительных труб бывшего в употреблении у наших опытных торговый персонал, пожалуйста, свяжитесь с нами, чтобы узнать больше о наших доступных трубах и наших услугах по распределению труб.
Общие методы установки трубных свай
Два основных метода установки, которые используются для установки трубных свай, включают забивание свай или бурение свай глубоко в земля. Каждый из этих основных методов может быть выполнен с использованием ряда различных методов в зависимости от типа трубы. использование свай, а также обстоятельства, при которых устанавливаются сваи. Чтобы узнать больше о забивке или бурении трубных свай в землю, чтобы создать глубокий фундамент для строительных проектов, включая дороги, мосты и здания, пожалуйста, не стесняйтесь свяжитесь с нашим отделом продаж.
Вы также можете связаться с нами, чтобы узнать о нашем текущем ассортименте новых и бывших в употреблении трубных свай. которые есть в наличии или купить сваи из стальных труб в нашей компании.
Забивные трубные сваи
Стальные сваи можно забивать в землю с помощью специального оборудования. Забивание трубных свай в землю дает преимущество перед буровые валы, потому что почва, которая перемещается при забивании свай в землю, сжимает окружающую почву и, следовательно, вызывает большее трение о стенки сваи.Это трение может увеличить несущую способность трубных свай. Забивные сваи могут включать в себя открытые сваи с концами, которые позволяют грунту или песку попадать в трубы или сваи с одним концом трубы, закрытым для предотвращения попадания песка или грязи центр сваи. Сваи из стальных труб, которые забиваются с одним закрытым концом, могут быть заполнены бетоном для повышения устойчивости и устойчивости.
Сваи бурильных труб
Сваи из пробуренных труб также называются кессонами, пробуренными стволами, пробуренными опорами, сваями для заливки в просверленных отверстиях (CIDH) или сваями, набивными на месте.При таком способе установки свай в грунт закладывают сваи с помощью роторно-бурового оборудования. Вращательное растачивание или сверление обычно Используется для установки свай большого диаметра и для строительства свай в особо плотных или твердых породах. Такой способ установки трубных свай может использоваться в условиях сухого грунта, а также при влажном бурении в заболоченных пластах.
Микросваи
Микросваи — это забивные набивные сваи небольшого диаметра, в которых большая часть приложенной нагрузки выдерживается стальной арматурой.Они строятся путем бурения скважины, часто с использованием обсадных труб, с последующим размещением стальной арматуры и заливкой раствора. Микросваи имеют широкий спектр применения и становятся все более распространенным методом поддержки и повторной поддержки фундаментов, сейсмической модернизации, стабилизации откосов и даже удержания грунта.
Микросваиобычно создаются небольшими кластерами или группами, каждый из которых обычно несет одинаковую нагрузку. Эти сваи также могут быть спроектированы с использованием теста для улучшения поперечной жесткости группы.Они могут быть спроектированы так, чтобы противостоять сочетанию сжатия, растяжения и поперечных сил.
Микросваи— идеальные сваи для сложных площадок, где требуется низкая вибрация или низкий уровень шума, или где ограниченный доступ, например, с малой высотой и затруднено бурение. Другие условия площадки, которые делают микрогруды привлекательными: препятствия, большие булыжники или валуны, близлежащие чувствительные сооружения, карстовый рельеф или высокие условия грунтовых вод. Уникальные характеристики микросваи делают их идеальным решением, когда другие методы глубокого фундамента не подходят.
Преимущества:
| Приложения:
|
Полые стержни: микросваи
Микросваи, изготовленные из полых стержней, хорошо зарекомендовали себя и широко используются в частных и общественных работах в Соединенных Штатах.После обширных исследований система была принята Федеральным управлением автомобильных дорог (FHWA).
В обрушивающемся грунте идеально подходит использование полых стержней для создания микровзрывков. Если бурение открытого ствола может быть ограничено по глубине или требуется временная обсадная колонна, полые стержни предлагают одностадийный процесс цементирования и армирования. Кроме того, использование этого метода привело к более высоким показателям сцепления грунта с затиркой. Меньшее по размеру и часто менее дорогое оборудование, используемое с системой полых стержней, позволяет снизить стоимость проекта и упрощает использование менее специализированных генеральных подрядчиков.Эта система также идеальна для сайтов с ограниченным доступом или малой высотой потолка.
Преимущества:
- Работает на сжатие и растяжение
- Возможность очень высокой производительности
- Самая эффективная форма микровыступов в ограниченном пространстве
- Пустотные стержни образуют небольшие группы свай
- Заполнение швов во время бурения дает возможность уплотнения грунта на месте
Микросваевые системы с резьбой
- Свая малого диаметра, обычно менее 14 дюймов (за некоторыми исключениями), меньше просверленного вала — также известная как мини-сваи или шпильки, и может состоять из обсадной колонны, цементного раствора и арматуры с резьбой
- Обычно устанавливается с малокалиберной буровой установкой, использующей метод дуплексного бурения с буровой штангой и буровыми долотами или забойным перфоратором.Использует переходник / переходник для прикрепления «стартовой» детали с приваренными J-образными зубьями или кольцевого наконечника снизу с удлинителями «папа х мама» (штифт х коробка), при необходимости.
- В зависимости от типа построенной микросваи, емкость увеличивается за счет поверхностного трения (связь между цементным раствором и почвой), условий опоры и прочности обсадной трубы / стержня
- Стальной кожух может проходить на всю глубину сваи или заканчиваться наверху зоны соединения
- Увеличение пропускной способности за счет методов заливки (давление против силы тяжести), размера и прочности обсадной колонны / бар.
- Защита от коррозии
- Компрессионные сваи без покрытия (SCP)
- Толщина затирки и высокий pH затирки помогают пассивировать сталь
- Герметизированные (DCP) сваи натяжные
- Гофрированная оболочка помогает в качестве барьера для воды / влаги
Загрузить лист данных
Что такое буронабивная забивка (мокрый процесс)? — ПИЛИНГ ПАТ-ТАРА
Что такое буронабивные сваи (мокрый процесс)?
Буронабивная сваи — это метод, который включает в себя просверливание круглого отверстия в земле, установку стальной арматуры и заполнение просверленного отверстия бетоном для образования сваи.Бурение на проектную глубину осуществляется крановыми или гусеничными гидравлическими буровыми установками.
Процесс- Установка временной обсадной трубы
После того, как место выемки будет найдено, установите временную обсадную трубу, используя вибромолот, чтобы вдавить обсадную трубу в землю. Проверьте расстояние по горизонтали от центра каждой оси и соблюдайте погрешность расстояния по вертикали не более 1/100 расстояния сваи.В случаях, когда почва очень жесткая (например, в местах с небольшим количеством воды или без нее), временные оболочки могут вообще не понадобиться.
Всегда проверяйте, находится ли временная обсадная колонна в правильном месте, смещая от 2 точек оси с помощью линейки для измерения от обсадной колонны, если число смещения правильное.
- Выемка грунта Сухой процесс
После того, как обсадная колонна установлена в нужной точке, используйте шнек для выкапывания сухой почвы, по достижении влажной почвы добавьте жидкий навоз, чтобы сохранить целостность скважины.
- Выемка грунта Мокрый процесс
Измените буровую головку на ковш после выемки на большую глубину и добавьте жидкий раствор, чтобы сохранить целостность скважины, всегда оставляя раствор заполненным над существующим грунтом. Когда желаемая глубина будет достигнута, очистите дно ямы с помощью чистящего ведра, пока дно не будет выровнено.
- Проверить целостность отверстия
После того, как дно отверстия было очищено должным образом, проверьте фактическую глубину отверстия с помощью маятника, прикрепленного к измерительной ленте и опускаясь в отверстие, чтобы определить глубину, и проверьте, выровнено ли дно отверстия снова.
- Установка арматурных каркасов для подготовки к цементированию
Убедитесь, что секции арматурного каркаса имеют прямоугольную форму, затем сварите детали вместе с расстоянием внахлест, в 40 раз превышающим диаметр клетки. Проверьте расстояние до бетонной опоры, которая удерживает арматурный каркас внутри траншеи.
- Установка труб Tremie
Опускайте трубы треми одну за другой в арматурный каркас, но оставляйте зазор 2-3 метра на конце трубы до дна траншеи, это позволит бетону беспрепятственно стекать в траншею.Затем поместите воронку в верхнюю часть трубы, чтобы избежать просыпания бетона.
- Бетонирование
Перед заливкой бетона в траншею убедитесь, что сначала в трему залили заглушку из пеноматериала, чтобы между раствором и бетоном был буфер. После заливки бетона в траншею раствор будет вытекать автоматически, потому что он заменяется плотной бетонной смесью. Во время бетонирования труба должна оставаться в траншее до тех пор, пока бетонирование не будет полностью закончено, а бетонирование должно выполняться непрерывно.Как только объем бетона в траншее увеличивается, необходимо вынуть трубу для дрожания, но всегда оставлять не менее 2 м или 3-5 м в зависимости от ситуации, пока весь раствор не будет заменен бетоном.
- Снятие временной оболочки
По окончании бетонирования удалите временную опалубку с помощью вибромолота до схватывания бетона. В процессе снятия всегда снимайте корпус под вертикальным углом, чтобы предотвратить разрушение стены траншеи.Следующая точка выемки должна быть удалена от предыдущей траншеи в 6 раз больше окружности сваи и не менее 24 часов. промежуток времени.
Поставщики обсадных труб для строительства буронабивных свай, Производитель, Дистрибьютор, Заводы, Alibaba
Страна / регион: Китай Основные продукты:Стальная труба, Сварная стальная труба, Труба для строительных лесов, Линейная труба, SSAW Сталь Труба
Общий доход:50 миллионов долларов США — 100 миллионов долларов США
Топ-3 рынка:Средний Восток 20% , Южная Америка 15% , Юго-Восточная Азия 15%
Страна / регион: Китай Основные продукты:Буровой ковш, Келли-штанга, Ствол керна, Принадлежности для буровых инструментов, Сверлильные зубья
Общий доход:1 миллион долларов США — 2 доллара США.5 миллионов
Топ-3 рынка:Внутренний рынок 50% , Восточная Азия 15% , Африка 15%
Страна / регион: Китай Основные продукты:Стальная труба, сварная стальная труба, труба для строительных лесов, линейная труба, стальная труба SSAW
Общий доход:50 миллионов долларов США — 100 миллионов долларов США
Топ-3 рынка:Средний Восток 20% , Южная Америка 15% , Юго-Восточная Азия 15%
Страна / регион: Китай Основные продукты:Стальная труба, Сварная стальная труба, Труба для строительных лесов, Линейная труба, SSAW Сталь Труба
Общий доход:50 миллионов долларов США — 100 миллионов долларов США
Топ-3 рынка:Средний Восток 20% , Южная Америка 15% , Юго-Восточная Азия 15%
Страна / регион: Китай Основные продукты:Стальная труба, строительные леса, крепеж для строительных лесов, трубопроводная труба, газопровод
Общий доход:1 миллион долларов США — 2 доллара США.5 миллионов
Топ-3 рынка:Южная Америка 30% , Средний Восток 20% , Внутренний рынок 15%
Страна / регион: Китай Основные продукты:труба из оцинкованной стали, труба из углеродистой стали, квадратная труба, стальная труба erw, оцинкованная труба
Общий доход:Более 100 миллионов долларов США
Топ-3 рынка:Юго-Восточная Азия 25% , Средний Восток 20% , Южная Америка 15%
Страна / регион: Китай Основные продукты:оцинкованная труба, спиральная стальная труба, квадратная и прямоугольная труба, стальная труба erw, стальная труба для строительных лесов
Общий доход:1 миллион долларов США — 2 доллара США.5 миллионов
Топ-3 рынка:Юго-Восточная Азия 87% , Средний Восток 5% , Океания 3%
.







Таким образом происходит набивание всей пустоты в грунте бетонной смесью.






;
ТЕР Ямало-Ненецкий автономный округТЕР Ярославской областиТЕРмТЕРм Алтайский крайТЕРм Белгородская областьТЕРм Воронежской областиТЕРм Калининградской областиТЕРм Карачаево-Черкесская РеспубликаТЕРм Мурманская областьТЕРм Республика ДагестанТЕРм Республика КарелияТЕРм Ямало-Ненецкий автономный округТЕРмрТЕРмр Алтайский крайТЕРмр Белгородская областьТЕРмр Карачаево-Черкесская РеспубликаТЕРмр Краснодарского краяТЕРмр Республика ДагестанТЕРмр Республика КарелияТЕРмр Ямало-Ненецкий автономный округТЕРпТЕРп Алтайский крайТЕРп Белгородская областьТЕРп Калининградской областиТЕРп Карачаево-Черкесская РеспубликаТЕРп Краснодарского краяТЕРп Республика КарелияТЕРп Ямало-Ненецкий автономный округТЕРп Ярославской областиТЕРрТЕРр Алтайский крайТЕРр Белгородская областьТЕРр Калининградской областиТЕРр Карачаево-Черкесская РеспубликаТЕРр Краснодарского краяТЕРр Новосибирской областиТЕРр Омской областиТЕРр Орловской областиТЕРр Республика ДагестанТЕРр Республика КарелияТЕРр Ростовской областиТЕРр Рязанской областиТЕРр Самарской областиТЕРр Смоленской областиТЕРр Удмуртской РеспубликиТЕРр Ульяновской областиТЕРр Ямало-Ненецкий автономный округТЕРррТЕРрр Ямало-Ненецкий автономный округТЕРс Ямало-Ненецкий автономный округТЕРтр Ямало-Ненецкий автономный округТехнический каталогТехнический регламентТехнический регламент Таможенного союзаТехнический циркулярТехнологическая инструкцияТехнологическая картаТехнологические картыТехнологический регламентТИТИ РТИ РОТиповая инструкцияТиповая технологическая инструкцияТиповое положениеТиповой проектТиповые конструкцииТиповые материалы для проектированияТиповые проектные решенияТКТКБЯТМД Санкт-ПетербургТНПБТОИТОИ-РДТПТПРТРТР АВОКТР ЕАЭСТР ТСТРДТСНТСН МУТСН ПМСТСН РКТСН ЭКТСН ЭОТСНэ и ТЕРэТССЦТССЦ Алтайский крайТССЦ Белгородская областьТССЦ Воронежской областиТССЦ Карачаево-Черкесская РеспубликаТССЦ Ямало-Ненецкий автономный округТССЦпгТССЦпг Белгородская областьТСЦТСЦ Белгородская областьТСЦ Краснодарского краяТСЦ Орловской областиТСЦ Республика ДагестанТСЦ Республика КарелияТСЦ Ростовской областиТСЦ Ульяновской областиТСЦмТСЦО Ямало-Ненецкий автономный округТСЦп Калининградской областиТСЦПГ Ямало-Ненецкий автономный округТСЦэ Калининградской областиТСЭМТСЭМ Алтайский крайТСЭМ Белгородская областьТСЭМ Карачаево-Черкесская РеспубликаТСЭМ Ямало-Ненецкий автономный округТТТТКТТПТУТУ-газТУКТЭСНиЕР Воронежской областиТЭСНиЕРм Воронежской областиТЭСНиЕРрТЭСНиТЕРэУУ-СТУказУказаниеУказанияУКНУНУОУРврУРкрУРррУРСНУСНУТП БГЕИФАПФедеральный законФедеральный стандарт оценкиФЕРФЕРмФЕРмрФЕРпФЕРрФормаФорма ИГАСНФРФСНФССЦФССЦпгФСЭМФТС ЖТЦВЦенникЦИРВЦиркулярЦПИШифрЭксплуатационный циркулярЭРД