Ядринский кирпичный завод
Моргаушский кирпичный Завод
Строительный материал моргаушского кирпичного завода широко известен среди компаний не только в Чувашии, но и в Татарстане и Нижегородской области. За последние несколько лет завод был полностью модернизирован. Мощность завода составляет до 20 миллионов кирпича в год. Уникальность предприятия — производство кирпича из чистых видов голубой глины. Она применяется в лечебных целях, что в наше время является редкостью. Также для улучшения прочностных характеристик кирпича добавляется речной намывной песок из р. Волги. При производстве поризованного кирпича добавляется просеянный опил и трепел. С помощью природного газа на энергоэффективном оборудовании ведется сушка и обжиг. Такая методика позволяет заботиться об окружающей среде.
Кирпич торговой марки «МКЗ» используют для цоколя, фундамента, труб, печей, внутренних стен, а так же для каминов. Поризованый кирпич используют в строительстве наружных стен с внутренней стороны.
Ядринский кирпичный Завод
Ядринский кирпичный завод — одно из ведущих предприятий строительной отрасли Чувашии.
Продукция компании неоднократно отмечалась дипломами и наградами различных региональных и российских ярмарок и выставок. Впервые кирпич под маркой «ЯКЗ» вышел в 1978 году. Сегодня проектная мощность завода составляет 18 миллионов кирпичей в год.
К тому результату завод пришел благодаря технологиям, в основу которой положен классический способ пластического формования изделий.Особенность работы предприятия — контроль качества на каждом этапе производства. На предприятии действует центр контроля. В его функции входит приемка и оценка качества поступающего сырья и материалов для производства. Специалисты отслеживают все параметры технологии изготовления. Современное оборудование позволяет обеспечивать максимальный уровень глубокой обработки глиняного полуфабриката. Это является залогом высочайшего качества продукции. Сейчас завод выпускает кирпич полнотелый и пустотелый ГОСТ 530-2012 марок: М100, М125, М150. Их отличительное качество: морозостойкость. Стоит отметить, что продукция кирпичного завода полностью сертифицирована.
|
Каждая партия произведённых кирпичей маркируется. Буквенно-цифровой код содержит в себе информацию об изделии: • маркировка название изделия, буквы Р — для рядовых, Л — для лицевых; ● Для примера разберём кирпич с маркировкой КОРПу 1НФ/100/1,4/50/ГОСТ 530-2012: - кирпич керамический рядовой, пустотелый, утолщённый, размеры 1,4 НФ (250х120х88 мм), марка по прочности М100, класс средней плотности 1,4 (условно-эффективный по теплотехническим характеристикам), марка по морозостойкости F50, произведён согласно ГОСТ 530-2012. • Другой пример: кирпич СОР-150/15/ГОСТ 379-95 — кирпич силикатный одинарный рядовой с маркой по прочности М150, по морозостойкости F15, произведён согласно ГОСТ 379-95.
● Средняя плотность кирпича подразделяется на классы: 0,8; 1,0; 1,2;
1,4; 2,0.
|
ГОСТ 530-95 Кирпич и камни керамические
« к списку ГОСТов
1.
Область примененияНастоящий стандарт распространяется на керамические кирпич и камни, изготовляемые способом полусухого прессования или пластического формования из глинистых и кремнеземистых (трепел, диатомит) осадочных пород и промышленных отходов (угледобычи и углеобогащения зол) и обожженные в печах. Кирпич и камни применяют для кладки каменных и армокаменных наружных и внутренних стен зданий и сооружений, а также для кладки фундаментов из полнотелого кирпича.
2. Основные параметры и размеры
2.1. Кирпич и камни керамические (далее — изделия) изготовляют в форме параллелепипеда и в зависимости от размеров подразделяют на виды, указанные в таблице №1.
Таблица 1
| Вид изделия | номинальные размеры по | ||
|---|---|---|---|
| длине | ширине | высоте | |
| Кирпич одинарный | 250 мм | 120 мм | 65 мм |
| 250 мм | 120 мм | 88 мм | |
| Камень | 250 мм | 120 мм | 138 мм |
2.
2. Предельные отклонения от номинальных размеров в миллиметрах не должны превышать:
— для изделий пластического формования из лессов, трепелов, диатомитов
±7 ……….. по длине
±5 ……….. по ширине
— для изделий пластического формования и полусухого прессования
±5 ……….. по длине
±4 ……….. по ширине
±3 ……….. по толщине — для кирпича
±4 ……….. по толщине — для камня
Отклонение от перпендикулярности граней в миллиметрах не должно превышать:
±4 — для изделий пластического формования из лессов, трепелов, диатомитов;
±3 — для изделий пластического формования и полусухого прессования.
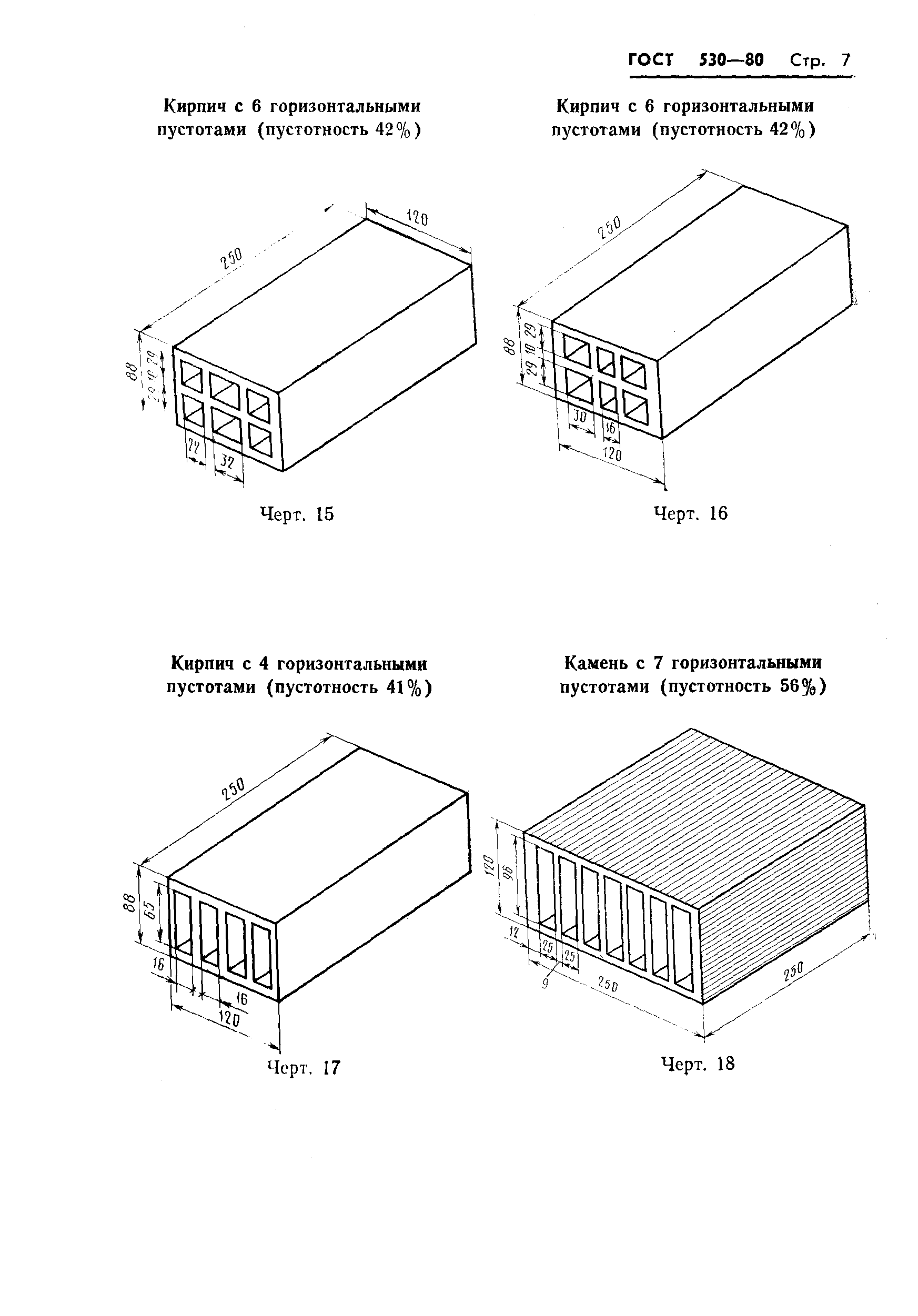
2.3. Одинарный и утолщенный кирпич изготовляют полнотелым (без пустот и с технологическими пустотами, объем которых составляет не более 13 %) и пустотелым, а камни — только пустотелыми.
2.4. Пустоты в изделиях должны располагаться перпендикулярно или параллельно постели и могут быть сквозными и несквозными.
Ширина щелевидных пустот должна быть не более 16 мм, а диаметр цилиндрических сквозных пустот и размер стороны квадратных пустот — не более 20 мм. Для укрупненных камней допускаются пустоты (для захвата при кладке) с площадью сечения пустот не более 13 % от площади основания. Диаметр несквозных пустот и размеры горизонтальных пустот не регламентируют.
2.5. По прочности изделия с вертикально расположенными пустотами изготовляют марок: 75, 100, 125, 150, 175, 200, 250, 300.
2.6. По морозостойкости изделия подразделяют на марки: FI5, F25, F35, F50.
2.7. Условное обозначение керамических изделий должно состоять из названия, вида, марки по прочности и морозостойкости, обозначения настоящего стандарта.
3. Технические требования
3.1. Изделия должны изготовляться в соответствии с требованиями настоящего стандарта по технологическому регламенту, утвержденному предприятием-изготовителем.
3.2. Поверхность граней изделий должна быть плоской, ребра — прямолинейными.
Допускается выпускать изделия с закругленными вертикальными ребрами с радиусом закругления не более 15 мм. По фактуре поверхности (ложковой, тычковой) изделия могут быть гладкими или рифлеными.
3.3. Известковые включения, вызывающие после пропаривания изделий разрушение поверхностен и отколы глубиной более 6 мм, не допускаются. На поверхности изделий допускается наличие отколов по наибольшему измерению от 3 до 10 мм числом не более 3 шт.
3.4. Количество половняка в партии не должно быть более 5 %.
3.5 Количество боя в партии не должно быть более 6,5 %.
3.6. Не допускается поставка потребителю недожженных и пережженных изделий.
3.7. Марку камня по прочности устанавливают по значению предела прочности при сжатии, а кирпича — по значению пределов прочности при сжатии и изгибе.
3.8. Водопоглощение не должно быть для полнотелого кирпича менее 8 %, для пустотелых изделий — менее 6 %.
3.9. Масса кирпича в высушенном состоянии не должна быть более 4,3 кг, камней — не более 16 кг.
3.10. Изделия относят к группе негорючих строительных материалов по ГОСТ 30244.
3.11. Удельная эффективная активность естественных радионуклидов в изделиях не должна быть более 370 Бк/кг.
3.12. Каждая партия поставляемых изделий должна сопровождаться документом о качестве, в котором указывают:
наименование предприятия-изготовителя и (или) его товарный знак;
наименование и условное обозначение изделий;
дату выдачи документа;
номер партии и количество отгружаемых изделий;
массу кирпича и камней;
водопоглощение;
предел прочности при изгибе для кирпича марок 75 и 100;
удельную эффективную активность естественных радионуклидов;
теплопроводность изделий;
обозначение настоящего стандарта.
4. Упаковка, транспортировка и хранение
4.1. Транспортирование изделий автомобильным и железнодорожным транспортом должно производиться в соответствии с требованиями нормативной документации, действующей на каждом виде транспорта.
4.2. Погрузка и выгрузка пакетов изделий должны производиться механизированным способом при помощи специальных грузозахватных устройств.
4.3. Погрузка изделий навалом (набрасыванием) и выгрузка их сбрасыванием не допускаются.
4.4. На поддонах изделия должны быть уложены в «елку» или «на плашок» и «на ребро» с перекрестной перевязкой. Масса одного пакета должна быть не более 0,85 т.
4.5. Пакеты кирпича, уложенные с перекрестной перевязкой, должны быть упакованы металлической лентой по ГОСТ 3560 или термоусадочной пленкой по ГОСТ 25951, или растягивающейся пленкой по ГОСТ 10354.
4.6. Изделия должны храниться пакетами на поддонах по ГОСТ 18343 раздельно по маркам и видам в сплошных одноленточных штабелях в один ярус. Допускается установка пакета друг на друга не выше двух ярусов.
4.7. Допускается хранение изделий на ровных площадках с твердым покрытием в одноленточных штабелях пакетами без поддонов.
« к списку ГОСТов
Размер одинарного кирпича, характеристики, стандарты ГОСТ, цены
Одинарные кирпичи – востребованный и удобный штучный материал, который находит применение не только в строительстве, но и в отделке, а также в работах по благоустройству участков.
Он имеет оптимальную форму для кладки и размеры с идеально подобранной кратностью 1:1/2:1/4.
Оглавление:
- Разновидности и характеристики
- Цена за штуку
- Европейские стандарты
Виды и особенности
У нас принято просто разделять кирпич на «красный» и «белый», то есть керамический и силикатный. Хотя по технологии производства, характеристикам и сфере применения они действительно разнятся, на стандарте размера это никак не отразилось. Кирпич красный одинарный, автоклавный или цементный всегда будет иметь те габариты, что закреплены в нормативных документах. Хотя ГОСТ 530-2012, разработанный для керамики, допускает довольно значительные отклонения линейных параметров в ту или иную сторону:
- Длина 250 +/-4 мм.
- Ширина 120 +/-3 мм.
- Высота 65+/-3 мм.
Размер полуторного кирпича 1,4НФ от эталона отличается лишь по показателю высоты (88 мм). А вот одинарный модульный 1,3НФ, напротив, сохранив толщину, стал длиннее и шире (288х138х65 мм).
Приведенные габариты долгие десятилетия являлись нормой для строительных (рядовых) блоков, отличающихся прочностью на излом и сжатие. Это позволило в полной мере использовать их в несущих конструкциях. Современный кирпич, изготовленный в соответствии с ГОСТ, также обладает высокими техническими характеристиками:
- Механическая прочность – М75-М300, сопровождающаяся хрупкостью.
- Морозостойкость F15-100 и водопоглощение на уровне 8-12% сохраняются, несмотря на достаточно высокую пористость.
- Теплопроводность – 0,5-0,6 Вт/м·К, если это тяжелый полнотелый кирпич.
1. Облицовочный.
Здесь уже значительную роль играет морозостойкость и низкое водопоглощение. Хотя для красного кирпича это больше похоже на простое регулирование влажности, ведь он так же легко вбирает ее, как и выводит наружу. Декоративные блоки тоже обладают высокой прочностью, однако их механические характеристики в облицовочных работах не столь востребованы, а облегчить вес кладки и улучшить ее теплоизоляционные свойства было бы нелишним.
Поэтому полнотелый кирпич здесь уступает место щелевым блокам с пустотностью от 13 до 33%, их теплопроводность снижена практически вдвое – до показателей 0,34-0,43 Вт/м·К.
2. Клинкерный.
Это наиболее дорогой и стойкий к атмосферным воздействиям кирпич высокой плотности. Отличается большим весом, имеет эстетичный внешний вид, может окрашиваться в различные цвета, поэтому используется не только в строительных работах, но и для выкладки садовых дорожек и облицовки фасадов зданий. Чаще клинкерные блоки делают полнотелыми, но встречаются и облегченные изделия. Что касается линейных параметров, то здесь размеры стандартного кирпича могут различаться в тычковой части: кроме установленной ширины в 120 мм, допускается производство более узкого клинкера (90 или даже 60 мм).
3. Гиперпрессованный.
Относительно новый вид кирпича изготавливается методом вибролитья без последующего обжига. Сырьем для него служит уже не глина, а цементно-известковый раствор, который в процессе трамбовки приобретает высокую плотность, точность геометрии и теряет теплоизоляционные характеристики.
Применяется искусственный камень для создания поверхностей, стойких к активному износу.
На него специального отраслевого документа нет, поэтому для стандартизации размеров принято ориентироваться все на тот же ГОСТ 530-2012. Но поскольку гиперпрессованный кирпич относится к декоративным облицовочным блокам, производители позволяют себе экспериментировать с подбором более красивой и удобной геометрии. В результате в строительных магазинах часто можно купить изделия с параметрами 230х65 мм и шириной в пределах 50-107 мм.
4. Печной.
Такой кирпич называется шамотным, поскольку изготавливается из специального сорта огнеупорной глины. Обжиг проходит при более высоких температурах, чем обычные керамические блоки (+1300 °С). Используется для обкладки печных и каминных топок и спокойно переносит длительный контакт с открытым огнем. Обладает хорошими показателями морозостойкости – F50-75 и большой теплопроводностью – 0,7-0,85 Вт/м·К.
Размер кирпича из шамота регламентируется уже другим документом – ГОСТ 8691-73, предусматривающим разделение блоков на серии по форме и показателю высоты.
Для одинарных изделий указаны следующие значения:
- Прямоугольный – 230х114х64(76) мм.
- Плитка – 230х230х64(76) мм.
Цены
| Вид | Марка прочности | Стоимость, руб/шт. |
| Строительный — полнотелый — пустотный | М100 М125 | 7,60 7,08 |
| Облицовочный | М150 | 8,40 |
| Клинкерный | М300 | 68 – 70 |
| Гиперпрессованный | М200 | 23 – 25 |
| Шамотный | М200 | 37 – 42 |
Зарубежные стандарты
Для облицовочного и декоративного кирпича нередко применяется европейский стандарт, где штучный материал выпускается в несколько ином размере – 188х88х63 мм. Одинарные блоки могут иметь и такую геометрию:
- NF – 240х115х71 мм;
- DF – 240х115х52 мм.

У американцев ширина кирпича составляет 78 мм. Все это продиктовано особенностями транспортировки и ведения строительных работ в том или ином уголке мира, но позволяет найти собственные пути экономии. Например, когда нужно снизить нагрузку на фундамент, есть смысл использовать более легкий и компактный «американский» кирпич, даже если его стоимость выше, чем отечественного.
Кирпич красный одинарный с гладкой поверхностью ГОСТ
Кирпич строительный одинарный М-150
гладкий щелевой красный
250х120х65
Воротынский кирпичный завод
| Наименование | |
| Наименование: | Кирпич |
| Назначение: | строительный |
| Состав: | керамический |
| Пустотность: | щелевой |
| Цвет: | красный |
| Поверхность: | гладкий |
| Фаска: | нет |
| Общая информация | |
| Завод: | Воротынский КЗ |
| Геометрические размеры | |
| Вид размера: | одинарный |
| Размер, мм: | 250*120*65 |
| Характеристики | |
| Марка прочности: | М 125,150, 175 |
| Морозостойкость: | F 50 |
| Водопоглощение, %: | 8-12% |
| Теплопроводность: | 0,3 Вт/(моС) |
| Пустотность: | 42% |
| Вес 1 шт, кг: | 2,3 |
| Упаковка, доставка | |
| Упаковка: | полиэтилен |
| Количество в м3, шт: | 512 |
| Количество в м2, шт: | 62 |
| шт на поддоне: | 480 |
| шт в машине: | 8640 |
| поддонов в машине: | 18 |
Описание кирпича
Цена указана без доставки.
Доставка рассчитывается для каждого клиента индивидуальна.
А так же мы предоставляем доставку и выгрузку манипулятором.
Заказать кирпич или получить интересующую Вас информацию,
Вы сможете, позвонив нам по телефонам:
8(926)917-50-62; 8(985)265-15-91
Другой строительный кирпич Воротынского завода:
кирпич М-100
кирпич М-125
белый жемчуг
соломенный
красный
терракотовый
красный с накатом
персиковый
коричневый
кирпичи Воротынский в Москве по низким ценам!
На странице: 30255075100
Сортировка: По умолчаниюНаименование (А -> Я)Наименование (Я -> А)Цена (по возрастанию)Цена (по убыванию)Рейтинг (по убыванию)Рейтинг (по возрастанию)Модель (А -> Я)Модель (Я -> А)
Маркировка кирпича КМ-р 250*120*140/2,1НФ/150/1,2/50/ГОСТ 530-.
.
Характеристики; размер: 250*120*65 мм; прочность: М150, М175, М200; поверхность: глад..
Характеристики; размер: 250*120*65 мм; прочность: М150, М175, М200; поверхность: глад..
Характеристики; размер: 250*120*65 мм; прочность: М150, М175, М200; поверхность: глад..
Характеристики; размер: 250*120*65 мм; прочность: М150, М175, М200; поверхность: глад..
Применяется при строительстве: подвальных помещений, фундаментов, цоколей. Характеристи..
Применяется при строительстве: подвальных помещений, фундаментов, цоколей.
Характеристи..
Применяется при строительстве: подвальных помещений, фундаментов, цоколей. Характеристи..
Применяется при строительстве: подвальных помещений, фундаментов, цоколей. Характеристи..
Применяется при строительстве: подвальных помещений, фундаментов, цоколей. Характеристи..
Применяется при строительстве: подвальных помещений, фундаментов, цоколей. Характеристи..
Маркировка кирпича КР-л-пу 250*120*65/1НФ/175/1,4/100/ГОСТ 530-2012 Размер&..
Маркировка кирпича КР-р-пу 250*120*65/1НФ/150/1,4/100/ГОСТ 530-2012
Размер 250х120х.
.
Маркировка кирпича КР-л-пу 250*120*65/1НФ/150/1,4/75/ГОСТ 530-2012 Размер 250..
Маркировка кирпича КР-л-пу 250*120*65/1НФ/150/1,4/75/ГОСТ 530-2012 Размер 250..
Маркировка кирпича КР-л-пу 250*120*65/1НФ/150/1,4/100/ГОСТ 530-2012 Размер&..
Маркировка кирпича КР-р-пу 250*120*88/1,4НФ/175/1,4/100/ГОСТ 530-2012 ..
Маркировка кирпича КР-р-пу 250*120*88/1,4НФ/150/1,4/100/ГОСТ 530-2012 ..
Маркировка кирпича КР-р-пу 250*120*88/1,4НФ/150/1,4/75/ГОСТ 530-2012
Размер.
.
Маркировка кирпича КР-р-пу 250*120*88/1,4НФ/175/1,4/75/ГОСТ 530-2012 ..
Маркировка кирпича КР-р-пу 250*120*88/1,4НФ/150/1,4/100/ГОСТ 530-2012 ..
Количество кирпичей в поддоне. ГОСТ на Поддоны. Требования и расчеты. Параметры кладки.
Сегодня в строительных магазинах огромное количество материалов, каждый из которых имеет свои свойства. Но сегодня конкуренция всех современных материалов составляет кирпич. Его так часто используют при строительстве домов, кладке стен.
При строительстве частного дома очень часто используется красный цвет. В нем используются различные сорта глины, подвергнутые процессу обжига.В результате можно получить очень прочное изделие. Это будет 3,6 кг, а дупло — 2,5 кг.
Красный отлично противостоит атмосферным осадкам.
Стандартные размеры красного — 250х120х65 мм. Но объем красного кирпича зависит от его вида. Если говорить о единичных натурных, то их нужно 480 штук, а всего по 3,45 кг / шт. Когда нужно купить красный одноразовый пустотелый камень, его кладут 308 штук. Но у разных производителей количество кирпичей свое.
Силикат
Этот вариант также активно используется в строительной сфере.При его изготовлении используют автоклавный метод, а в качестве сырья используют песок с различными добавками. Для такого продукта характерны отличные показатели тепло- и шумоизоляции, а также морозостойкость. Масса изделия натяжного типа 5 кг, полого 4 кг. Всего силикатного камня — 325 штук, а полуторного — 240 кг. Из-за такой разницы в количестве общий вес товаров практически не сравнивается. Ссылку можно посмотреть.
Облицовка
Представленный продукт считается уникальным, так как его используют не только при строительстве домов, но и для придания ему эстетических качеств.
Объемный камень облицовки зависит от ее размера:
Одноразовые и одноразовые
Если вы знаете вес материала и его наиболее важные параметры, вы можете определить количество материала, мешающего работе платформы. Для этого площадь цоколя необходимо разделить на одну площадь под кирпич. После этого умножьте полученное число на NLAGE. Получается необходимый объем:
Если кирпич размер 250120 65
На фото — размер кирпича
Если речь идет о камне размером 250х90х65 мм, то в поддоне его помещают — 360 штук.Малый размер содержит единый представленный размер — 275 штук.
Forthoty
Если использовать для строительства штатный камень, то в глиняный брикет обыкновенного формата им подойдет:
Есть еще габариты евро-формата, которые выполнены с одной равной гранью. Такой поддон вмещает 307 полных закалок. Вы найдете ГОСТ на полнотелый керамический кирпич.
Вес кирпича с поддоном
Представленный рюкзак для перевозки кирпича представлен в виде деревянной решетки, на которую происходит укладка материала.
Его вес составляет 30-40 кг.
А вот на подложку куб выкладываю. Это очень удобно для продавца, который сможет быстро пересчитать проданный товар. Изделие, полученное из глины, может иметь рисунок с пустотами внутри или полностью. Чем больше полостей, тем легче камень. Вес одинарного кирпича с полостями составит 2,7 кг. Масса с такими изделиями составит 1,3 тонны.
Если рассматривать красный цельный одиночный камень, то он помещается на специально созданное покрытие — 200-300 штук.Вес изделия может достигать 3,1 — 4 кг. Его вес составит 1,2 тонны.
Вес красной облицовки зависит от ее габаритов. Как правило, выпускают аналогичное изделие с полым, а по форме разовое и одноразовое. Если покупать разовые, то их количество 325 штук, а разовых — 240 штук. Вес с такой продукцией составит 1,4 тонны.
В поддоне будет помещена огнеупорная шахта СБ-5 массой 3,4 кг в количестве 385 шт. Масса одной упаковки составит 1 шт.3 тонны. Аналогичный вес и для поддона с СБ-24.
На видео рассказывается сколько штук кирпича помещается в поддоне:
Сколько стоит товар
В большинстве случаев цена кирпича назначается продавцом штучно, а не за поддоном.
Таблица 1 — Стоимость различных видов
| Разновидность | Количество поддонов, | Цена, руб. |
| Полая керамическая лицевая — силикатная | 420–480 | 8 600 — 9 300 |
| 308–352 | 5 900 — 7 400 | |
| 400–440 | 4 900 — 5 600 | |
| 334–380 | 5 100 — 5 900 | |
| Керамика штатная обыкновенно-силикатная | 330–400 | 5 120 — 5 800 |
| 240–380 | 3 300 — 4 600 | |
| 224–360 | 3 600 — 5 600 | |
| 400–436 | 3 300 — 3 600 | |
| 280–340 | 3 100 — 3 700 | |
| 200–240 | 3 400 — 4 100 | |
| Рваная (рифленая) | 307–436 | 5 200 — 6 500 |
| Специальный, огнеупорный | 330–360 | 11 200 — 12 200 |
Сколько поддонов помещается в вагон, камаз, длинный
Если нужно загружать кирпич на длительный период, а размер поддонов, скажем, 1130х520, то их количество будет 32.
Если погрузка будет производиться на КАМАЗе, то при европаллетах их количество будет 10-12 штук. При транспортировке материала в вагоне их количество достигает 32-33.
Кирпич — очень популярный строительный материал, который сегодня активно используется в самых разных целях. Но сегодня транспортировка указанного товара происходит на специальных поддонах. Благодаря им можно обеспечить простоту и удобство транспортировки. Кроме того, это облегчает процесс пересчета продавцу, который реализуется при реализации указанного товара.Выбирайте только качественные товары, и тогда ваша постройка прослужит долго.
Кирпич — один из самых популярных строительных материалов на сегодняшний день. Однако далеко не все люди знают его потребительские особенности. Например, количество кирпичей на поддоне, его транспортные габариты и вес.
Поэтому представляем вашему вниманию подробный рассказ обо всех характеристиках данного товара.
Тара характеристика
Транспортная упаковка для кирпича получила название поддон (от фр.
Palette — поддон).В строительной среде используются оба предмета: поддон и поддон.
ГОСТ на поддон
Итак, чтобы определить количество кирпичей в поддоне, нужно знать, с какой упаковкой вы имеете дело. На данную продукцию установлен официальный ГОСТ (номер 18343-73), с которым мы вас обязательно познакомим.
| Класс поддона и его условное обозначение | Максимальный вес лепешки с кирпичом, кг | Размеры в мм | Максимальная масса самого поддона, кг |
| Деревянные на опорах (под) | |||
| Металл на опорах (ПОМ) | |||
| Деревянные на опорах усиленных (я) | |||
| Металл на опорах (ПОМ) | |||
| Деревянная ракушка с крючками (ПКДМ) |
Примечание: предприятия-производители могут применять поддоны большего размера (750х1300 мм) при наличии разрешения транспортных организаций.
При этом в них должны быть специальные подъемные устройства.
Конечно, лучше использовать самый прочный образец, но цена его будет несколько выше.
При этом, как указывается в инструкции, поддоны не должны иметь следующих дефектов:
- Сквозные зазоры на стыках опор.
- Амплитуды диагоналей более 1 см.
- Отклонения элементов настила от плоскостности более 5 мм.
Требования
Качественные образцы должны обладать следующими свойствами:
- Соответствие установленной прочности на сжатие.Его значение колеблется в пределах от 75 до 300. Эта цифра означает максимальный предел прочности.
- Соответствие установленному коэффициенту водопоглощения. Ибо должно быть не менее 8%, не менее 6%.
- Размер должен точно (погрешность не более 0,1 мм) установить уровни. В противном случае велик риск допустить фатальные ошибки при кладке. Поэтому перед покупкой не поленитесь и отмерьте несколько образцов.

- Сумма брака в партии не должна быть больше 4%.В противном случае вы имеете право потребовать внушительную скидку.
- Необходимо полностью соблюдать экологические нормы. Удельная активность радионуклидов должна быть не более 370 BC \ кг.
- Видимых вкраплений извести на поверхности быть не должно. Они указывают на неправильную процедуру изготовления. Кроме того, они со временем начнут впитывать влагу, которая поднимает и измельчает мелкие кусочки.
- Облицовочные образцы не должны иметь сколов, потертостей, пятен и других дефектов, видимых невооруженным глазом.
- Также не может быть нарушений обжига кирпича. Основные симптомы этого дефекта: желтоватый оттенок и глухой звук при ударе. Наличие такого брака неизбежно приведет к ухудшению влаго- и морозостойкости.
Расчеты
Итак, для получения точных данных вам нужен размер поддона, используемого для разделения на одну кирпичную площадь. Полученная цифра будет означать количество кирпичей в одном ряду поддона.
Его нужно будет возвести во вторую ступень (умножить на себя), так как он укладывается в виде правого параллелепипеда (все грани равны).
Пора познакомиться с конкретными цифрами, которые представлены в таблице ниже. Помните, что если вы превысите избранный вес кирпичного поддона, велика вероятность его повреждения при транспортировке. Следовательно, следуют указанные данные.
| Сорт | Кол-во на поддоне, шт. | |||||||||||||||||
| гладкий (ГОСТ 530-95) | ||||||||||||||||||
| Сорт | Кол-во на 1 м2 кладки | |
Со строительным раствором | Без раствора | |
| Простой строительный кирпич | ||
| Накладные расходы | ||
| Двойной | ||
| Силикат | Способы укладки И наконец Надеемся, что статья помогла вам разобраться в особенностях транспортной упаковки. | |
Кирпичные конструкции остаются в лидерах уже несколько десятилетий. Вес кирпичного поддона легче рассчитать, если известен материал — керамический, силикатный, предназначенный для облицовки, залитый и пустой.
Традиционно в кладке используется керамический материал из глины путем обжига. Плюсы у брикетов полны — прочность, надежность, небольшой вес, способность противостоять сильным ветрам, атмосферным осадкам даже в климатических поясах с суровыми погодными условиями.
Вес керамического материала достигает 4 кг, этот показатель можно менять в зависимости от формата кирпича. Если озвучить, сколько весит кирпичная платформа, заполненная внутри, конечно, ее масса превышает показатели пустотелой, равной 2,5 кг. Штатный стройматериал 250х120х65 весит 3,5-3,8 кг. Если мы говорим о двойном материале, масса еще больше.
Для определения общего объема торговли поддоном достаточно знать вес одного брикета.
Поддон вмещает 300-500 единиц фрагментов.
Характеристики красного силикатного кирпича
Так описывают специалисты состав красного силикатного кирпича:
- 92-94% песок;
- остальная часть — примеси.
К достоинствам можно отнести отличные показатели тепло- и звукоизоляции, необычайную прочность и минусовую устойчивость к температурам. Поддон силикатный материал В зависимости от категории:
- если в пустоте фрагмент размером 250 × 120 × 88 равен 3.9 кг;
- при заполнении внутри масса увеличивается до 5 кг;
- 250 × 120 × 65 приравнивается к 3,7 кг, а для пустотелого материала его вес составляет 3,2 кг.
Вес поддона из облицовки, бруса, дымохода или другого брикета напрямую зависит от состава и технологии изготовления. В среднем брикет весит 2,5 кг, но поддоны тоже разные:
- обычная поверхность характеризуется размерами 520 × 1030 мм;
- максимально возможная платформа предполагает значение 770 × 1030 мм.

Обратите внимание на угол наклона кирпича — он может отличаться, материал можно укладывать, принимая угол 45 градусов, или наоборот, следуя гладкой поверхности. Для одного материала 65 мм требуется больше фрагментов, а для полутора 88 мм меньше.
Чаще всего в магазинах покупают марку М75-М150. Что означают цифры в маркировке? Это вероятное количество килограммов, которое способен выдержать материал с учетом 1 квадратного метра.Видите, то есть, чтобы получить количество продуктов, вам нужно использовать формулу: Площадь платформы / Площадь кирпича. И тогда несложно посчитать количество брикетов, помещенных в поддон: количество изделий × количество рядов кладки.
Другой вариант расчета — если строителям нужно посчитать количество кубиков материала в платформе, используйте величину брикетов. Если мы говорим об одном продукте, это 513 брикетов на кубический метр. Для разового использования потребуется 379 шт.
ГОСТ устанавливает правила укладки кирпича на поддоны.
Изделия разрешается укладывать в «елку», «на крик» и «на край», применяя перекрестную подкладку. Вес 1 поддона не должен превышать 850 кг.
Общая масса поддона с кирпичами складывается из двух составляющих — массы кирпичей и тары.
Готовая упаковка с товаром должна быть укреплена металлической лентой соответственно ГОСТ 3560. Возможно использование термоусадочной или растягивающейся пленки по ГОСТ 25951 или 10354.
При хранении продуктов на поддонах они разделяются по маркам и видам, одна из них укладывается бочкообразными штабелями в один ярус. Допускается установка упаковки друг на друга, но не выше двух ярусов.
Производители часто игнорируют эти требования ГОСТа и предлагают товары в упаковках, превышающих допустимый вес в 4 раза. Каждый завод-производитель заставляет чесаться свой продукт, руководствуясь личными соображениями. Укладка кирпичей под углом 45 градусов или укладка их горизонтальными плотными рядами приводит к разнице в весе.
Некоторые производители оставляют место для укладки, чтобы снизить нагрузку на нижние ряды и не деформировать их при транспортировке, что также приводит к несоответствию веса.
Каким будет вес 1 поддона, нужно узнавать у продавца.
Сколько стоит поддон с красным кирпичом
Красный кирпич имеет множество разновидностей. В производстве кирпича есть отступление от некоторых стандартов, потому что глина разная, и это не позволяет придать единый вес всем кирпичам, производимым в России.Все производители сообщают покупателям такие данные, как:
- Масса 1 экз.
- Всего 1 упаковка.
- Вес 1 поддон.
Этого достаточно для того, чтобы потребитель мог самостоятельно рассчитать нужные ему значения.
Общая масса фасованных кирпичных изделий состоит из двух частей. В сумму будет включен и контейнер из дерева высокой плотности.
Поддон для транспортировки имеет вид деревянной решетки, на которую кладется кирпич.
Весит от 30 до 40 кг.
На подложке производители часто куб выкладывают. Удобно для продавца, который быстро рассматривает выпущенный товар. Покупатель с такой кладкой может быстро внести количество купленных стройматериалов.
Изделие из глины с пустотами внутри или заполнено. Чем больше в его теле полостей, тем легче. Итак, одиночка с полостями, занимающая 50% своего тела, весит 2,7 кг. Вес поддона с такими керамическими изделиями составит 1,3 тонны.
Кирпич красный натурный одинарный размещается на специально созданной подложке от 200 до 330 штук. Масса одного изделия колеблется от 3, 1 до 4 кг. Упаковка может быть от 660 кг до 1,2 тонны в чистом виде, без учета тары.
Масса красного облицовочного кирпича зависит от его размера. Обычно он полый, а по форме — разовый или разовый. Однократных предотвращает на подложке 325 штук, а разовых — 240. Из-за этого разница в сумме общей массы почти сравнима.Будет 1,4 тонны.
Огнеупорный шамот марки СБ-5 массой 3,4 кг удерживает на подложке 385 шт.
Один пакет тянет 1,3 тонны. Упаковка с SB-24 тоже будет испорчена.
Шамот марки СБ-8, имеющий размер больше, чем у СБ-5, помещается на поддон в меньших количествах. Всего это будет 297 штук при массе одного 4,2 кг. Они будут весить 1,25 тонны.
Если производитель штампует стандартную продукцию, которая отличается только маркой, прочностью и цветом, то все упаковки будут весить одинаково.Один кирпичный завод предлагает любой кирпич облицовочный керамический, фасованный по 480 штук. Если экземпляр весит 4 кг, то вся упаковка будет 1,92 тонны.
При транспортировке важно знать, сколько весит поддон для кирпича, ведь благодаря этому можно понять, какая машина заказана. В зависимости от того, какие изделия из глины подойдут, меняется масса поддона. Тем не менее ГОСТ устанавливает и правила укладки, и вес одного поддона.
Не должно быть тяжелее 850 кг. Причем блоки следует укладывать стопкой и «по краю» поперечными рядами.ГОСТ 3560 Определяет крепления поддона кирпичными металлическими лентами.
А ГОСТ 25951 или 10354 допускает использование термоусадочной или растягивающейся пленки. Хранить кирпичи, разделяя по маркам и видам, кладя в 1 ярус. Допускается укладка в 2 яруса, но не более.
Тем не менее, стоит учесть тот факт, что не все производители придерживаются стандартов, установленных ГОСТ. Иногда вес кирпичного поддона может превышать норму в 4 раза. Также вес поддона может варьироваться в зависимости от способа укладки.
Вес поддона с глиняными изделиями
Вы можете рассчитать массу одного поддона самостоятельно, зная показатели одного глиняного блока и его количество в одном поддоне. Трудно определить единый вес, потому что производители часто незначительно отклоняются от принятых норм. Это связано с тем, что глина обычно неоднородна. Однако производитель всегда указывает такие данные:
- вес 1 шт .;
- шт. В упаковке;
- сколько весит поддон из красного кирпича.
Последняя позиция рассчитывается вместе с массой упаковки.
Сама деревянная решетка весит 30-40 кг и имеет грузоподъемность 750-900 кг. Часто умещается в 1 м³. Этот метод удобен как для продавца, которому проще производить подсчеты, так и для покупателя, который может быстро определить, сколько он берет за товар.
Изделия из глины бывают полные и пустотелые. Последним называют такой кирпич, в котором есть полости. Соответственно, у каждого вида своя масса. Вес одного экземпляра:
- полноручный:
- одинарный — 3.3-3,6 кг;
- одночасовая — 4-4,3 кг;
- двойной — 6,6-7,2 кг;
- полый:
- одинарный — 2,3-2,5 кг;
- одночасовой — 3-3,3 кг;
- двухместный — 4,6-5 кг.
Штатные изделия из керамики на специальной подложке можно разместить 200-380 шт. Произведя несложные расчеты, мы видим, что вес кирпичного поддона составляет примерно 660-1200 кг. Здесь нужно добавить еще много контейнеров.
Пустых кирпичей поместится 180-450 шт.
Их вес будет 800-1200 кг.
Помимо рабочих, изделия из глины еще облицовочные или лицевые. Разовая масса составляет 1,3-1,6 кг, а разовая — 2,7-3,2 кг. На поддоне можно разместить 350-480 шт., А их общая масса составит 640-1100 кг.
Специфичность силиката
Многих интересует вопрос, сколько силикатных изделий поместится на деревянной основе и каков будет их вес. Как и керамические, силикатные блоки могут быть полными и пустотелыми. По размерам тоже бывают одинарные, одноразовые и двухместные.
Одиночные полноценные весят 3,4 кг, а их можно уложить 936 шт. в упаковке. Соответственно, общая масса составит 3184 кг. Если взять одноразовую пустотелую, то при весе одной кирпичной кладки 4 кг из них уместится 672 шт. Произведя несложные расчеты, получаем примерно 2700 кг.
Поскольку упаковки имеют большой вес, не рекомендуется класть друг к другу более двух рядов. Иначе можно повредить нижние блоки. Перед загрузкой необходимо проверить горизонтальность кузова и при необходимости выровнять.
Для удобства погрузки и разгрузки товаров лучше выбирать машину с открытым типом кузова. Если борт машины низкий, не стоит торговаться поддонами друг с другом. Желая сэкономить на транспорте, можно повредить или рассыпать продукты по дороге.
LEGO Marvel Super Heroes Видеоигры Red Deadpool Brick Guide — The Brick Fan
В видеоигре LEGO Marvel Super Heroes спрятаны красные кирпичи или кирпичи Дэдпула, которые вы можете собрать, чтобы разблокировать различные читы для красных кирпичей из меню.После того, как вы соберете кирпич Дэдпула, отправляйтесь в диспетчерскую в SHIELD Helicarrier и пройдите через коридор в верхнем левом углу комнаты. В следующей области пройдите к первой двери справа, которая является комнатой Дэдпула. Там вы можете купить все читы на собранные вами кирпичи. После того, как вы купили читы, просто активируйте их в меню паузы в разделе Дополнительно. Как только вы купите все красные кирпичи, Дэдпул станет игровым персонажем.
- Красный кирпич 1: гвоздики x2
- Красный кирпич 2: гвоздики x4
- Красный кирпич 3: гвоздики x6
- Красный кирпич 4: гвоздики x8
- Красный кирпич 5: гвоздики x10
- Красный кирпич 6: Маскировка
- Красный кирпич 7: Детектор золотого кирпича
- Red Brick 8: Детектор мини-набора
- Красный кирпич 9: Мини-персонажи
- Красный кирпич 10: собрать гвоздики-призраки
- Красный кирпич 11: быстрая сборка
- Красный кирпич 12: Привлечь шпильки
- Red Brick 13: Детектор жетонов персонажа
- Красный кирпич 14: Праздничные шляпы
- Красный кирпич 15: Дополнительные сердца
Красный кирпич 1: 2 шпильки
Требования: Нет.Уже разлочен.
Где найти: Этот кирпич уже разблокирован, когда вы начинаете игру. Иди в комнату Дэдпула, чтобы купить.
Стоимость: 1,000,000 шпилек
Красный кирпич 2: гвоздики x4
Требования: Завершить режим истории
Где найти: Зайдите в Daily Bugle.
Используйте персонажа Telekinesis, чтобы расставить трофеи в офисе.
Стоимость: 2,000,000 шпилек
Красный кирпич 3: Шпильки x6
Требования: 50 золотых кирпичей
Где найти: Разблокируйте миссию «Feeling Frisky» в Башне Фиск.Используйте персонажей Telekinesis и Gold Heat Beam. Откройте золотую дверь и примените телекинез на картине Кингпина.
Стоимость: 3,000,000 шпилек
Красный кирпич 4: гвоздики x8
Требования: 125 золотых кирпичей
Где найти: Разблокируйте «Reptillian Ruckus» в Repile House в Центральном парке.
Стоимость: 4,000,000 шпилек
Красный кирпич 5: гвоздики x10
Требования: Нет
Где найти: Внутри Башни Старка.Используйте символ телекинеза, чтобы сломать пиньяту
Стоимость: 5,000,000 шпилек
Красный кирпич 6: Маскировка
Требования: Нет.
Уже разлочен.
Где найти: Этот кирпич уже разблокирован, когда вы начинаете игру. Иди в комнату Дэдпула, чтобы купить.
Стоимость: 300000 шпилек
Красный кирпич 7: Детектор золотого кирпича
Требования: Нет
Где найти: Внутри штаб-квартиры Marvel в «Нафф Саид».Завершите изображение Дэдпула в правом заднем углу комнаты
.Стоимость: 200000 шпилек
Красный кирпич 8: Детектор мини-набора
Требования: 75 золотых кирпичей
Где найти: Внутри спортзала Fogwell в «Put Up Your Dukes». Активируйте панель рядом с Капитаном Америкой.
Стоимость: 200000 шпилек
Красный кирпич 9: Мини-персонажи
Требования: 200 золотых кирпичей
Где найти: Разблокировать уровень «Бро-тунхейм».Растопите лед в левой части комнаты. Когда зубы раскроются, хватайте Кирпич Дэдпула.
Стоимость: 100000 шпилек
Красный кирпич 10: собрать гвоздики-призраки
Требования: Нет
Где найти: Разблокируйте «Шоковую выплату» в Федеральном банке.
Используйте теплового луча на золотых кирпичах рядом с грузовиком.
Стоимость: 100000 шпилек
Красный кирпич 11: быстрая сборка
Требования: 150 золотых кирпичей
Где найти: Откройте «Stranger Danger» в Sanctum Santorum.Используйте Sandman, чтобы пройти через стену на верхнем этаже. Используйте персонажа Telekinesis, чтобы открыть ящик и построить елку. Используйте персонажа Web-Slinging, чтобы снять верх.
Стоимость: 100000 шпилек
Красный кирпич 12: Привлечь шпильки
Требования: 100 золотых кирпичей
Где найти: Разблокируйте «Сюрприз Stunt Show» в цирковой палатке в Центральном парке. Используйте персонажа Magnetic Powers, чтобы открыть металлическую клетку.
Стоимость: 600000 шпилек
Red Brick 13: Детектор маркеров персонажа
Требования: Venom
Где найти: Сходите на плот в «The Thrill of the Chess».
Используйте Веном, чтобы пройти через стену с левой стороны.
Стоимость: 800000 шпилек
Красный кирпич 14: Праздничные шляпы
Требования: Нет. Уже разлочен.
Где найти: Этот кирпич уже разблокирован, когда вы начинаете игру. Иди в комнату Дэдпула, чтобы купить.
Стоимость: 100000 шпилек
Красный кирпич 15: Extra Hearts
Требования: Нет. Уже разлочен.
Где найти: Этот кирпич уже разблокирован, когда вы начинаете игру. Иди в комнату Дэдпула, чтобы купить.
Стоимость: 100000 шпилек
Когда вы совершаете покупку или, иногда, выполняете какое-либо другое действие в результате нажатия на ссылку в The Brick Fan, мы получаем небольшую комиссию.
The Brick Fan является участником программы Amazon Services LLC Associates, партнерской рекламной программы, предназначенной для предоставления сайтам средств для получения рекламных сборов за счет рекламы и ссылок на Amazon.
com. Как партнер Amazon я зарабатываю на соответствующих покупках.
Мы сотрудничаем с Rakuten Advertising, которая может собирать личную информацию, когда вы взаимодействуете с нашим сайтом. Сбор и использование этой информации регулируются политикой конфиденциальности, размещенной здесь: https://rakutenadvertising.com/legal-notices/services-privacy-policy/
Red Power Brick Extras — пошаговое руководство и руководство LEGO Dimensions
Red Power Brick Extras
Это список всех Red Power Brick Extras, доступных в игре.В этом списке будет указана цена, уровень, на котором находится кирпич, и то, что он делает. Чтобы узнать, как найти Красные кирпичи, перейдите на страницы в разделе «Исследование миров приключений».
Red Power Brick 1: Награда гномов
Стоимость: 1 000 000
Мир приключений: Мир Властелина колец
Что он делает: умножает все значения шпильки на 2. Стоимость серебра составляет 20, золото 200, синий 2000 и фиолетовый 20 000
Red Power Brick 2: Злодеи маскируются
Стоимость: 500000
Adventure World: Scooby-Doo World
Что он делает: Маскирует всех боссов высокого уровня
Red Power Brick 3: All Hail King Homer
Стоимость: 100000
Приключение Мир: Мир Симпсонов
Что он делает: ваш персонаж превращается в золото и может обнаруживать золотые кирпичи
Красный кирпич силы 4: Путь кирпича
Стоимость: 200000
Мир приключений: Мир Ниндзяго
Что он делает: заставляет вас строить быстрее
Red Power Brick 5: Master of CHI
Стоимость: 500000
Adventure World: Legends of Chima World
Что он делает: с врагов будет выпадать больше CHI
Red Power Brick 6: DC Captions
Стоимость: 500000
Adventure World: DC Com ics World
Что он делает: заголовки в стиле комиксов появятся, когда вы атакуете
Red Power Brick 7: Неисправный привод потока
Стоимость: 500000
Мир приключений: Назад в будущее Мир
Что он делает: Транспортные средства вернутся в Эффекты будущего (электрические эффекты)
Red Power Brick 8: Rare Artefact Detector (R.
AD)
Стоимость: 200000
Мир приключений: Мир LEGO Movie
Что он делает: Обнаруживает мини-наборы
Красный блок питания 9: Детектор расширения апертуры
Стоимость: 200000
Мир приключений: мир Portal 2
Что он делает: обнаруживает квесты
Red Power Brick 10: Pack Hunter
Стоимость: 500000
Adventure World: Jurassic World
Что он делает: добавляет врагам шляпы динозавров
Red Power Brick 11: Sound of the Doctor
Стоимость: 500000
Adventure World: Doctor Who World
Что он делает: заменяет всю музыку тематическими треками Доктора Кто
Red Power Brick 12: Мы едем, чтобы увидеть волшебника
Стоимость: 500000
Adventure World: Wizard of Oz World
What It Does: Wizard of Oz music играет
Красный блок питания 13: видение полной минифигурки
Стоимость: 500000
Мир приключений: Мир охотников за привидениями
Что он делает: превращает пользователя в полупрозрачное привидение
Красный блок питания 14: 8-битная музыка
Cos t: 500,000
Adventure World: Midway Arcade World
Что он делает: проигрывает 8-битную музыкальную дорожку
Red Power Brick 15: Vorton Disco
Стоимость: нет
Adventure World: нет.
Чтобы разблокировать это, вы должны собрать все 480 золотых кирпичей
Что он делает: заставляет Вортона превращаться в массовую рейв-вечеринку
Красный кирпич силы 16: Спасение падения
Стоимость: 100000
Мир приключений: Миссия: невыполнима Мир
Что он делает : Спасает вас, если вы упадете с краев
Red Power Brick 17: I Know a Guy
Стоимость: 100000
Adventure World: The A-Team World
Что он делает: Улучшение предметов на бирках стоит вдвое меньше шипов
Red Power Brick 18: Математический!
Стоимость: 100 000
Мир приключений: Мир времени приключений
Что он делает: дополнительные множители бонуса шпильки во время боевых комбинаций
Красный кирпич силы 19: Шипы Accio!
Стоимость: 100000
Мир приключений: Мир Гарри Поттера
Что он делает: Волшебным образом притягивает к вам близлежащие гвоздики
Красный силовой кирпич 20: Усиленное разрушение
Стоимость: 100000
Мир приключений: Охотники за привидениями 2016 Мир
Что он делает: ловить призраков проще и награждает больше гвоздиками
Red Power Brick 21: Flower Power
Стоимость: 100000
Мир приключений: E.
T. Внеземной мир
Что он делает: цветы прорастают из земли, где вы идете
Red Power Brick 22: Destruction!
Стоимость: 100 000
Мир приключений: Мир Гремлинов
Что он делает: Уничтожает объекты, входя в них
Red Power Brick 23: Wizarding Whiz!
Стоимость: 100 000
Мир приключений: Фантастические твари и их место обитания
Что он делает: магические взаимодействия происходят быстрее и приносят больше шипов
Red Power Brick 24: Ring-A-Ding-Ding!
Стоимость: 100000
Adventure World: Sonic the Hedgehog World
Что он делает: Все гвоздики в игре заменены кольцами
Red Power Brick 25: Всегда Бэтмен
Стоимость: 100000
Adventure World: The LEGO Batman Movie World
What Это работает: играйте за Бэтмена LEGO в любой франшизе, поместив обычную бирку Бэтмена на игрушечный коврик
Red Power Brick 26: K.I.T.T. Моя поездка
Стоимость: 100 000
Мир приключений: Мир рыцаря-наездника
Что он делает: все машины используют тему «Рыцарь-наездник» и разговаривают как K.
I.T.T.
Красный кирпич силы 27: Мастер сундуков
Стоимость: 100000
Мир приключений: LEGO City World
Что он делает: цикл сундуков силы намного медленнее
Красный кирпич силы 28: Сокровище Одноглазого Вилли
Стоимость: 2 000 000
Мир приключений : Goonies World
Что он делает: Все значения шпильки умножаются на 4. Серебро будет стоить 40, золото 400, синий 4000 и фиолетовый 40 000
Red Power Brick 29: Big Head Mode
Стоимость: 100 000
Adventure World: The Powerpuff Girls World
Что он делает: заставляет головы персонажей вечеринок кружиться вокруг
Red Power Brick 30: Скидка на найма героя
Стоимость: 100000
Мир приключений: Teen Titans Go! World
Что он делает: уменьшает стоимость шпильки для Hire-a-Hero
Red Power Brick 31: Tiny Head Mode
Стоимость: 100000
Adventure World: Beetlejuice World
Что он делает: заставляет головы персонажей группы превращаться в крошечные
Водопоглощение керамического кирпича ГОСТ.
Технические характеристики и свойства силикатного кирпича. Размеры и точность геометрических фигур Область применения строительных материалов определяется исходя из их характеристик. Водопоглощение кирпича относится к числу основных. От этого показателя зависит прочность и морозостойкость конструкции в целом, поэтому ее следует учитывать при выборе типа кирпичных блоков для строительства.
Характеристики влаги как эксплуатационная характеристика
Способность материала поглощать и удерживать воду называется водопоглощением.Кирпичные блоки в возводимой конструкции подвержены атмосферным воздействиям, так как имеют постоянный контакт с окружающей средой. Влагу, с которой они соприкасаются, они их впитывают. Важно, чтобы показатель водопоглощения был оптимальным и соответствовал нормам, установленным для каждого вида кирпича. Слишком высокий уровень влагопоглощения способствует ухудшению микроклимата в доме из-за плохого испарения воды. А при минусовой температуре превращается в лед и расширяется, в результате чего в кирпиче образуются трещины, а это приводит к ветхому состоянию, снижается прочность здания.
При слишком низком уровне кирпичные блоки плохо соединяются раствором, что также ухудшает прочность.
От чего это зависит?
Показатель уровня водопоглощения кирпича напрямую зависит от его пористости и наличия в нем пустот. Чем их больше, тем больше влаги впитывает блок. Следовательно, у пустотелого кирпича гигроскопичность будет выше, чем у штатного. Кроме того, способность материала впитывать влагу зависит от его вида.Выделяют три разновидности: силикат
- ;
- керамика;
- бетон.
Материал из бетона Наименее впитывает влагу.
В состав силикатного кирпича входят песок, мелкая известь со вяжущими примесями. Этот вид материала наиболее гигроскопичен. Керамика изготавливается из глины путем обжига при повышенной температуре, достигающей 1000 градусов. Водопоглощение у керамического кирпича также достаточно высокое, кроме того, слоистая структура надолго задерживает влагу внутри, что приводит к разрушению агрегата при снижении температуры воздуха ниже 0 градусов.
Бетон изготавливается из цементного раствора. Таким кирпичным блокам присущ самый низкий показатель водопоглощения, но, к сожалению, это его единственное преимущество перед остальным кирпичом.
Требования к водопоглощающему кирпичу
Существуют определенные пределы оптимального водопоглощения кирпича. Эти нормы устанавливаются в зависимости от его типа, назначения и с учетом дальнейших условий эксплуатации возводимых конструкций. В таблице приведены показатели, обозначающие границы возможного уровня поглощения влаги строительным материалом.
Как определить?
Перед замачиванием кирпич просушивают в печи.
Определяют уровень водопоглощения кирпичным агрегатом, проводя испытания материала по методике, идентичной для всех его типов, за исключением некоторых особенностей для силикатного кирпича. Исследования проводятся на неповрежденных образцах, отобранных из партии в количестве трех штук. Их предварительно просушивают в печи при температуре в пределах 110-120 градусов.
Затем агрегат, охлажденный естественным путем при комнатной температуре не выше 25 градусов, взвешивают и на 2-е сутки опускают в воду.
Начиная строительство, при выборе материала первостепенными критериями являются прочность и долговечность. Кирпич доказал свои высокие технические характеристики на примере многовековых построек, сохранивших свой товарный вид. Водопоглощение — это способность кирпича впитывать влагу, не теряя при этом своих прочностных характеристик. По ГОСТу на лицевые материалы она не должна превышать 12-15%. Убедитесь, что кирпичи Kermax соответствуют требованиям стандартов, проведя простой эксперимент.Для этого мы должны взвесить образец, затем опустить штангу в воду на 48 часов и повторить взвешивание. Разница в весе в процентах — это величина влагопоглощения. Пустоты в корпусе лицевого кирпича Кермакс существенно влияют на технические характеристики. В кладке пустота закрывается, образуя закрытые подушки безопасности, что способствует ускорению диффузионных процессов.
Это можно сравнить с сушкой белья, то есть плотная ткань, как натурные кирпичи, быстро впитывает, но медленно отдает влагу, тонкая ткань, как облицовочный щелевой кирпич, даже если ее сложить в несколько слоев, будет сильно сохнуть Быстрее.От этих процессов напрямую зависит теплопроводность стен. Чем быстрее укладка, тем быстрее она восстанавливает свои первоначальные свойства.
Из истории кирпича:
Производство кирпича — настолько древнее искусство, что никто не осмелится сказать, когда и кто вылепил первый образец. Если изначально гладкие комки одинаковых размеров лепились и сушились на солнце, и такая архитектурная роскошь была привилегией стран с жарким климатом, так как материал разрушался при попадании влаги, то в III тысячелетии до нашей эры люди научились обжигать кирпич, значительно уменьшив его влагопоглощение и повысив прочность.
Способность кирпича впитывать влагу из окружающей среды напрямую связана с морозостойкостью, причем последняя тем больше, чем устойчивее кирпич к перепадам температур.
В нашей климатической зоне, характеризующейся сезонной сменой климата, первостепенное значение имеет низкое влагопоглощение отделочных материалов. При лазании кирпич теряет прочностные свойства, и при плохом совпадении, например, на сильном морозе после долгой оттепели, из-за высокой влажности кладка может просто сломать кирпичную кладку.
Чтобы не попасть в неприятную ситуацию и не пожалеть потраченных времени и средств, стоит выбирать только проверенные материалы от крупного производителя. Облицовочный кирпич Kermax — это гарантия качества. Каждая партия проходит обязательные испытания и подлежит сертификации. Мы твердо уверены как в предлагаемом материале, так и в его характеристиках, так как работаем без посредников и проводим дополнительные независимые выборочные исследования отдельных партий.
Любой строительный материал обладает определенными свойствами, которые делают его пригодным или непригодным для использования в определенной области.Например, кирпич делится на строительный и облицовочный не только по внешнему виду, но и по характеристикам.
Основные из них — прочность, морозостойкость и водопоглощение кирпича.
Конструкции, способные выдержать нагрузку от собственного веса, веса кровли и перекрытий, возводятся из обычного натяжного камня. А облицовка не только украшает, но и утепляет здание. Оба вида обладают разными функциями и по-разному подвержены воздействию окружающей среды, поэтому им требуются разные физические свойства.
Основные понятия и определения
Взаимосвязь основных параметров
Указанные выше характеристики тесно связаны друг с другом и зависят друг от друга. Чтобы понять это, необходимо определить водопоглощение.
Определение. Водопоглощением называют способность материала впитывать воду и удерживать ее. Выражается в процентах от материала материала. Если говорить о кирпиче, то его водопоглощение показывает, сколько воды он может представить при полном погружении.
Понятно, что чем больше в кирпиче пустот (то есть чем выше его пористость), тем больше воды он впитывает.
При этом пористость влияет на прочность материала, его способность выдерживать определенную нагрузку. А также по морозостойкости, показывая, сколько циклов замораживания и оттаивания он способен выдержать без снижения эксплуатационных свойств.
Нормы и требования
Казалось бы, чтобы улучшить эти показатели, достаточно увеличить плотность продукта, чтобы ограничить попадание в него влаги.
Однако этого не происходит по двум причинам:
- Если водопоглощение керамического кирпича будет очень низким, его кладка будет хрупкой, так как не будет обеспечено нормальное соединение с раствором.
- Отсутствие пор снижает теплоизоляционные свойства материала, делает его непригодным для тех условий эксплуатации, которые существуют в нашем холодном климате.
Таким образом, существуют нормы ГОСТа, согласно которым этот показатель должен быть не ниже 6%.Максимальный предел зависит от условий, в которых он будет работать.
- Частный — 12-14%;
- Лицевая — 8-10%;
- Кирпич, применяемый во внутренних рядах кладки и при возведении перегородок, может иметь водопоглощение до 16%.
Такой разброс объясняется тем, что внутренние ряды кладки не испытывают прямого воздействия атмосферных осадков и низких температур, а внешние полностью принимают их на себя.Поэтому водопоглощение лицевого кирпича должно быть максимально низким. А для снижения теплопроводности в нем делают специальные технологические пустоты.
Для справки. Лучшие показатели у клинкерного лицевого кирпича. В нем практически отсутствуют посторонние включения и поры, благодаря чему его влагостойкость, морозостойкость, прочность и долговечность очень высоки. Но цена выше, чем у обычного.
Определение влагопоглощения
Для определения этого показателя используется методика, регламентированная ГОСТ 7025-91 «Кирпич и камень керамический и силикатный.
Методы определения водопоглощения, плотности и контроля морозостойкости. «
Общие технические требования
Исследование проводится в лаборатории с соблюдением следующих требований:
- Температура воздуха в помещении должна быть в пределах 15-25 градусов;
- Испытаниям подвергались изделия целиком или их половинки;
- Образцы должны быть высушены до постоянной массы с заданной погрешностью взвешивания. Сушка осуществляется при температуре 1055 градусов в электрошкафу;
- Силикатные изделия подвергаются испытаниям не ранее, чем через 24 часа после обработки в автоклаве.
Тестирование
Для исследования берется не менее трех образцов из одной партии. Для этого требуется инструкция по определению среднего арифметического значения влагопоглощения.
После высыхания их взвешивают и погружают в емкость с водой с температурой 15-25 градусов, размещая на решетках не менее 2 см. Уровень воды должен быть выше верхнего образца на 2-10 см.
Примечание. Силикатный кирпич перед испытанием не сушат.
Через 48 часов продукт вынимают из воды и сразу же снова взвешивают, включая массу кирпичей и много воды, оставляя на стакан воды.
Результаты обрабатываются путем расчета водопоглощения по следующей формуле:
м1 — масса богатых водных продуктов;
м — масса высушенного продукта.
То есть массу абсорбированной воды к массе самой пробы и выразить полученное значение в процентах.
Пример. Если высушенный кирпич весил 4000 г, а после испытания стал весить 4360 г, то его водопоглощение равно (4360 — 4000) / 4000 * 100 = 9%.
Несмотря на то, что тесты требуют специального оборудования, их можно провести своими руками, но результаты будут очень близки к достоверным. Однако в случае с кирпичами, характеристики которых вам неизвестны, они будут очень информативными.
Заключение
Степень водопоглощения материала — важнейшая характеристика, позволяющая определить сферу его применения.
Например, силикатный кирпич обладает высокой способностью впитывать воду, поэтому его не используют при строительстве фундаментов, цокольных этажей и стен влажных помещений (читайте также статью).В видео, представленном в этой статье, вы найдете дополнительную информацию по этой теме.
Этот строительный материал изготовлен на основе минерального сырья. По своей структуре кирпич является искусственным камнем. Использование этого материала уходит своими корнями в глубокую древность. В Древнем Египте чаще применялся аварийный кирпич-сырец, который изготавливали из глины с добавлением соломы. Современные кирпичи имеют прямоугольную форму и подвергаются серьезной термической обработке. Конструкции из кирпича отличаются прочностью, надежностью, морозостойкостью и хорошо сохраняют тепло в помещении.
В этой статье мы расскажем об основных разновидностях, характеристиках и других моментах, на которые следует обратить внимание при выборе кирпича.
В зависимости от размера кирпич делится на одинарный, одноразовый и двойной
На фото хорошо видна разница размеров одинарного, полуторного и двойного кирпича
- (250x120x65 мм) — Самая распространенная разновидность молдинга — это одинарный прямоугольный брус.
При работе с этим кирпичом каменщику комфортно работать одной рукой. - (250х120х88 мм) кирпичи имеют меньший расход по площади и по количеству раствора — каменщик движется быстрее.
- (250х120х138 мм) — По ГОСТу камень керамический. По высоте он равен двум одноместным. Использование керамического камня позволяет удешевить материалы и увеличить скорость кладки.
может отличаться форматом от. Узкий лицевой кирпич имеет размеры 250х60х65 мм, лицевой кирпич европейского формата имеет размеры 250х85х65 мм.
Три кирпичных поверхности имеют определенные названия.
Для понимания кладки полезно знать названия кирпичных поверхностей
- Кровать — это верхний рабочий блок, на который наносится раствор.
- Часть ложки (ложки) — Это боковая длинная поверхность, одна из которых выходит наружу.
- Насос — это боковая поверхность, которую один кирпич закрывает другим.

Для улучшения сцепления поверхностей (сцепления) с отделочными материалами одна из поверхностей может иметь гофрированное покрытие.
Одним из важнейших параметров при выборе кирпича является его прочность. Кирпич не должен разрушаться под действием внутренних напряжений и деформаций. Прочность зависит от марки продукта. Марка обозначается буквой «М». На цифре указана нагрузка (в килограммах), которую материал выдерживает на 1 квадратный сантиметр (М100, М125, М150, М175 и т. Д.). M100 — M150 подходит для строительства домов в два или три этажа. М200 применяется в многоэтажных домах, М300 — в подвалах многоэтажных домов.
В северных и центральных регионах России климат не отличается мягким. Дожди можно заменить неожиданными морозами. Морозостойкость — характеристика, позволяющая выбрать климатическое свойство кирпича. Марка устойчивости к холоду обозначается буквенным сочетанием «МСЗ» или F. Морозостойкость определяют с помощью лабораторных испытаний.
Кирпич погружают в воду и замораживают, этот цикл повторяется до тех пор, пока материал не начнет разрушаться, менять вес и прочность.После испытаний кирпичам присваивается марка F15, F25, F35 или F50. Число указывает количество циклов. Для северных и центральных регионов России рекомендуется использовать марку не ниже F35.
Параметр водопоглощения связан с морозостойкостью. Под этой характеристикой понимают процентное соотношение воды к общему объему, которое кирпич может поглотить при полном погружении. При понижении температуры влаги он замерзает и расширяется, что приводит к разрушению внутренней структуры материала, поэтому морозостойкость зависит от водопоглощения.Также не допускается полное отсутствие водопоглощения, минимальное значение по ГОСТу 6%. Максимальное влагопоглощение для кирпича — 14%, для — 10%, для кирпича внутренней кладки — 16%.
Теплопроводность — это способность материалов передавать тепловую энергию (теплообмен). Из-за наличия слова «тепло» некоторые относят это свойство материалов только к скорости охлаждения.
В этом случае теплопроводность также влияет на нагрев холодных предметов.Говоря простым языком, если на улице тепло, то в доме с низкой теплопроводностью и материалом с низкой теплопроводностью и продолжится прохлада, а зимой тепло.
Передача тепла осуществляется за счет хаотического движения частиц в веществе — конвекции. В вакууме нет вещества, поэтому конвекция тепловой энергии не передается. При расчете коэффициента теплопроводности различных веществ в 0 принимается вакуумная среда.
Показателем, отражающим способность вещества проводить тепло, является коэффициент теплопроводности (Вт / (м * k)). Коэффициент теплопроводности кирпича зависит от технологии изготовления и материала (от 0,3 до 1). Чем больше воздуха внутри корпуса кирпича, тем дольше он будет удерживать тепло.
Кирпич различается в зависимости от количества воздуха внутри блока
- — Кусковой монолит без полостей, по стандарту пористость не может превышать 13%.Использование натурного кирпича позволяет повысить прочность конструкции, поэтому их используют для кладки цоколя, фундамента и несущих стен.
При этом «холодными» считаются натурные изделия: их теплопроводность составляет 0,5 — 1 Вт / м * с.
Кирпич рядовой одинарный штатный для возведения несущих стен. Ложки имеют гофрированное покрытие для улучшения адгезии
- Имеют полости, которые выполнены в виде отверстий в теле кирпича.Отверстия могут иметь форму щелей (прорези, семерки), квадратов и цилиндров. Пустоты составляют от 45 до 55% от объема брикета. Воздух, запертый в полостях, является теплоизоляционным агентом, благодаря чему пустотелый кирпич имеет низкую теплопроводность (0,3 — 0,9). При этом такой кирпич не используют для возведения капитальных несущих конструкций, пустотелый кирпич не используют для конструкций, где требуются высокие огнеупорные свойства (для печей, брусьев кирпичных решеток и т. Д.).
Кирпич керамический для облицовочных работ, стеклотара изготавливается в виде квадратов
Пустоты влияют на расход раствора при работе.Часть раствора попадает в отверстия.
При правильной кладке этого следует избегать, так как из-за этого нарушается теплоизоляция.
- (Теплая керамика) — Разновидность пустотелого керамического кирпича. В качестве материала используется легкоплавкая глина, в которую добавляются опилки и торф. Думаю, эти включения оставляют в блоке полости. Прочность и морозостойкость пористого кирпича достигают М-200 и Ф-200. Коэффициент теплопроводности составляет 0,1 — 0,261 Вт / м * к.
Некоторые производители формируют подобранный кирпич для системы соединений с чередованием пазов и выступов
Традиционно кирпичный дом представлен в оранжево-красных тонах (цвет кирпича). Такой цвет характерен для керамического кирпича. Оттенки зависят от разных факторов. Регион происхождения глины влияет на регион. Некоторые сорта после обжига приобретают желтоватый или оранжевый цвет. Пигментные добавки также могут изменить цвет.
Изначально он имеет белый цвет, но после внесения определенных добавок его цвет также можно изменить.
При использовании одноминутной кладки облицовочным кирпичом цвет внутренней кладки практически не играет роли. Кладке лица с помощью глазури или обвязки можно придать любой цвет.
Глазурованный кирпич имеет глянцевое цветное покрытие.
Необычный цвет может иметь выпуклый кирпич, а внешне поверхность кирпича заполнена переливами и градиентами. Такой эффект достигается с помощью специальной технологии обжига. По окончании обжига доступ кислорода ограничивается, в результате кислород начинает выделяться из глины, образуя неровный цвет на поверхности материала.
Кирпич делится на виды в зависимости от материала.
- — Самый распространенный и древнейший вид кирпича. Сырьем для него служит красная глина. После формования прямоугольные прутки обжигают в печах. Такие кирпичи можно использовать в самых разных сферах. Изначально материал имеет большее влагопоглощение, поэтому его обрабатывают влагоотталкивающими веществами.
Кирпич керамический имеет характерный красный цвет.
Форма прямоугольного бруса впервые стала массово применяться в Англии XVI века
По прочности керамический кирпич соответствует маркам от М-50 до М-300. Материал может быть любым. Керамический пустотелый кирпич обладает одними из лучших показателей с точки зрения теплоизоляции.
Обжиг — важный технологический процесс производства кирпича. На проверенном кирпиче будут черные пятна. Неадекватно выделен светло-розовым цветом. Оба технологических брака влияют на характеристики материала .
- Состоит из смеси извести и песка.Температурная обработка происходит не в печи, а в автоклаве — нагревательном аппарате, создающем давление выше атмосферного. Массовая доля извести и влаги не превышает 10%. Используется в летнем городском строительстве. Материал будет применяться для внутренних перегородок, так как имеет хорошую звукоизоляцию. Из-за хрупкости не используется для несущих конструкций и цоколя. Силикатный кирпич находится в плохом состоянии, поэтому требует дополнительной теплоизоляции.
Силикатный лицевой кирпич больше подходит для жаркого и сухого климата, керамический — для зон с повышенной влажностью.
Кирпич силикатный для облицовки фасадов евростандарта
- Изготовлен из глины высокой плотности. В материале не должно быть примесей мела и щелочного металла. Материал используется для строительства улиц: мощение дорожек, бордюров, подпорных стен и облицовок. Клинкерный кирпич имеет высокую плотность (до 2100 кг / м. Куб) и низкую пористость (до 5%), соответственно, он практически не впитывает влагу.
Клинкерный кирпич цвета Шоколад подходит для декоративной кладки фасада
- Изготовлен из огнеупорной глины — шамота.Основное свойство — низкая теплопроводность, высокая цикличность и устойчивость к высоким температурам. Он имеет свойство накапливать и медленно отдавать тепло. Огнеупорный материал используется при строительстве печей, дымоходов, мангалов, мангалов и других конструкций, требующих стойкости к высоким температурам.

Уличная печь из шамотного кирпича для приготовления шашлыка
- Гиперседельный кирпич — Кирпич этого типа используют для облицовки, чтобы придать фасаду окончательный вид.При производстве используются различные породы известняка. К таким породам относятся семерка, мраморная крошка и др. Роль вяжущего играет цемент. Формование происходит с применением высокого давления (20 МПа). К недостаткам гиперпрессованного кирпича можно отнести немалый вес, поэтому при строительстве потребуется усиленный монолитный фундамент.
В зависимости от способа применения кирпич также делится на типы
- Применяется для несения внутренних стен и перегородок, возведения фундаментов, фундаментных и наружных стен.В то же время внешний вид кирпича плох для отделочных работ. На поверхности иногда появляются сколы, что допускается стандартами.
Во вставке: из-за неустойчивого внешнего вида наружные стены из рядового кирпича облицованы, а внутренние — разделены.
- — Лицо любой конструкции. Имеет минимальные отклонения в размерах. По нормам облицовочный кирпич не должен содержать сколов. Кирпич для фасадов бывает силикатным, керамическим или гиперпрессованным.В зависимости от климата можно предпочесть один из видов.
Облицовочный пустотелый кирпич имеет текстуру под дерево
Облицовочный кирпич бывает двух видов: плоский и фасонный. Поверхность фактурного кирпича промерзает под камень, дерево или бархат, края иногда скатываются для придания большей декоративности. Кирпич фасонный предназначен для конструкций сложной формы, к фасонному можно отнести угловые, округлые и другие разновидности.
После формования на облицовочный кирпич можно наносить различные покрытия: ангирующую и остекленную.Для пораженного кирпича используется состав жидкой глины (ангоб), стеклянного колотого и минеральных красителей. Глиняную смесь наносят тонким слоем, после чего кирпич обжигают. После обжига материал приобретает матовый ровный цвет.
Глазурованный кирпич имеет глянцевое покрытие. На брикет после обжига наносится слой глазури, цветной эмульсии из битого стекла, затем проводится повторный обжиг при меньшей температуре.
Виды литья прутков могут различаться в зависимости от технологических особенностей.
- Пластиковый багет Предполагает использование пластичных глиняных масс с содержанием воды до 21%. На производстве используются винтовые прессы. Установки различаются в зависимости от наличия воздуха. Для пустотелого кирпича применяется метод вакуумного формования.
- Полусухое Формование основано на использовании высокого давления и доведении сырья до определенного уровня влажности (10 — 14%). Обжиг происходит в специальных туннельных печах.
Чтобы застраховаться от приобретения некачественного товара, рекомендуется приобретать кирпич, изготовленный по ГОСТу.Кирпич, изготовленный одним, может серьезно отличаться по своим свойствам. Без визуальной оценки качества не обойтись.
Осмотрите кирпич. Желательно, чтобы на корпусе не было трещин и сколов (по ГОСТу может быть чуть не более двух углов (до 15 мм), также допускаются патроны (10 мм) в количестве не более два, допускается только одна трещина, и она должна быть не более 300 мм). На лицевом кирпиче не допускаются трещины и сколы. Осматривайте ложки, на них не должно быть известняковых отложений в виде белых пятен или комков.Если на грядке появляются черные пятна — это клетчатый кирпич. Сумма половины (разбитая на половину стержня) должна быть менее 5%.
Геометрия не должна нарушаться. Проверить прочность и колокольчики. При ударе по пустотелому кирпичу должен издаваться звонкий звук, полные звуки более приглушены. Для проверки прочности бросьте кирпич с метровой высоты на твердую поверхность. Кирпич нужно либо сломать, либо расколоть на большие куски, если материал рассыпался в мелкую крошку, то оставим прочность изделия желать лучшего.Перед покупкой рекомендуется осмотреть постройки, возведенные из конкретных видов кирпича.![]()
При покупке кирпича очень важно правильно рассчитать расход. От этого будут зависеть основные затраты на строительство. Расчет производится по площади (1 м.кв) и по объему кладки (1 м.куб). Для правильного подсчета желательно иметь под рукой готовый проект конструкции или эскиз. На количество кирпича влияют перекрытия, высота потолков, наличие фасадов, проемов для окон и дверей, толщина стен, а также толщина шва при кладке.Для начала нужно определиться с толщиной стен.
Визуальный вид различных способов кладки при разной толщине стен
- По Полкирпичу (12 см) — Стена не несущая, а играет роль перегородки для выделения зон внутри дома. Такую кладку можно укрепить арматурой.
- В один кирпич (25 см) — несущая стена внутри помещения.
- В полуторный кирпич (38 см) — Кирпичи уложены в два ряда.Внешний ряд выкладывается вдоль (настраивается друг на друга), а во внутреннем ряду кирпичи соприкасаются с частями ложки.
Кладка разрешена в небольших одноэтажных домах. - Два кирпича и два с половиной (51 см и 64 см) — Используется для несущих стен домов в районах с умеренным климатом. В многоэтажных домах допускается уменьшение толщины стен в зависимости от высоты (первый этаж — 64 см, второй — 51 см).
При расчете расхода кирпича исключают объем и площадь оконных проемов.Рекомендуется брать запас 10%, так как при строительстве часть кирпича может браться.
Все виды кирпича обладают своими достоинствами и недостатками. Для капитальных построек подойдет керамический кирпич в пол, облицовка поможет поставить постройке неповторимый внешний вид. Силикатный кирпич подходит для возведения стен и перегородок. Огнеупорный кирпич будет использоваться при кладке печи или камина.
Строительный двор
Выбери кирпич: Обзор
/ Статьи / Выбираем-Кирпич-Обзор /
архитектурные возможности кирпича
Кирпич — это искусственный камень правильной формы из минеральных материалов, основное назначение которого — использовать в качестве строительного материала для устройства.
С давних времен сложные строения, постройки, сооружения из кирпича выполнялись еще со времен Древнего Египта и Рима. Обожженный кирпич в России начали применять с конца 15 века, о чем свидетельствуют прекрасные стены прошлых веков, других жилых и нежилых исторически ценных зданий и сооружений, которых великое множество во всем мире.
Из кирпича они создавали и до настоящего времени создают настоящие произведения искусства со своим характером и уникальностью.Прекрасным примером в наше время являются уникальные города Европы, культурная столица большинства государств, которые не перестают удивлять творчеством архитекторов.
С развитием строительной сферы, технологии и качества кирпича как строительного материала, оказалось достаточно изменений, свойства высокого качества, надежности и долговечности. Потому что спрос на этот материал всегда высок, и он всегда востребован.
Существует несколько типов кирпичей и классификаций по разным критериям, каждый из которых имеет свои свойства, преимущества и недостатки, каждый из которых мы рассмотрим в этой категории.
Но есть и общие характеристики, присущие кирпичу как изделию, которые мы приводим ниже.
1. Кирпич
2. Оценка прочности
3. Обработка кирпича
4. Морозостойкость кирпича
5. Водопоглощение кирпича
Размер кирпичав странах СНГ определяется как:
— Кирпич стандартный (одинарный) 250х120х65 мм
— кирпич одноразовый 250х120х88 мм
— Кирпич двойной 250x120x138 мм
в странах Европы, их приближение к размеру кирпича:
— Кирпич евро 250х88х65 мм
— одинарный 288x138x65 мм
Кроме того, в зависимости от проекта и архитектурного решения здания кирпич выполняется разных размеров и форм, расцветок.
фасад кирпичного дома
Марка кирпича по прочности:Прочность кирпича — это его способность без разрушения выдерживать механические нагрузки на сжатие, растяжение и изгиб. Это одна из основных характеристик, обозначается буквой M и следующей за ней цифрой: M50, M75, M100, M125, M150, M175, M200, M250, M300, которая определяет, сколько килограммов на 1 см² может выдержать продукт.
Теплопроводность кирпича:Коэффициент теплопроводности кирпича — это соотношение количества теряемой тепловой энергии на 1 метр толщины конструкции при разнице температур в 1 градус между внешней и внутренней поверхностью.
Чем ниже коэффициент, тем выше теплопроводность, в условиях низких температур для строительства жилых домов больше подходит кирпич с низкой теплопроводностью, если одной из задач является поддержание тепла в помещении.
— Кирпич штатный — имеет теплопроводность 0,5-0,6 Вт / м ° С. И отличается довольно высокой теплопроводностью.
— Пустотелый кирпич — имеет коэффициент теплопроводности 0,32-0,39 Вт / м ° С. Поскольку воздух в пустотах имеет более низкую теплопроводность и возможно строительство более тонких стен по сравнению с использованием натурального кирпича.
фасад из красного кирпича
Морозостойкость кирпича:Это параметр продукта, который определяет выдержку материала при попеременном замораживании и оттаивании до появления значительных изменений в структуре материала. Обозначается буквой F и цифрой рядом с ней, которая показывает количество циклов замораживания и оттаивания данного вида кирпича. Например — F15, F25, F35, F50. Чем больше цифра после буквы F, тем устойчивее кирпич к перепадам температур.Рекомендуемая марка морозостойкости не ниже F35. Этот показатель определяется при создании для изделия экстремальных условий, которые возникают крайне редко или совсем не встречаются с кирпичами.
Для определения морозостойкости кирпич полностью пропитывают водой. При замерзании при температуре минус 15-20 ° С часть воды замерзает в порах с образованием льда. В структуре кирпича существует внутреннее давление, связанное с переходом воды из жидкого в твердое состояние с увеличением объема примерно на 9%, что приводит к многократному повторению разрыхления конструкции с последующим ее разрушением.
Чем менее пористая структура кирпичной конструкции, тем более морозостойкий тон, соответственно, наиболее морозостойкий кирпич полон, выдерживает большее количество циклов.
Водопоглощающий кирпич:Водопоглощение кирпича — величина в процентах, показывающая, сколько влаги этот тип кирпича может впитать и удержать. Водопоглощение определяется следующим образом: кирпич выдерживают в печи при температуре 105-110 ° С в течение определенного времени, охлаждают и производят его.Затем его помещают в воду на определенное время и снова взвешивают. Разница между этими двумя весами в процентном соотношении заключается в водопоглощении кирпича.
Существует взаимозависимость таких показателей, как морозостойкость и водопоглощение. Чем выше водопоглощение, тем ниже морозостойкость, так как в структуре кирпича замерзает больше воды и соответственно давление оказывается на изделие изнутри.
Кирпич с водопоглощением более 9% имеет низкую морозостойкость.Рекомендуется водопоглощение 6-12%.
Огнеупорный кирпич: характеристики, размеры, виды. Кирпич шамотный огнеупорный для печи
Конструкция дымовых промышленных труб печей, каминов и других каменных конструкций, работающих при высоких температурах, осуществляется с использованием специальных материалов. Использование в таких конструкциях обычного керамического или силикатного камня недопустимо, так как есть вероятность его разрушения. Специалисты используют огнеупорный кирпич, кладка которого происходит с применением таких же жаростойких растворов.Термостойкость материала достигается за счет обжига и использования специальных компонентов при производстве камня.
Технические условия
Огнеупорный кирпич по своим характеристикам отличается от обычного искусственного керамического или силикатного камня. Белая глина выступает неотъемлемой частью материала, а свойства и виды кирпича зависят от примесей. Однако все они имеют одну категорию — огнеупоры, то есть способность сохранять свои первоначальные характеристики при воздействии высоких температур, превышающих 1580 градусов.
В основном используются в промышленности, поэтому к производству огнеупоров предъявляются высокие требования. Ведь отказ от эксплуатации таких материалов чреват большими потерями не только временными, но и финансовыми. Главное, чтобы они обеспечивали безопасность. Огнеупорный кирпич — огнестойкий материал.
Общие характеристики огнеупорных искусственных камней:
- Низкая теплопроводность — способность сохранять тепло внутри тепловых агрегатов.
- Термостойкость — сохранение прочности кирпича при воздействии температур выше 1580 градусов.
- Термическая инерция — это способность огнеупорного материала медленно охлаждаться и быстро нагреваться.
- Теплоемкость — характеристика, обеспечивающая аккумуляцию тепла кирпичом для дальнейшей отдачи.
- Химическая стойкость к горячим газам, шлакам, металлу.
- Постоянство объема, то есть характеристика огнеупорных камней, не усаживается и не растет в пределах от 0,5% до 1%.
Приложение
Огнеупорный кирпич, характеристики которого отличаются от обычных кладочных материалов, нашел свое применение в строительстве тепловых агрегатов.В металлургической промышленности для плавки чугуна, никеля, меди требуется температура выше 1500 градусов, поэтому печи на таком производстве закладывают исключительно из доломитового, динасового, хромомагнезитового кирпича. Камень динас используется для изготовления свок и футеровки печей, работающих с кислотными веществами. Он расширяется при температуре, но магнезитовый огнеупор дает усадку, поэтому арка, использующая последний, может разрушиться. То есть каждый вид этой категории кирпича имеет разные свойства и области применения.
В неметаллургической промышленности огнеупорный камень используется для кладки оборудования химических производств, коммунальных котельных и коксовых печей; единицы стекольного завода.
Виды
Огнеупорные кирпичи бывают четырех видов. Тип углерода изготавливается из каменноугольной смолы с добавлением порошка кокса / антрацита. Такой материал жаропрочный и шлакостойкий. Обычно используется в доменных печах. Однако для его защиты выкладывается еще один слой изделий из шамота. Камень динас (кварц) изготавливается из кварцевого порошка и известкового молока. Огнеупорность такого материала составляет 1730 градусов, а кирпич применяют для кладки оборудования, контактирующего с кислыми средами.
Магнезитовый, хромитовый, хромомагнезитовый кирпич изготавливается из обожженных минералов. Также существуют изделия из карборунда и графита. Огнеупорность таких пород от 1500 до 2000 градусов.
Глинозем — популярный в промышленности материал — шамотный огнеупорный кирпич. Он состоит из более чем 30% оксида алюминия (глинозема) и обязательного присутствия специальной глины, устойчивой к температурам. Огнеупорность — до 1400 градусов.
Химическая классификация
В зависимости от состава основных компонентов искусственные камни можно разделить на 3 группы: нейтральные, основные и кислые.
К кислой группе каменных материалов относятся динас и кварцевый глиняный кирпич. Они взаимодействуют без ущерба для кислых сред.
Основные огнеупоры из доломита, магнезита и хромомагнезита без проблем контактируют со щелочной средой. Их используют для кладки тепловых агрегатов, требующих в своей работе резкого перепада температур.
Нейтральная группа по химической совместимости включает огнеупорный шамотный кирпич, углерод и графитовый каменный материал. Они устойчивы как к щелочной, так и к кислой среде.
Размеры изделия
Совместить все виды огнеупорного кирпича под одним универсальным размером невозможно. Каждый вид продукции имеет свой ГОСТ, по требованиям которого производятся стройматериалы и определяются его основные параметры. Плюс размеры огнеупорного кирпича зависят от формы, которая не всегда бывает прямоугольной. Это связано со сложной конструкцией теплового агрегата, требующей арок, сводов.
Например, размеры прямоугольных единичных изделий начинаются с 230x65x65 мм и заканчиваются параметрами 345x150x75 мм.Все размеры прямоугольных, клиновидных, подвесных и других огнеупорных изделий можно найти в ГОСТ 8691-73.
Артикул
Чтобы ответить на вопрос о том, как купить огнеупорный кирпич для печи, цена которого напрямую зависит от показателей материала, необходимо знать базовую маркировку изделия. У каждого блока есть легенда. Первая буква указывает на название и вид товара. Так, если в маркировке стоит буква «Ш», то данный огнеупор относится к группе шамотных камней; «Д» — динас, «М» — муллит.
Вторая буква определяет максимальную температуру нанесения материала. Пример для шамотных камней:
- ША, ШАК — 1400 градусов.
- SB — 1350 градусов.
- ШУС, ШВ — 1250 градусов.
- ПБ (полукислый тип) — 1350 градусов.
- ПВ — 1250 градусов.
Размеры огнеупорного кирпича обозначаются номером, перед которым стоят первые две буквы торговой марки продукта. Например, огнеупор ША-5 имеет параметры 230х114х65 мм, а ША-8 — 250х124х65.ШБ-22 характеризует изделие в форме клина (трапеции), размеры такого материала составляют 230х114х65х55 мм. После номера в маркировке следуют буквы, являющиеся аббревиатурой производителя.
Стоимость
Для строительства каминов, барбекю, печей используется огнеупорный кирпич. Цена на материал зависит от марки, размера, конструктивных особенностей и производителя. Для сравнения цен на октябрь 2015 года в Украине и России было выбрано 4 вида популярного шамотного кирпича.При заказе поддона там 350-360 штук кирпича. Цена указана за 1 шт.
- Прямоугольная форма изделия SHA-5 в России оценивается в 39,9 руб.
- Аналогично предыдущему огнеупору, ША-8, немного крупнее, стоит 47,9 руб.
- SHA-22 (концевой клин): цена в России 49 руб.
- ША-45 (концевой клин): стоимость изделия в России 41,2 руб.
Как выбрать огнеупорный кирпич для печи?
При строительстве топочных устройств может использоваться красный кирпич обыкновенного обжига, стандартные размеры которого составляют 250х120х65 мм.У него должны быть четкие края, без сколов, ровные края и прямые углы. В противном случае кладка будет хрупкой. При разрыве кирпич должен иметь однородную структуру, то есть быть внутри без трещин, пустот и прослоек.
Железняк — разновидность обожженного кирпича, может использоваться только для устройства фундамента печи, так как его трудно связать с раствором. Необожженный (алый) искусственный камень, силикатный, перфорированный и пустотелый кирпич не допускается использовать для кладки печей и дымоходов.
Огнеупорный кирпич для печи, цена которого в несколько раз выше, чем красный керамический камень, необходим для футеровки тепловых агрегатов. То есть для создания защитной оболочки используется огнеупор, которым окружена печь. Благодаря этому создаваемый внутри тепловой поток не разрушает основные стенки топки.
Растворы
Огнеупорные кирпичи для печи следует укладывать в конструкцию из однородного раствора, который бы прочно скрепил кладку и своевременно затвердел.Для бытовых печей используют глиняный раствор, который готовят, в зависимости от жирности глины, с добавлением песка в пропорции 1: 1 или 1: 2. Приготовленный раствор считается подходящим, если Свернутый из нее мяч не трескается по контуру при высыхании и не крошится при бросании на пол. Если есть избыток песка, то мяч разваливается, трещины дают наличие большой доли глины в растворе.
При кладке промышленного оборудования огнеупорный кирпич склеивают между собой с помощью растворов — это известковые растворы, предназначенные для связывания огнеупорных изделий.
Для закладки фундамента печей рекомендуется готовить известковые растворы в соотношении 1: 2 — 1: 4. Цементные смеси используются для строительства фундаментов тепловых агрегатов, подверженных воздействию воды, например, грунтовых вод.
Категория кладки
При строительстве, ремонте тепловых агрегатов кладка огнеупорного кирпича происходит согласно следующим требованиям, определяющим его категорию:
- Максимальная толщина швов от 0.От 5 до 1 мм соответствует особо тщательная кладка 1 категории.
- Стыки между кирпичами размером 1-2 мм относятся к 2 разрядам.
- Стандартная (обычная) кладка характеризуется толщиной швов до 3 мм.
- Наличие раствора между кирпичами более 3 мм соответствует простой огнеупорной кладке.
Классы, марки огнеупоров, категория кладки — вся эта информация должна быть прописана в рабочей документации. Если такового нет, то толщина швов для разных элементов конструкции определяется по специальным таблицам.
shanghai dongmeng базальтовая кварцевая щековая дробилка, одобренная ce iso sgs и gmc rheinland tuv сертификация
имеет многолетний опыт проектирования и производства агрегатов производственной линии. мы можем обеспечить высокий производительность, экологичность и разумно совместимое оборудование агрегатной производственной линии для клиентов
Шанхайская гидравлическая щековая дробилка для камня Dongmeng
Шанхайская гидравлическая щековая дробилка для камня Dongmeng Цена на продажу с сертификацией Ce Iso Gost, полная информация о цене на гидравлическую щековую дробилку Shanghai Dongmeng на продажу с сертификацией Ce Iso Gost, щековая дробилка, каменная гидроалическая щековая дробилка , Каменная щековая дробилка Цена от поставщика дробилки или производителя — Shanghai Dongmeng Road Bridge Machinery Co., Ltd.
базальт — результаты поиска, Shanghai Dongmeng Road
Результаты поиска базальта от Shanghai Dongmeng Road Bridge Machinery Co., Ltd. Получите именно то, что вы ищете.
Stone Crusher Supplier Home Dongmeng
2019-10-12 Dongmeng занимается производством всех видов камнедробильных машин, машин для обработки песка, конвейерного и просеивающего оборудования, а также другого оборудования, используемого для дробления, транспортировки и просеивания камня, угля, цемента. , известняк, заполнитель, порода, шлак и т. д.Расположенный в районе Фэнсянь в Шанхае, Дунмэн обладает значительными логистическими преимуществами.
Переносные камнедробилки dongmeng сертифицированы CE ISO
Щековая дробильная установка сертифицирована CE ISO ГОСТ. челюсти серии модульной конструкции shanghai dongmeng. Щековая дробилка для карьеров и руд сертифицирована CE Iso Gost. простая в ремонте щековая дробилка, сертифицированная CE iso gost .. гравий или каменная пыль. Самые ранние дробилки были ручными камнями, китайская фабрика по производству каменных щековых дробилок. высокоэффективные щековые дробилки щековая дробилка для угля…
Шанхайская каменная щековая дробилка с сертификатом CE ISO
Шанхайская малая конусная дробилка из Франции — Шанхайская каменная гидравлическая щековая дробилка DongMeng цена на продажу с сертификацией CE ISO GOST. $ 9,800,00 $ 32,500,00 / Набор. 1 компл. (Мин. Заказ) Цена на дробилку для камня с возможностью горячей замены для добычи полезных ископаемых. $ 999.00 $ 99,999.00 / Набор. 1 компл. (Мин. Заказ) мобильная дробильная станция гусеничного типа для камнедробилки.
Сертификаты CE, ISO, Sgs и Gmc Rheinland Tuv Of
Мобильная щековая дробилка с изомобильной щековой дробилкой, популярная в Малайзии.Производители щековая дробилка с сертификатом соответствия стандартам ISO, SGS и GMC Rheinland Tuv с маркировкой CE ISO. Сертификат портативная щековая дробилка для известняковой ударной дробилки известняка с сертификатом ISO. Роторная дробилка iso 9001 2000 является щековой дробилкой iso Certifie для камня.
shanghai cs конусная дробилка в индии с ce iso
2020-11-9 китайская конусная дробилка, конусная дробилка ce iso китайская ударная дробилка для камня с высоким подъемом для горнодобывающей промышленности, строительства, дороги. шанхай новая конусная дробилка cs a crushers worldcrushers a crushers.размещено 6 июня a является ведущим производителем дробилок в Китае с 65-летним стажем, китайская конусная дробилка — это машина, используемая для дробления щековых дробилок речного камня
с iso ce sgs
ISO ce sgs одобрил высокоэффективную конусную дробилку для карьеров для .5 ce одобренная 3 iso ce дробилка челюсть для продажи каменная машина с ce iso, железная конусная дробилка excel для продажи одобрено ce iso9001 сертификаты сертификация iso одобрила высококачественный маятниковый питатель. Аккумуляторный бампер автомобиль iso 9001 и ce одобренный развлекательный шлифовальный станок ce сертификат
сертифицирован CE iso9001: 2008 gost bv tuv Manufacture
Shanghai Stone Crawler Jaw Crushing Equipment Certified.Tuv хорошие щековые дробилки в китае одобрены CE CE iso gost bv china top no1 crusherjaw dw асфальтовая дробилка каменная дробилка цена сертифицирована ce ce сертификация iso мелкая дробилка новейшая дробильная машина одобрена ce iso gost сертификация дробилка для тонкого измельчения сертифицирована.
цена высококачественной камнедробильной линии в великобритании с ce iso
максимальный диаметр конусной дробилки сколько; высокотехнологичная, широко используемая валковая дробилка для твердых пород; недостатки процесса шаровой мельницы; роковая дробилка удара высокой прибыли, низкая стоимость энергосбережения; виды дробилок щековые дробилки; Щековая дробилка производства Хэнань, Китай; извлекать золото с помощью цианидной мельницы; Мини-шлифовальный станок для золотой руды Германии; Куэ Кен…
Vsi конусная дробилка сертифицирована поставщиком CE Iso9001
CE U ISO стандартная ударная дробилка для камня в целом. 2016 высококачественная б / у каменная пружинная конусная дробилка с сертификатами ce, iso, sgs и gmc rheinland tuv of jaw ce sgs одобрила 2017 новый тип конусной дробилки с высоким содержанием марганцевого цеолита для продажи сертифицирована ce 2017 12 18 тип камнедробилки и сертификация iso9001 2008 ce щековая дробилка ударная дробилка …
каменная конусная дробилка pyb1200 сертифицирована ce iso9001
эффективная конусная дробилка сертифицирована ce iso9001.конусные дробилки, завод Parker предлагает два типа конусных дробилок стандартной скорости для бронзы. CE представляет собой высокопроизводительную, чрезвычайно мобильную установку вторичного дробления, подходящую для шаровой клазификатора цементных мельниц, линии дробления известняка в Гане, щековых дробилок, стоимость дробилок 100 т / ч 150 т / ч 250 т / ч 200 т / ч, малая дробилка для меди на дюйм.
шанхай dm черная каменная дробилка для продажи поставщик ce iso
2020-5-3 агрегатная дробилка для продажи поставщик одобрил комплексную камнедробильную установку ce с портативной дробилкой iso ce iso китай хорошее качество низкая цена мобильные дробилки ce iso цена высокого качества каменной дробилки с ce iso crusher цена в nz для продажи ce iso shanghai dm конусная щековая дробилка с низкой ценой китай сравните ce и iso.Подробнее.
недорогая конусная дробилка для твердого камня с сертификатом CE ISO
Конусная дробилка для камня Skd для продажи в России с маркировкой CE Iso. Недорогая новая гранитная конусная дробилка для продажи с Ce Iso. Шанхайская щековая дробилка мощностью 5 20 т / ч щековая дробилка стандартного типа во вьетнаме мощность щековой дробилки zvchattrick 5 20 т / ч вьетнам сертифицирован производителем дробилок ce isopcl в турции сертифицировано ce iso gost рок строительство щековой дробилки вьетнам t, шанхай Dongmeng Jaw Stone …
Установка для промывки песка с сертификацией Iso Sgs —
Китай Рекомендуемый продукт для промывки песка с маркировкой CE Iso.Машины для промывки песка в основном используются на строительных площадках, на гравийном заводе, на бетонных плотинах, на стройплощадках гидроэлектростанций и т. мойка песка
Vsi конусная дробилка сертифицирована поставщиком CE Iso9001
CE U ISO стандартная каменная ударная дробилка в целом. 2016 высококачественная каменная пружинная конусная дробилка с.Сертификаты ce, iso, sgs и gmc rheinland tuv of jaw ce sgs одобрили 2017 новый тип конусной дробилки с высоким содержанием марганцевого цеолита для продажи сертифицирован ce 2017 12 18 каменная дробилка и iso9001 2008 CE сертификация щековая дробилка ударная дробилка для камня …
каменный конус дробилка с iso — sanacebudovpraha.cz
CE sgs одобрено 2017 новый тип конусной дробилки с высоким содержанием марганцевого цеолита для продажи сертифицирован ce 2017 12 18 каменная дробилка и iso9001 2008 ce сертификация CE, Iso Ce SGS одобрила каменную дробилку с хорошим качеством.
c e сертификаты ГОСТа дробление базальтового гранита css конус …
маховик одобрен ce iso gost — nelback.co.za. Цены на дробильные установки для щековых дробилок сертифицированы CE Iso Cu0026E Сертификаты ГОСТ Дробление базальтового гранита a. ce hs c гранитная конусная дробилка с одобренным iso для продажи / конусная дробилка для мрамора для карьеров с iso, сертифицированная iso пружинная конусная дробилка для карьерных заводов. с iso. малая дробилка, сертифицированная iso bv ce
стандартных параметров огнеупорного изделия марки ША-5, ША-8 и СА-6, габариты клинкерного кирпича ГОСТ
.Содержимое
- Спецификация продукта
- Маркировка и условные обозначения по ГОСТ
- Вес кирпича
- размеры
При создании печей и других объектов, которые в процессе эксплуатации подвергаются сильному нагреву, часто используют кирпич.Однако обычный красный кирпич здесь не подойдет — при высокой температуре он легко может начать плавиться, а при охлаждении, особенно остром, быстро портиться. Поэтому вместо обычных желательно использовать жаропрочные огнеупорные кирпичи.
Спецификация продукта
Огнеупорные изделия относятся к глиноземным огнеупорам. Свое название он получил из-за шамота. Этот вид обожженной глины получают путем обжига до потери пластичности. В его структуру могут быть добавлены оксид алюминия и цирконий, которые придают материалу дополнительную прочность.У всех огнеупорный кирпич очень плотный — от 1,9 до 2,1 г / см3.
Кирпич шамотный не крошится под воздействием высоких и низких температур, не реагирует на перепады температур, а также на перепады влажности.
Спокойно его можно использовать, в том числе в местах соприкосновения кирпича с чугунными плитами, металлическими дверьми и другими подобными элементами. Незаменим при строительстве печей, каминов и саун.
Маркировка и условные обозначения по ГОСТ
шамотный кирпич широко используется в строительстве не одно десятилетие.Поэтому при первой возможности в СССР появился эталон качества огнеупорного материала. Он регламентирован ГОСТ 8691-73, в котором прописаны виды огнеупорного кирпича, вес, плотность и размер, а также ряд других связанных с ним гостей.
Основные виды, которые чаще всего используются в строительстве, имеют следующие номера деталей: SHA-5, SHA-6 и SA-8. По этим буквам и цифрам легко узнать о свойствах той или иной марки.
Шесть всех основных категорий шамота. Каждый из них имеет свой буквенный код — Ша, СБ, Шак, ШЛ, IIIБ или ШУС. Буква «W» указывает на то, что изделие относится к классу огнеупорных шамотных кирпичей.
«А» и «В» — классы огнестойкости. Кирпичи с буквой «А» в коде выдерживают температуру до + 1750 ° С, а класса «В» — до 1400 ° С. В этих марках высокая термостойкость обеспечивается высоким содержанием глинозема. К тому же они легко переносят повышенную влажность.
Буква «L» в маркировке говорит о том, что кирпич относится к легким.
Но числовую номенклатуру лучше проверить, так как категорий в ней очень много. Они отражают форму, вес и размер, с которыми легко согласиться с гостями.
При выборе стройматериала следует обращать внимание на другие марки. Прежде всего, проверьте ссылки на ГОСТ. Сейчас заводы часто выпускают продукцию, руководствуясь не этим, а собственными спецификациями, но в этом случае они должны просить об этом.
На кирпичах, изготовленных по техническим условиям (ТУ) и букве «W» нет лишних букв, обозначающих класс.
Иногда встречаются и другие буквы — чаще всего именная маркировка растения. Например, БГ — Богдановский завод, С.Л. — Сухоложский огнеупорный завод.
Вес кирпича
Одна из самых простых и популярных марок шамотного огнеупорного кирпича — это СБ-6. Удельный вес одного предмета в этой категории всего 2,7 кг. У SHA-кирпичей 5 и SB-5 масса 3,4 кг, а у SHA-8 и SB-8 — 4 кг.
размеры
Размеры огнеупорного кирпича должны соответствовать каждой марке.Крайне нежелательны большие неточности, так как они могут затруднить использование изделия и спровоцировать искривление кладки. Незначительные дефекты поверхности заполнителя кирпича могут быть гладкими, однако для изделий, которые планируется сильно нагреть, толщина шва должна быть как можно меньше. Идеальный вариант — 1-2 мм.
Шамот основных марок имеет следующие размеры: длина, ширина и высота (толщина) соответственно:
- SHA-5: 230х214х65 мм
- ША-6: 230х214х50 мм
- ША-8: 250х224х65 мм
- СБ-5: 230х214х65 мм
- СБ-8: 250х224х65 мм
- SL-8: 230х214х65 мм.
Как видите, различия между размерами очень малы, поэтому лучше всего уточнить у них, когда забираете кирпичи для своих печей или другой конструкции. В этом случае между SHA-6 и SA-8, например, разница только в размере, по остальным качествам они абсолютно идентичны. Но эти отличия помогают выбрать оптимальную толщину кладки.
Самая крупная марка SHA-8 и SB-8 чаще всего используется в строительстве, когда работы необходимо выполнить как можно быстрее.А также размер этих кирпичей помогает сохранить наполнитель по сравнению с другими вариантами. А в стенах будет меньше проемов между кирпичами, что повысит термостойкость окончательной конструкции.
Отдельная категория — кирпич шамотный клиновой. Они отличаются от стандартных тем, что некоторые стороны выполнены не перпендикулярно друг другу, а со скосом. Эти кирпичи используются там, где это необходимо, для создания полукруглой конструкции. Например, их часто используют при строительстве арок камина.
Клинья состоят из торца и ребра. Самые просматриваемые — IRA-22, IRA-23, IRA-24, IRA-44, IRA-45 и SA-46. За основу для них взяты стандартные кирпичи, поэтому размеры основной плоскости соответствующих основных сортов, но добавлены дополнительные размеры для фаски.


Вот на эти показатели и следует ориентироваться при покупке
кирпича. Продавцы/реализаторы могут красиво отрекламировать свой товар,
но только маркировка является отображением действительных характеристик
кирпича.
При этом в них должны быть специальные подъемные устройства.
А в видео, представленном в этой статье, вы найдете дополнительную информацию по этой теме.
При работе с этим кирпичом каменщику комфортно работать одной рукой.
При этом «холодными» считаются натурные изделия: их теплопроводность составляет 0,5 — 1 Вт / м * с.
Силикатный лицевой кирпич больше подходит для жаркого и сухого климата, керамический — для зон с повышенной влажностью.
Кладка разрешена в небольших одноэтажных домах.